TOP
|
特許
|
意匠
|
商標
特許ウォッチ
Twitter
他の特許を見る
10個以上の画像は省略されています。
公開番号
2025158815
公報種別
公開特許公報(A)
公開日
2025-10-17
出願番号
2024061709
出願日
2024-04-05
発明の名称
遠隔設備管理システム
出願人
星和電機株式会社
代理人
弁理士法人あーく事務所
主分類
H02J
13/00 20060101AFI20251009BHJP(電力の発電,変換,配電)
要約
【課題】回路遮断装置のトリップの発生原因を遠隔で判別し、その発生原因に応じた対策の構築のために供する情報を取得できる遠隔設備管理システムを提供する。
【解決手段】電光掲示設備2の回路遮断ユニット2Bに備えられた回路遮断装置25がトリップした場合、当該トリップの発生原因を判別し、当該トリップの発生原因の情報をIPネットワーク網Nを介して管理装置4に提供する。これにより、システム管理者はトリップの発生原因を認識することができ、トリップの発生原因に応じた適切な対策を講じることにより、回路遮断装置25のトリップが繰り返されてしまうことを効果的に抑制することができる。また、設備保守作業者が現地まで出向いてトリップの発生原因の判別を行うといった必要はなくなるため、設備保守作業者の負担の軽減およびトリップが発生してから当該トリップの発生原因を判別するまでに要する時間の短縮化を図ることができる。
【選択図】図1
特許請求の範囲
【請求項1】
電気系統の電源線に回路遮断装置が介在された設備を遠隔で管理する遠隔設備管理システムであって、
前記回路遮断装置を有する回路遮断ユニットと、
システム管理者が操作可能な管理装置と、
少なくとも前記回路遮断ユニットと前記管理装置との間での通信を可能にするIPネットワーク網と、
前記回路遮断装置がトリップした場合、当該トリップの発生原因を判別するトリップ原因判別部とを備え、
前記判別されたトリップの発生原因の情報が前記IPネットワーク網を介して前記管理装置に提供される構成となっていることを特徴とする遠隔設備管理システム。
続きを表示(約 1,800 文字)
【請求項2】
請求項1記載の遠隔設備管理システムにおいて、
前記トリップ原因判別部は、前記回路遮断装置がトリップした場合、当該トリップの発生時における前記電源線の電圧値に応じて、前記設備の内的要因によるトリップであるのか、前記設備の外的要因によるトリップであるのかを判別することを特徴とする遠隔設備管理システム。
【請求項3】
請求項1または2記載の遠隔設備管理システムにおいて、
前記回路遮断ユニットは、時刻情報を記憶しており、当該時刻情報を修正するために、前記IPネットワーク網を介して前記管理装置から時刻情報を取得する構成とされていることを特徴とする遠隔設備管理システム。
【請求項4】
請求項1または2記載の遠隔設備管理システムにおいて、
前記設備は、前記IPネットワーク網による前記管理装置との間での通信を行うための通信装置が、前記回路遮断装置に接続されている電源線における当該回路遮断装置の2次側に配設されており、
前記管理装置から前記回路遮断ユニットに向けて、前記回路遮断装置をリセットするためのリセット要求信号が送信される際、前記管理装置から前記システム管理者に向けて、前記IPネットワーク網による通信が一時的に遮断される旨の情報が提供される構成とされていることを特徴とする遠隔設備管理システム。
【請求項5】
請求項1または2記載の遠隔設備管理システムにおいて、
前記設備は、前記IPネットワーク網による前記管理装置との間での通信を行うための通信装置が、前記回路遮断装置に接続されている電源線における当該回路遮断装置の1次側に配設されており、
前記回路遮断装置がOFFとなっている状況で、前記管理装置から前記回路遮断ユニットに向けて、前記回路遮断装置をONするためのON要求信号が送信される際、前記回路遮断装置をONすることなく、前記管理装置から前記システム管理者に向けて、前記回路遮断装置がONとなる旨の注意喚起情報が提供される構成とされていることを特徴とする遠隔設備管理システム。
【請求項6】
請求項1または2記載の遠隔設備管理システムにおいて、
前記設備は、前記IPネットワーク網による前記管理装置との間での通信を行うための通信装置を備えており、
前記通信装置が、前記回路遮断装置に接続されている電源線における当該回路遮断装置の1次側に配設されている場合と2次側に配設されている場合とで、前記管理装置から前記回路遮断ユニットに向けて前記回路遮断装置のON/OFFを切り替えるための要求信号が送信される際に前記管理装置から前記システム管理者に向けて提供する情報を異ならせる構成とされていることを特徴とする遠隔設備管理システム。
【請求項7】
請求項6記載の遠隔設備管理システムにおいて、
前記通信装置が、前記回路遮断装置に接続されている電源線における当該回路遮断装置の2次側に配設されている場合、前記回路遮断装置がONとなっている状況で、前記管理装置から前記回路遮断ユニットに向けて、前記回路遮断装置をOFFするためのOFF要求信号が送信される際、前記管理装置から前記システム管理者に向けて、前記回路遮断装置を前記設備の設置現場においてONする必要がある旨の注意喚起情報が提供される構成とされていることを特徴とする遠隔設備管理システム。
【請求項8】
請求項1または2記載の遠隔設備管理システムにおいて、
前記回路遮断ユニットは、前記回路遮断装置の状態が変化する度にその状態変化情報を生成して記憶手段に発生時刻と共に蓄積していくと共に、前記管理装置からの要求に応えて前記状態変化情報を前記IPネットワーク網を介して前記管理装置に提供する構成とされていることを特徴とする遠隔設備管理システム。
【請求項9】
請求項1または2記載の遠隔設備管理システムにおいて、
前記管理装置は、表示画面を備えると共に、接続先のURLの切り替えにより、システム初期設定を行うための画面と、通常運用を行うための画面とが切り替えられる構成とされていることを特徴とする遠隔設備管理システム。
発明の詳細な説明
【技術分野】
【0001】
本発明は遠隔設備管理システムに係る。特に、本発明は、遠隔設備管理システムの維持管理性の向上を図るための対策に関する。
続きを表示(約 2,200 文字)
【背景技術】
【0002】
特許文献1や特許文献2に開示されているように、高速道路等に設置される道路設備としては、車両の運転者に対して道路情報等を提供する電光掲示設備や道路状況を撮影する監視カメラ設備等といった種々の設備が存在している。
【0003】
一般に、道路設備に使用されている電源回路は例えば1A以上の比較的大きな電流が流れることから、当該電源回路に適用される回路遮断装置としては、配線用遮断器(MCCBやELCB等)や、電磁接触器(MG)が用いられている。そして、例えば電源回路に過電流等が発生した場合には、回路遮断装置がトリップ(電源トリップ)し、電気系統の各機器を過電流や漏電電流などの事故電流から保護するようになっている。
【先行技術文献】
【特許文献】
【0004】
特開2016-126538号公報
特開2019-144980号公報
【発明の概要】
【発明が解決しようとする課題】
【0005】
ところで、回路遮断装置のトリップの発生状況としては種々のものが挙げられる。例えば、過電流や漏電電流によるトリップ(以下、道路設備の内的要因によるトリップという場合もある)や、落雷に起因する誘導雷の影響を受けた誤動作によるトリップ(以下、道路設備の外的要因によるトリップという場合もある)が挙げられる。
【0006】
これまで、道路設備を管理するためのシステム(道路設備管理システム)としては、回路遮断装置のトリップの発生原因を判別することは行われておらず、回路遮断装置にトリップが発生した場合、設備保守作業者が現地(道路設備の設置場所)に出向いて回路遮断装置のON操作(復帰操作)を行ったり、自動リセットを行ったりする対応しかなされてきていなかった。このため、トリップの発生原因に応じた適切な対策を講じることが難しく、この対策が不適切であった場合(トリップの発生原因が前記内的要因であるにも拘わらず前記外的要因によるトリップに対する対策を講じた場合や、トリップの発生原因が前記外的要因であるにも拘わらず前記内的要因によるトリップに対する対策を講じた場合)には、回路遮断装置のトリップが繰り返されてしまう可能性があった。
【0007】
本発明の発明者らは、回路遮断装置のトリップが繰り返されてしまう状況を回避するためには、トリップの発生原因を判別し、その発生原因に応じた適切な対策を立て易くする必要がある点に着目した。また、トリップの発生原因を判別するために現地まで出向くといったことは、設備保守作業者の負担が大きく、且つトリップが発生してから当該トリップの発生原因が判別できるまでに長い時間を要してしまうことから、本発明の発明者らは、回路遮断装置のトリップの発生原因を遠隔で判別できる(設備保守作業者が現地まで出向くことなく判別できる)ようにすることについても考察を行い、本発明に至った。尚、このような課題は、道路設備の管理システムに限らず、鉄道設備の管理システム等といった種々の遠隔設備管理システムに対しても同様に生じている。
【0008】
本発明は、かかる点に鑑みてなされたものであり、その目的とするところは、回路遮断装置のトリップの発生原因を遠隔で判別し、その発生原因に応じた対策の構築のために供する情報を取得できる遠隔設備管理システムを提供することにある。
【課題を解決するための手段】
【0009】
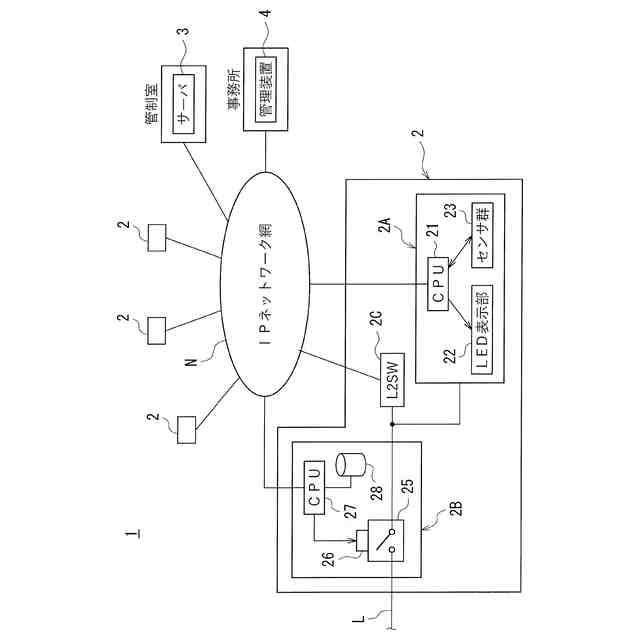
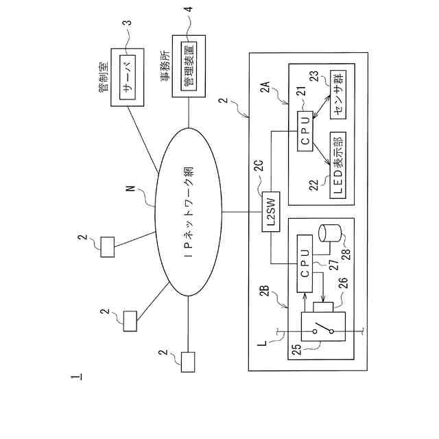
前記の目的を達成するための本発明の解決手段は、電気系統の電源線に回路遮断装置が介在された設備を遠隔で管理する遠隔設備管理システムを対象とする。そして、この遠隔設備管理システムは、前記回路遮断装置を有する回路遮断ユニットと、システム管理者が操作可能な管理装置と、少なくとも前記回路遮断ユニットと前記管理装置との間での通信を可能にするIPネットワーク網と、前記回路遮断装置がトリップした場合、当該トリップの発生原因を判別するトリップ原因判別部とを備え、前記判別されたトリップの発生原因の情報が前記IPネットワーク網を介して前記管理装置に提供される構成となっていることを特徴とする。
【0010】
この特定事項により、回路遮断装置がトリップした場合、そのトリップの発生原因がトリップ原因判別部によって判別される。そして、このトリップの発生原因の情報はIPネットワーク網を介して管理装置に提供される。これにより、システム管理者はトリップの発生原因を認識することができ、トリップの発生原因に応じた適切な対策を講じることにより(不必要な対策を講じてしまうことなく)、回路遮断装置のトリップが繰り返されてしまうことを効果的に抑制することができる。また、トリップの発生原因の情報が管理装置に提供されることから、設備保守作業者が現地まで出向いてトリップの発生原因の判別を行うといった必要はなくなる。このため、設備保守作業者の負担の軽減、および、トリップが発生してから当該トリップの発生原因を判別するまでに要する時間の短縮化を図ることができる。以上のことから、回路遮断装置にトリップが発生してから短期間のうちに適切で且つ計画的な対策を講じることが可能となる。
(【0011】以降は省略されています)
この特許をJ-PlatPat(特許庁公式サイト)で参照する
関連特許
星和電機株式会社
難燃性断熱材
28日前
個人
高圧電気機器の開閉器
7日前
個人
電気を重力で発電装置
20日前
キヤノン電子株式会社
モータ
27日前
キヤノン電子株式会社
モータ
19日前
コーセル株式会社
電源装置
28日前
日星電気株式会社
ケーブル組立体
1か月前
トヨタ自動車株式会社
モータ
19日前
株式会社アイドゥス企画
減反モータ
7日前
株式会社デンソー
回転機
1か月前
株式会社デンソー
端子台
今日
個人
二次電池繰返パルス放電器用印刷基板
1か月前
株式会社デンソー
電力変換装置
1か月前
株式会社デンソー
電力変換装置
1か月前
株式会社ミツバ
回転電機
1か月前
トヨタ自動車株式会社
固定子の加熱装置
1か月前
株式会社デンソー
非接触受電装置
1か月前
矢崎総業株式会社
電源回路
6日前
株式会社ダイヘン
インバータ装置
1か月前
山洋電気株式会社
モータ
1か月前
個人
非対称鏡像力を有する4層PWB電荷搬送体
14日前
日産自動車株式会社
ロータシャフト
14日前
日産自動車株式会社
ロータシャフト
14日前
トヨタ自動車株式会社
ステータの製造装置
20日前
ローム株式会社
モータドライバ回路
14日前
株式会社アイシン
電力変換装置
19日前
トヨタ自動車株式会社
可変界磁ロータ
22日前
株式会社明治ゴム化成
ワイヤレス給電用部品
29日前
トヨタ紡織株式会社
ロータの製造装置
28日前
株式会社マキタ
電動作業機
27日前
京商株式会社
模型用非接触電力供給システム
7日前
個人
電線盗難防止方法及び電線盗難防止装置
27日前
株式会社TMEIC
電力変換装置
1か月前
ルネサスエレクトロニクス株式会社
半導体装置
19日前
本田技研工業株式会社
回転電機用ロータ
7日前
ニデック株式会社
回転電機
19日前
続きを見る
他の特許を見る