TOP
|
特許
|
意匠
|
商標
特許ウォッチ
Twitter
他の特許を見る
10個以上の画像は省略されています。
公開番号
2025158362
公報種別
公開特許公報(A)
公開日
2025-10-17
出願番号
2024060842
出願日
2024-04-04
発明の名称
車両用表示制御装置、車両用表示制御システム、車両用表示制御方法、及び車両用表示制御プログラム
出願人
株式会社デンソー
代理人
弁理士法人サトー
主分類
B60K
35/29 20240101AFI20251009BHJP(車両一般)
要約
【課題】カメラ映像を表示するシーンにおいて、カメラ映像とその他の表示とを乗員に対し適切に表示できるようにした車両用表示制御装置、車両用表示制御システム、車両用表示方法、及び車両用表示プログラムを提供する。
【解決手段】表示系ECU5xの制御部11は、PtoPディスプレイ2を構成する複数のディスプレイ2a~2cの表示領域を連携してカメラ映像を表示可能にしている。制御部11は、自動運転レベル、車両内、又は車両外の状況に応じて、カメラ映像の表示領域をディスプレイ2a~2cのうち少なくとも二つ以上に連携表示するか単一のセンタインフォメーションディスプレイ2bに表示するか設定してカメラ映像を表示制御する。
【選択図】図3A
特許請求の範囲
【請求項1】
複数の表示装置(2、2a~2e)の表示領域を連携してカメラ映像を表示可能にする車両用表示制御装置(5x、10)であって、
自動運転レベル、車両内、又は車両外の状況に応じて、前記カメラ映像の表示領域を前記複数の表示装置のうち少なくとも二つ以上に連携表示するか単一の前記表示装置に表示するか設定して前記カメラ映像を表示制御する表示制御部(11)、を備える車両用表示制御装置。
続きを表示(約 1,100 文字)
【請求項2】
助手席用表示装置(2c、2e)を使用しているか否かを判定する使用判定部(11d)を備え、
前記表示制御部は、前記使用判定部の判定結果に応じて前記連携表示するか前記単一のディスプレイに表示するか設定して前記カメラ映像を表示制御する請求項1記載の車両用表示制御装置。
【請求項3】
前記自動運転レベルが自動運転か手動運転か判定する自動運転レベル判定部(11c)を備え、
前記表示制御部は、前記自動運転レベル判定部の判定結果に応じて前記連携表示するか前記単一のディスプレイに表示するか設定して前記カメラ映像を表示制御する請求項1記載の車両用表示制御装置。
【請求項4】
歩行者、他車両、又は異物が周辺に存在するか否かを判定する周辺判定部(11e)を備え、
前記表示制御部は、前記周辺判定部の判定結果に応じて前記連携表示するか前記単一のディスプレイに表示するか設定して前記カメラ映像を表示制御する請求項1記載の車両用表示制御装置。
【請求項5】
タイヤを表示するか否かを判定するタイヤ表示判定部(11f)を備え、
前記表示制御部は、前記タイヤ表示判定部の判定結果に応じて前記連携表示するか前記単一のディスプレイに表示するか設定して前記カメラ映像を表示制御する請求項1記載の車両用表示制御装置。
【請求項6】
複数の表示装置(2a~2e)と、
自動運転レベル、車両内、又は車両外の状況に応じて、カメラ映像の表示領域を前記複数の表示装置の表示領域に連携表示するか単一の前記表示装置に表示するか設定して前記カメラ映像を表示制御する表示制御部(11)を備え、前記複数の表示装置の表示領域を連携して前記カメラ映像を表示制御する表示制御装置(5x、10)と、を備える車両用表示制御システム。
【請求項7】
表示制御部(11)が、自動運転レベル、車両内、又は車両外の状況に応じて、複数の表示装置(2a~2e)の表示領域にカメラ映像を連携表示するか単一の前記表示装置に表示するか設定して前記カメラ映像を表示制御可能な構成であるとき、
前記表示制御部は、前記連携表示の設定を行ったときには前記複数の表示装置を連携して前記カメラ映像を表示制御する車両用表示制御方法。
【請求項8】
自動運転レベル、車両内、又は車両外の状況に応じて、カメラ映像の表示領域を複数の表示装置に連携表示するか単一の表示装置に表示するか設定して前記カメラ映像を表示制御部(11)により表示制御可能な構成であるとき、
前記表示制御部に、前記連携表示の設定を行ったときには前記複数の表示装置を連携して前記カメラ映像を表示制御する手順を実行させる車両用表示制御プログラム。
発明の詳細な説明
【技術分野】
【0001】
本開示は、車両用表示制御装置、車両用表示制御システム、車両用表示制御方法、及び車両用表示制御プログラムに関する。
続きを表示(約 2,500 文字)
【背景技術】
【0002】
従来、特許文献1に示す運転支援装置が提供されている。特許文献1記載の運転支援装置によれば、路面認識部にて交差路の路面が認識されたと判断すると、画像切替部が、車両の走行案内を表示する表示装置の表示画像をカメラにより撮像された交差路の画像に切り替えるようにしている。
【先行技術文献】
【特許文献】
【0003】
特開2020-112927号公報
【発明の概要】
【発明が解決しようとする課題】
【0004】
背景技術欄に示したように、車両周辺の状況に応じて表示装置の表示画像をカメラ映像に切替えるシーンでは、表示装置に表示可能な表示したいコンテンツがカメラ映像以外にもある場合、状況に合わせてカメラ映像の表示態様を変化させる必要があるが、この点で検討の余地があった。
【0005】
本開示は、上記事情に鑑みてなされたもので、その目的は、カメラ映像を表示するシーンにおいて、カメラ映像とその他の表示とを乗員に対し適切に表示できるようにした車両用表示制御装置、車両用表示制御システム、車両用表示制御方法、及び車両用表示制御プログラムを提供することにある。
【課題を解決するための手段】
【0006】
請求項1記載の発明によれば、車両用表示制御装置は複数の表示装置の表示領域を連携してカメラ映像を表示可能にしている。表示制御部は、自動運転レベル、車両内、又は車両外の状況に応じて、カメラ映像の表示領域を前記複数の表示装置のうち少なくとも二つ以上に連携表示するか単一の表示装置に表示するか設定してカメラ映像を表示制御する。表示制御部は、カメラ映像を表示装置に表示制御するとき、状況に応じて複数ディスプレイで連携してカメラ映像を表示するか単一ディスプレイでカメラ映像を表示するかを変化させることができる。これにより、カメラ映像を表示する様々なシーンにおいて、カメラ映像とその他の表示とを乗員に対し適切に表示できる。
【図面の簡単な説明】
【0007】
第1実施形態におけるコックピットシステムの外観構成図
第1実施形態におけるPtoPディスプレイの構成及び制御イメージを示す図
第1実施形態における車両用表示制御システムを概略的に示すブロック図
第1実施形態におけるハードウェア、ソフトウェアの構造の説明図
第1実施形態における処理内容を概略的に示すフローチャートその1
第1実施形態における報知態様を示す模式図その1
第1実施形態における処理内容を概略的に示すフローチャートその2
第1実施形態における処理内容を概略的に示すフローチャートその3
第1実施形態における処理内容を概略的に示すフローチャートその4
第1実施形態における報知態様を示す模式図その2
第1実施形態における処理内容を概略的に示すフローチャートその5
第1実施形態における処理内容を概略的に示すフローチャートその6
第1実施形態における処理内容を概略的に示すフローチャートその7
第1実施形態における報知態様を示す模式図その3
第1実施形態における処理内容を概略的に示すフローチャートその8
第1実施形態における処理内容を概略的に示すフローチャートその9
第1実施形態における処理内容を概略的に示すフローチャートその10
第1実施形態における処理内容を概略的に示すフローチャートその11
第1実施形態における報知態様を示す模式図その4
第1実施形態における処理内容を概略的に示すフローチャートその12
第1実施形態における表示装置の表示領域の表示対象説明図
第2実施形態におけるコックピットシステムの外観構成図
第2実施形態における表示装置の表示対象説明図
第3実施形態におけるコックピットシステムの外観構成図
第3実施形態における表示装置の表示対象説明図
第4実施形態におけるコックピットシステムの外観構成図
第4実施形態における表示装置の表示対象説明図
第5実施形態におけるハードウェア、ソフトウェアの構造の説明図
【発明を実施するための形態】
【0008】
以下、車両用表示制御装置、車両用表示制御システム、車両用表示制御方法、及び車両用表示制御プログラムについての幾つかの実施形態を説明する。各実施形態の間で同一機能を奏する部分については同一符号を付して説明を省略することがある。
【0009】
(第1実施形態)
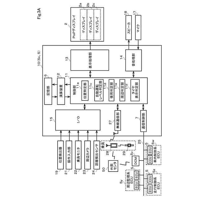
第1実施形態について図1から図20を参照しながら説明する。図1及び図2に示すように、車両用表示制御システム1は、ピラートゥピラーディスプレイ2を備えるコックピットシステム4を用いて構成される。以下、ピラートゥピラーディスプレイ2を、PtoPディスプレイ2と称す。
【0010】
図1及び図2に示すように、表示装置としてのPtoPディスプレイ2は、複数のディスプレイ2a~2cを隣り合わせて横長になるように構成されている。PtoPディスプレイ2の各ディスプレイ2a~2cは、液晶ディスプレイ又は有機ELディスプレイ等により構成され、車両の左ピラーPLと右ピラーPRとの間にかけてダッシュボードに設けられる大型ディスプレイである。PtoPディスプレイ2の表示領域は、少なくとも運転手席前領域に設けられる運転席前(以下、D席前と称す)ディスプレイ2aの表示領域、他の乗員席前領域に設けられる乗員席前(以下、P席前と称す)ディスプレイ2cの表示領域、中間領域に設けられるセンタインフォメーションディスプレイ(CID)2bの表示領域を含む。
(【0011】以降は省略されています)
この特許をJ-PlatPat(特許庁公式サイト)で参照する
関連特許
株式会社デンソーウェーブ
筐体
16日前
株式会社デンソー
車載器
29日前
株式会社デンソー
回転機
16日前
株式会社デンソー
電子装置
24日前
株式会社デンソー
電子装置
5日前
株式会社デンソー
電子装置
23日前
株式会社デンソー
検出装置
15日前
株式会社デンソー
反力装置
23日前
株式会社デンソー
ステータ
29日前
株式会社デンソー
ステータ
29日前
株式会社デンソー
半導体装置
4日前
株式会社デンソーテン
インバータ
23日前
株式会社デンソー
農業用装置
25日前
株式会社デンソートリム
鞍乗り車両
3日前
株式会社デンソー
熱交換装置
9日前
株式会社デンソー
センサ装置
2日前
株式会社デンソー
ヒータ装置
3日前
株式会社デンソー
レーダ装置
22日前
株式会社デンソー
半導体装置
29日前
株式会社デンソー
センサ装置
2日前
株式会社デンソー
電流センサ
16日前
株式会社デンソー
半導体装置
11日前
株式会社デンソー
運航管理装置
22日前
株式会社デンソー
圧電デバイス
2日前
株式会社デンソー
電力変換装置
9日前
株式会社デンソー
電圧検出回路
9日前
株式会社デンソー
電力変換装置
17日前
株式会社デンソー
車両制御装置
23日前
株式会社デンソー
画像処理装置
16日前
株式会社デンソー
車載システム
23日前
株式会社デンソー
車載システム
23日前
株式会社デンソー
衝突予測装置
24日前
株式会社デンソー
運転支援装置
24日前
株式会社デンソー
電子制御装置
29日前
株式会社デンソー
衝突予測装置
24日前
株式会社デンソー
電力変換装置
29日前
続きを見る
他の特許を見る