TOP
|
特許
|
意匠
|
商標
特許ウォッチ
Twitter
他の特許を見る
10個以上の画像は省略されています。
公開番号
2025157264
公報種別
公開特許公報(A)
公開日
2025-10-15
出願番号
2025107471,2021570106
出願日
2025-06-25,2021-01-08
発明の名称
ベーパーチャンバ用のウィックシート、ベーパーチャンバおよび電子機器
出願人
大日本印刷株式会社
代理人
個人
,
個人
,
個人
主分類
F28D
15/02 20060101AFI20251007BHJP(熱交換一般)
要約
【課題】本発明は、放熱効率を向上できるベーパーチャンバ用のウィックシート、ベーパーチャンバおよび電子機器を提供する。
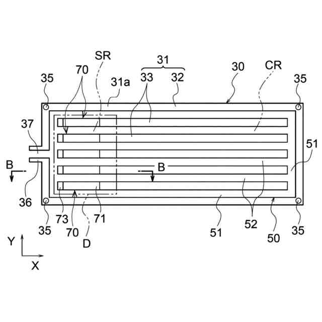
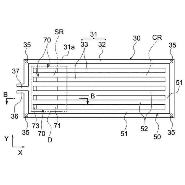
【解決手段】本発明によるベーパーチャンバ用のウィックシート30は、第1本体面と第2本体面とを有するシート本体31と、作動流体の蒸気が通る第1蒸気流路部50と、第2本体面に設けられ、第1蒸気流路部と連通して作動流体の液体が通る液流路部と、第1本体面に設けられ、第1蒸気流路部と連通して作動流体の蒸気が通る第2蒸気流路部70と、を備えている。シート本体は、第1方向に長手方向を有する、周囲に第1蒸気流路部が配置されたランド部33を有している。第2蒸気流路部は、第1方向に直交する第2方向においてランド部の一方の側縁から他方の側縁に延びる蒸気流路溝71を有している。
【選択図】図7
特許請求の範囲
【請求項1】
作動流体が封入されるベーパーチャンバの第1シートと第2シートとの間に介在されるベーパーチャンバ用のウィックシートであって、
第1本体面と、前記第1本体面とは反対側に設けられた第2本体面と、を有するシート本体と、
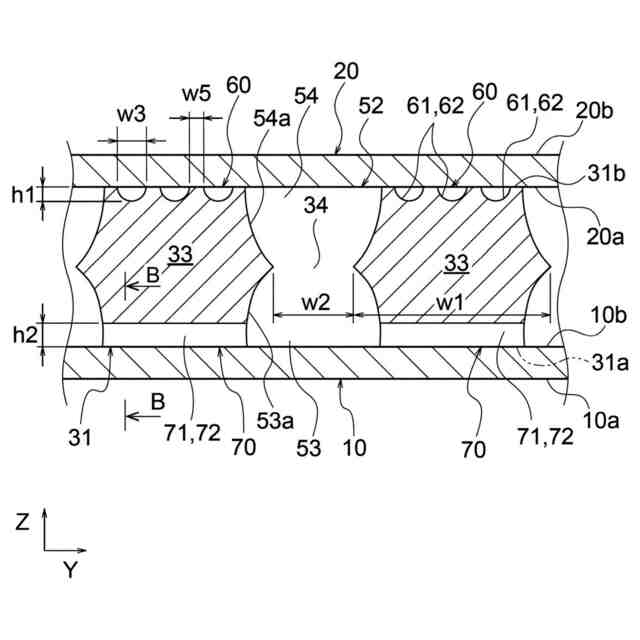
前記シート本体の前記第1本体面から前記第2本体面に延び、前記作動流体の蒸気が通る第1蒸気流路部と、
前記第2本体面に設けられ、前記第1蒸気流路部と連通して前記作動流体の液体が通る液流路部と、
前記第1本体面に設けられ、前記第1蒸気流路部と連通して前記作動流体の蒸気が通る第2蒸気流路部と、を備え、
前記シート本体は、第1方向に長手方向を有する、周囲に前記第1蒸気流路部が配置されたランド部を有し、
前記第2蒸気流路部は、前記第1方向に直交する第2方向において前記ランド部の一方の側縁から他方の側縁に延びる蒸気流路溝を有している、ベーパーチャンバ用のウィックシート。
発明の詳細な説明
【技術分野】
【0001】
本発明は、ベーパーチャンバ用のウィックシート、ベーパーチャンバおよび電子機器に関する。
続きを表示(約 1,800 文字)
【背景技術】
【0002】
モバイル端末等の電子機器には、発熱を伴う電子デバイスが用いられている。この電子デバイスの例としては、中央演算処理装置(CPU)、発光ダイオード(LED)またはパワー半導体等が挙げられる。モバイル端末の例としては、携帯端末またはタブレット端末等が挙げられる。
【0003】
このような電子デバイスは、ヒートパイプ等の放熱装置によって冷却されている(例えば、特許文献1参照)。近年では、電子機器の薄型化のために、放熱装置の薄型化が求められている。放熱装置として、ヒートパイプより薄型化できるベーパーチャンバの開発が進められている。ベーパーチャンバは、ベーパーチャンバ内に封入された作動流体が電子デバイスの熱を吸収して拡散することにより、電子デバイスを冷却する。
【0004】
より具体的には、ベーパーチャンバ内の作動流体は、電子デバイスに近接した部分(蒸発部)で電子デバイスから熱を受ける。このことにより、作動流体が蒸発して作動蒸気に変化する。その作動蒸気は、ベーパーチャンバ内に形成された蒸気流路部内で、蒸発部から離れる方向に拡散して冷却される。そして、作動蒸気は、凝縮して作動液に変化する。ベーパーチャンバ内には、毛細管構造(ウィックとも称する)としての液流路部が設けられている。このことにより、作動液は、蒸気流路部から液流路部に入り込む。その後、作動液は、液流路部を流れて、蒸発部に向かって輸送される。そして、蒸発部に輸送された作動液は、再び蒸発部で熱を受けて蒸発する。このようにして、作動流体が、相変化、すなわち蒸発と凝縮とを繰り返しながらベーパーチャンバ内を還流する。このようにして、電子デバイスの熱を拡散している。この結果、ベーパーチャンバの放熱効率が高められている。
【先行技術文献】
【特許文献】
【0005】
特開2008-82698号公報
【発明の概要】
【発明が解決しようとする課題】
【0006】
本発明は、放熱効率を向上できるベーパーチャンバ用のウィックシート、ベーパーチャンバおよび電子機器を提供することを目的とする。
【課題を解決するための手段】
【0007】
本発明は、第1の解決手段として、
作動流体が封入されるベーパーチャンバの第1シートと第2シートとの間に介在されるベーパーチャンバ用のウィックシートであって、
第1本体面と、前記第1本体面とは反対側に設けられた第2本体面と、を有するシート本体と、
前記シート本体の前記第1本体面から前記第2本体面に延び、前記作動流体の蒸気が通る第1蒸気流路部と、
前記第2本体面に設けられ、前記第1蒸気流路部と連通して前記作動流体の液体が通る液流路部と、
前記第1本体面に設けられ、前記第1蒸気流路部と連通して前記作動流体の蒸気が通る第2蒸気流路部と、を備え、
前記シート本体は、第1方向に長手方向を有する、周囲に前記第1蒸気流路部が配置されたランド部を有し、
前記第2蒸気流路部は、前記第1方向に直交する第2方向において前記ランド部の一方の側縁から他方の側縁に延びる蒸気流路溝を有している、ベーパーチャンバ用のウィックシート、
を提供する。
【0008】
上述した第1の解決手段によるベーパーチャンバ用のウィックシートにおいて、
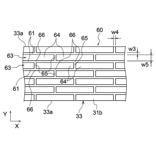
前記第2蒸気流路部は、複数の前記蒸気流路溝を有し、
互いに隣り合う一対の前記蒸気流路溝の間に、前記第1シートに当接する蒸気流路凸部が設けられている、
ようにしてもよい。
【0009】
上述した第1の解決手段によるベーパーチャンバ用のウィックシートにおいて、
前記第2蒸気流路部は、前記蒸気流路凸部に設けられた、互いに隣り合う一対の前記蒸気流路溝を連通する蒸気流路連絡溝を有している、
ようにしてもよい。
【0010】
上述した第1の解決手段によるベーパーチャンバ用のウィックシートにおいて、
互いに隣り合う前記蒸気流路凸部のうちの一方に設けられた前記蒸気流路連絡溝と、他方に設けられた前記蒸気流路連絡溝は、前記第1方向に沿って見たときに重なる位置とは異なる位置に配置されている、
ようにしてもよい。
(【0011】以降は省略されています)
この特許をJ-PlatPat(特許庁公式サイト)で参照する
関連特許
個人
排熱回収装置
2か月前
個人
熱交換装置
5か月前
個人
熱交換装置
9日前
ホーコス株式会社
熱交換ユニット
8か月前
三恵技研工業株式会社
熱交換器
6か月前
三恵技研工業株式会社
熱交換器
6か月前
アンリツ株式会社
検査装置
5か月前
株式会社パイオラックス
熱交換器
8か月前
アンリツ株式会社
検査装置
5か月前
日産自動車株式会社
熱交換器
8か月前
株式会社ティラド
ラジエータ
9か月前
スズキ株式会社
熱交換器
11か月前
個人
熱交換器
11か月前
新光電気工業株式会社
蓄熱装置
1か月前
株式会社アイシン
水噴射冷却システム
8か月前
株式会社デンソー
熱交換器
5か月前
株式会社アイシン
熱交換器
4か月前
株式会社デンソー
熱交換器
4か月前
ZACROS株式会社
熱交換装置
6か月前
株式会社デンソー
熱交換器
5か月前
日新電機株式会社
化学蓄熱反応器
9か月前
株式会社デンソー
熱交換器
3か月前
株式会社デンソー
熱交換器
11か月前
サンデン株式会社
熱交換器
8か月前
サンデン株式会社
熱交換器
8か月前
サンデン株式会社
熱交換器
8か月前
栗田工業株式会社
冷却塔システム
8か月前
栗田工業株式会社
冷却塔システム
3か月前
サンデン株式会社
熱交換器
6か月前
サンデン株式会社
熱交換器
6か月前
中部抵抗器株式会社
密閉構造体用冷却装置
9か月前
株式会社神戸製鋼所
積層型熱交換器
4か月前
古河電気工業株式会社
ヒートパイプ
8か月前
TPR株式会社
熱電発電機能付き熱交換器
7か月前
愛知製鋼株式会社
化学蓄熱装置
10か月前
新晃工業株式会社
コイルのフィン構造
8か月前
続きを見る
他の特許を見る