TOP
|
特許
|
意匠
|
商標
特許ウォッチ
Twitter
他の特許を見る
公開番号
2025156223
公報種別
公開特許公報(A)
公開日
2025-10-14
出願番号
2025054692
出願日
2025-03-28
発明の名称
粒子ビームシステムにおける、構成変更に起因したエネルギー依存デフォーカスの自動補正
出願人
エフ イー アイ カンパニ
,
FEI COMPANY
代理人
弁理士法人ITOH
主分類
H01J
37/21 20060101AFI20251002BHJP(基本的電気素子)
要約
【課題】構成変更に起因する電子ビームシステムにおけるエネルギー依存のデフォーカスを自動的に補正するための方法を提供する。
【解決手段】電子顕微鏡システムによって実施される方法は、透過型電子顕微鏡から電子ビームを受け取ることを含み得る。透過型電子顕微鏡は、試料面の後に配置された結像システムを含み得る。電子ビームは、試料との相互作用に起因する電子エネルギー損失スペクトルを含み得る。本方法は、エネルギー分光器の光学構成要素によって、電子エネルギー損失スペクトルを検出器に集束させることを更に含み得る。更に、本方法は、結像システムの倍率の変更に関する情報を決定することを含み得る。本方法は、倍率に対する変更に基づいて、電子エネルギー損失スペクトルの少なくとも一部が検出器に再集束されるように、1つ以上の光学構成要素の動作を調整することを含み得る。
【選択図】図10
特許請求の範囲
【請求項1】
電子顕微鏡システムによって実施される方法であって、前記方法は、
透過型電子顕微鏡であって、前記透過型電子顕微鏡は、試料面の後に配置された結像システムを含む、透過型電子顕微鏡から電子ビームであって、前記電子ビームは、試料との相互作用に起因する電子エネルギー損失スペクトルを含む、電子ビームを受け取ることと、
前記電子顕微鏡システムの光学構成要素によって、前記電子エネルギー損失スペクトルを検出器に集束させることと、
前記結像システムの倍率に対する変更に関する情報を決定することと、
前記倍率に対する前記変更に基づいて、前記電子エネルギー損失スペクトルの少なくとも一部にわたる焦点に対する変動が補正され、前記電子エネルギー損失スペクトルの少なくとも前記一部が前記検出器に再集束されるように、前記光学構成要素のうちの1つ以上の動作を調整することと、を含む、方法。
続きを表示(約 1,600 文字)
【請求項2】
前記結像システムの前記倍率に対する前記変更に関する情報を決定することは、
前記光学構成要素のうちの1つ以上に接続されたコントローラに前記情報を提供することを更に含み、前記情報は、前記透過型電子顕微鏡によって前記コントローラに提供され、
前記光学構成要素のうちの1つ以上の前記動作を調整することは、
前記倍率に対する前記変更に基づいてルックアップテーブルから少なくとも1つの設定を検索することと、
前記少なくとも1つの設定に基づいて前記光学構成要素のうちの1つ以上の少なくとも1つの磁極を調整するように前記光学構成要素のうちの1つ以上の前記動作を制御することと、を更に含む、請求項1に記載の方法。
【請求項3】
前記光学構成要素のうちの1つ以上の前記少なくとも1つの磁極を調整することは、前記電子エネルギー損失スペクトルにわたってデフォーカスを補償する、請求項2に記載の方法。
【請求項4】
前記情報は、前記透過型電子顕微鏡によって予め記憶され、色デフォーカス補正を前記倍率に対する前記変更に関連付ける、請求項3に記載の方法。
【請求項5】
前記情報は、前記結像システムの前記倍率に対する前記変更に基づいて前記透過型電子顕微鏡から送信される、請求項2に記載の方法。
【請求項6】
前記倍率に対する前記変更は、前記透過型電子顕微鏡の端部におけるクロスオーバーポイントへのシフトに関連付けられ、前記光学構成要素のうちの1つ以上の前記動作は、前記電子エネルギー損失スペクトルにわたる焦点へのシフトが補正されるように調整され、前記焦点への前記シフトは、前記クロスオーバーポイントへの前記シフトによって引き起こされる、請求項1に記載の方法。
【請求項7】
前記方法は、前記情報に基づいて、前記透過型電子顕微鏡の端部におけるクロスオーバーポイントへのシフトを決定することを更に含み、前記光学構成要素のうちの1つ以上の前記動作は、前記シフトに基づいて調整される、請求項1に記載の方法。
【請求項8】
前記情報は、色デフォーカス補正のための値を含み、前記値に基づいて、前記透過型電子顕微鏡の端部におけるクロスオーバーポイントへのシフトを決定することを更に含み、前記光学構成要素のうちの1つ以上の前記動作は、前記シフトに基づいて調整される、請求項2に記載の方法。
【請求項9】
前記値と前記シフトとの関連性は、前記コントローラによって前記ルックアップテーブルに予め記憶されている、請求項8に記載の方法。
【請求項10】
エネルギー分光器の1つ以上のプロセッサによって実行されると、前記エネルギー分光器に動作を行わせる命令を記憶する1つ以上のコンピュータ可読記憶媒体であって、前記動作は、透過型電子顕微鏡であって、前記透過型電子顕微鏡は、試料面の後に配置された結像システムを含む、透過型電子顕微鏡から電子ビームであって、前記電子ビームは、試料との相互作用に起因する電子エネルギー損失スペクトルを含む、電子ビームを受け取ることと、前記エネルギー分光器の光学構成要素によって、前記電子エネルギー損失スペクトルを検出器に集束させることと、前記結像システムの倍率に対する変更に関する情報を決定することと、
前記倍率に対する前記変更に基づいて、前記電子エネルギー損失スペクトルの少なくとも一部にわたる焦点に対する変動が補正され、前記電子エネルギー損失スペクトルの少なくとも前記一部が前記検出器に再集束されるように、前記光学構成要素のうちの1つ以上の動作を調整することと、を含む、1つ以上のコンピュータ可読記憶媒体。
(【請求項11】以降は省略されています)
発明の詳細な説明
【技術分野】
【0001】
本開示は、電子顕微鏡システム構成要素、システム、及び方法を対象とする。より詳細には、本開示は、電子顕微鏡システムにおいて検出された構成変化に基づく電子ビームの自動再集束について説明する。
続きを表示(約 3,600 文字)
【背景技術】
【0002】
透過型電子顕微鏡法(transmission electron
microscopy、TEM)などの荷電粒子顕微鏡法は、試料に関する情報を取得するために一連の検出法を使用することができる。TEM法は、細胞の内部、タンパク質分子の構造、ウイルス及び細胞骨格フィラメント内の分子の組織化など様々なタイプの試料を結像するために使用され得る。TEMは、結像される試料のタイプに応じて、様々な技法を使用することができる。そのような技法の1つは、電子エネルギー損失分光法(electron energy loss spectroscopy、EELS)と呼ばれ、この分光法では、試料から出現する電子ビームが、次に結像されるべきエネルギースペクトルに分散され得る。表面トポグラフィのみを調べる走査型電子顕微鏡(scanning electron microscope、SEM)とは異なり、TEMデバイスは、電子ビームを利用して試料を完全に通過させ、試料の内部トポグラフィを調べる。固有の自然法則により、電子ビーム内の電子は、試料との相互作用後に散乱する。その結果、電子の多くはエネルギー損失を経験し、その結果、結像面の焦点シフトを経験し、これにより、合焦像を取得するためにレンズ光学系の調整が必要となる。したがって、エネルギー損失の程度は、散乱電子に依存し得、構成を変更するTEMデバイスのために合焦像を得るための解決策が必要とされ得る。
【発明の概要】
【0003】
本明細書に記載の技法は、構成変更に起因した、電子ビームにおけるエネルギー依存のデフォーカスを自動的に補正するためのシステム、検出器装置、及び方法を対象とする。一実施形態は、電子顕微鏡システムによって実施される方法に関する。本方法は、透過型電子顕微鏡から電子ビームを受け取ることを含み得る。透過型電子顕微鏡は、試料面の後に配置された結像システムを含み得る。電子ビームは、試料との相互作用に起因するエネルギー損失スペクトルを含み得る。本方法は、エネルギー分光器の光学構成要素によって、電子エネルギー損失スペクトルを検出器に集束させることを更に含み得る。更に、本方法は、結像システムの倍率の変更に関する情報を決定することを含み得る。本方法は、倍率の変更に基づいて、電子エネルギー損失スペクトルの少なくとも一部が検出器に再集束されるように、1つ以上の光学構成要素の動作を調整することを含み得る。
【0004】
別の実施形態は、1つ以上のコンピュータ可読記憶媒体を対象とする。1つ以上のコンピュータ可読記憶媒体は、エネルギー分光器の1つ以上のプロセッサによって実行されると、エネルギー分光器に動作を行わせることができる命令を記憶し得る。動作は、透過型電子顕微鏡から電子ビームを受け取ることを含み得る。透過型電子顕微鏡は、試料面の後に配置された結像システムを含み得る。電子ビームは、試料との相互作用に起因するエネルギー損失スペクトルを含み得る。動作は、エネルギー分光器の光学構成要素によって、電子エネルギー損失スペクトルを検出器に集束させることを更に含み得る。更に、動作は、結像システムの倍率に対する変更に関する情報を決定することを含み得る。動作は、倍率に対する変更に基づいて、電子エネルギー損失スペクトルの少なくとも一部が検出器に再集束されるように、光学構成要素のうちの1つ以上の動作を調整することを含み得る。
【0005】
更に別の実施形態は、装置を対象とする。装置は、1つ以上のエネルギー損失スペクトルを取得するために、透過型電子顕微鏡に結合されたエネルギー分光器を含み得る。透過型電子顕微鏡は、試料面の後に配置された結像システムを含み得る。エネルギー分光器は、光学構成要素を含むことができる。光学構成要素は、エネルギー損失スペクトルを検出器に集束させることができる。エネルギー分光器は、スペクトル面と共役に配置された検出器を更に含み得る。加えて、エネルギー分光器は、コントローラを含むことができる。コントローラは、結像システムの倍率に対する変更を決定することができる。コントローラはまた、倍率に対する変更に基づいて、電子エネルギー損失スペクトルの少なくとも一部が検出器に再集束されるように、光学構成要素のうちの1つ以上の動作を調整し得る。
【図面の簡単な説明】
【0006】
本開示の前述の態様及び多くの付随する利点が、添付図面と併せて以下の詳細な説明を参照することでより良好に理解されるので、より容易に認識されるであろう。
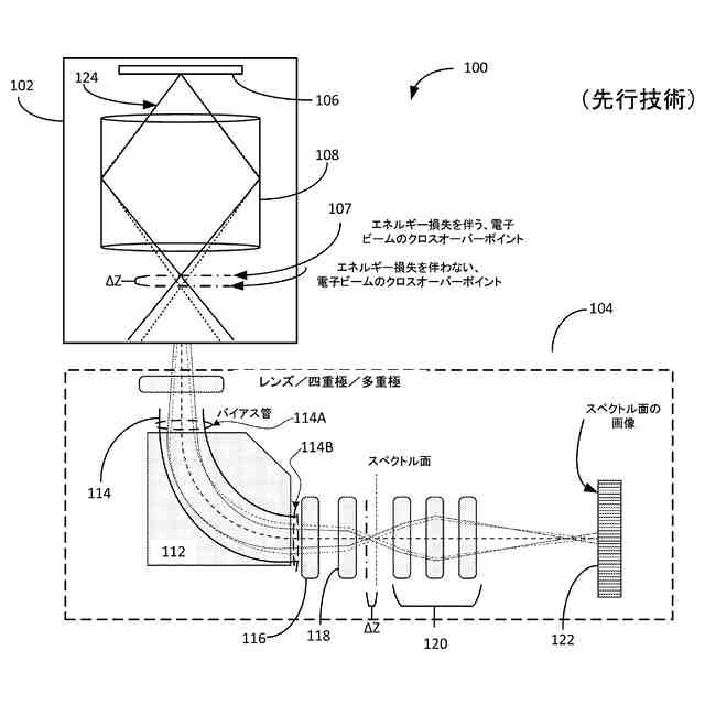
当技術分野で現在知られている顕微鏡システムの一部の例示的な図である。
いくつかの実施形態による、電子顕微鏡システムの概略図である。
いくつかの実施形態による、電子顕微鏡システムにおけるエネルギー依存デフォーカスの一例を示す概略図である。
いくつかの実施形態による、異なるビームエネルギーの様々なビームスペクトルの像セットである。
いくつかの実施形態による、エネルギー依存デフォーカスが補正された電子顕微鏡システムを示す概略図である。
いくつかの実施形態による、エネルギー依存デフォーカスに対する補正後の異なる一次ビームエネルギーの様々なビームスペクトルの像セットである。
いくつかの実施形態による、エネルギー損失スペクトルにわたってオフセットシフトを補償するための例示的なプロセスのフロー図である。
いくつかの実施形態による、電子顕微鏡システムを動作させるための例示的なプロセスの反復フローチャート図である。
いくつかの実施形態による、エネルギー損失スペクトルにわたるクロスオーバーシフトの例示的なグラフである。
いくつかの実施形態による、電子顕微鏡システムを用いて透過型電子顕微鏡を動作させるための例示的プロセスのフロー図である。
本開示の特定の態様による、電子顕微鏡システムのコントローラのブロック図である。
【0007】
図面において、同様の参照番号は、別段の指定がない限り、様々な図の全体にわたって同様の部分を指す。必要に応じて図面における混乱を低減させるために、要素の全てのインスタンスが必ずしも標識されているわけではない。図面は必ずしも縮尺通りではなく、代わりに、説明されている原理を例解することに重点が置かれている。
【発明を実施するための形態】
【0008】
本発明の実施形態は、試料のエネルギースペクトルを取得するための電子顕微鏡を含む電子顕微鏡システムに関連して以下に説明され、電子顕微鏡システムは、構成変更に起因して生じ得るエネルギー依存デフォーカスを補正するための調整を自動的に行うことができる。例えば、動作条件及び構成変更に応じて、エネルギー分光器内の少なくとも1つの光学構成要素の励起(電気的又は磁気的)は、エネルギー依存デフォーカスに対処するように調整され得る。構成変更は、電子顕微鏡結像システムの一部の倍率設定の変更を含み得る。しかしながら、本明細書に記載の方法は概して、走査プローブシステム及び平行照射システムの両方を含む広範囲の異なる方法及び装置に適用可能であり、特定の装置タイプ、ビームタイプ、対象物タイプ、長さスケール、又は走査軌跡に限定されないことを理解すべきである。
【0009】
本出願及び特許請求の範囲において使用される場合、「a」、「an」、及び「the」という単数形は、その内容に別段の明確な指示がない限り、複数形を含む。追加的に、「含む(includes)」という用語は、「備える(comprises)」を意味する。更に、「結合された(coupled)」という用語は、結合されたアイテム間の中間要素の存在を除外するものではない。
【0010】
本明細書に記載のシステム、装置、及び方法はいかなる制限的なものとしても解釈されるべきではない。代わりに、本開示は、様々な開示される実施形態の全ての新規かつ非自明な特徴並びに態様を、単独で、並びに互いとの様々な組み合わせ及び部分的組み合わせで対象とする。開示されたシステム、方法、及び装置は、任意の特定の態様若しくは特徴又はそれらの組み合わせに限定されず、開示されたシステム、方法及び装置は、任意の1つ以上の特定の利点が存在することも、又は問題が解決されることも必要としない。いずれの動作理論も説明を容易にするためであるが、開示されたシステム、方法、及び装置は、そのような動作理論に限定されない。
(【0011】以降は省略されています)
この特許をJ-PlatPat(特許庁公式サイト)で参照する
関連特許
APB株式会社
蓄電セル
26日前
東ソー株式会社
絶縁電線
28日前
日新イオン機器株式会社
イオン源
1か月前
ローム株式会社
半導体装置
27日前
マクセル株式会社
電源装置
20日前
株式会社東芝
端子台
20日前
株式会社GSユアサ
蓄電設備
1か月前
株式会社GSユアサ
蓄電装置
21日前
株式会社GSユアサ
蓄電装置
21日前
三菱電機株式会社
回路遮断器
7日前
株式会社ホロン
冷陰極電子源
1か月前
株式会社GSユアサ
蓄電装置
13日前
株式会社GSユアサ
蓄電設備
1か月前
トヨタ自動車株式会社
バッテリ
26日前
北道電設株式会社
配電具カバー
26日前
トヨタ自動車株式会社
蓄電装置
21日前
日新イオン機器株式会社
基板処理装置
23日前
日本特殊陶業株式会社
保持装置
12日前
日本特殊陶業株式会社
保持装置
29日前
トヨタ自動車株式会社
冷却構造
28日前
甲神電機株式会社
変流器及び零相変流器
14日前
トヨタ自動車株式会社
密閉型電池
22日前
日本無線株式会社
レーダアンテナ
14日前
株式会社デンソー
電子装置
23日前
日亜化学工業株式会社
半導体レーザ素子
23日前
株式会社レゾナック
冷却器
7日前
株式会社トクヤマ
シリコンエッチング液
1か月前
住友電装株式会社
コネクタ
28日前
ローム株式会社
半導体モジュール
今日
ローム株式会社
半導体装置
28日前
株式会社トクヤマ
シリコンエッチング液
1か月前
トヨタ自動車株式会社
電池パック
1か月前
トヨタ自動車株式会社
電池パック
1か月前
株式会社半導体エネルギー研究所
二次電池
1か月前
三協立山株式会社
バッテリーケース
27日前
株式会社デンソー
熱交換部材
14日前
続きを見る
他の特許を見る