TOP
|
特許
|
意匠
|
商標
特許ウォッチ
Twitter
他の特許を見る
10個以上の画像は省略されています。
公開番号
2025155155
公報種別
公開特許公報(A)
公開日
2025-10-14
出願番号
2024058743
出願日
2024-04-01
発明の名称
物理量センサーおよび慣性計測装置
出願人
セイコーエプソン株式会社
代理人
個人
,
個人
,
個人
主分類
G01P
15/08 20060101AFI20251006BHJP(測定;試験)
要約
【課題】スティッキングの欠損を抑制できる物理量センサーを提供すること。
【解決手段】物理量センサー100は、支持基板10と、支持基板10に対して可動可能に設けられた可動体20と、を備え、可動体20は、支持基板10に対向する下面20fに、貫通孔26を有する穴あき領域D1と、貫通孔26を有さない空白領域D2と、空白領域D2に設けられた導電膜27と、を有し、支持基板10は、平面視で、導電膜27と重なる突起15を有する。
【選択図】図1
特許請求の範囲
【請求項1】
基板と、
前記基板に対して可動可能に設けられた可動体と、を備え、
前記可動体は、前記基板に対向する第1面に、貫通孔を有する第1領域と、前記貫通孔を有さない第2領域と、前記第2領域に設けられた第1導電膜と、を有し、
前記基板は、平面視で、前記第1導電膜と重なる突起を有する、
物理量センサー。
続きを表示(約 490 文字)
【請求項2】
前記第1導電膜は、貴金属である、
請求項1に記載の物理量センサー。
【請求項3】
前記基板は、前記突起を覆う第2導電膜を有し、
前記第1導電膜の材料と前記第2導電膜の材料とは、同じ、
請求項1に記載の物理量センサー。
【請求項4】
前記第1導電膜の膜厚は、前記第2導電膜の膜厚よりも薄い、
請求項3に記載の物理量センサー。
【請求項5】
前記第1導電膜は、平面視において、前記突起よりも大きい、
請求項1に記載の物理量センサー。
【請求項6】
前記第1面の前記第1導電膜が設けられない第3領域の表面粗さは、前記第1導電膜の表面粗さよりも大きい、
請求項1に記載の物理量センサー。
【請求項7】
前記第1面の表面粗さは、前記第1面の反対側の第2面の表面粗さよりも大きい、
請求項1に記載の物理量センサー。
【請求項8】
請求項1ないし請求項7のいずれか一項に記載の物理量センサーを備えた慣性計測装置。
発明の詳細な説明
【技術分野】
【0001】
本発明は、物理量センサーおよび当該物理量センサーを備えた慣性計測装置に関する。
続きを表示(約 2,000 文字)
【背景技術】
【0002】
近年、MEMS(Micro Electro Mechanical System)技術を用いた物理量センサーが開発されている。このような物理量センサーとして特許文献1には、Z軸方向の加速度を検出する物理量センサーが記載されている。
特許文献1に記載の物理量センサーは、基板と、基板に対して揺動可能に設けられた可動体とを備え、基板は、可動体が過度に揺動した際に、可動体と接触して、それ以上の揺動を抑制するための突起を有する。
突起は、可動体が破損しないように、可動体を貫通する開口と接触する領域には設けられない。開口は、可動体と基板との間に生じるエアーによる抗力、換言すると、気体の粘性により生じるダンピングを低減するために設けられる。
【先行技術文献】
【特許文献】
【0003】
特開2019-45167号公報
【発明の概要】
【発明が解決しようとする課題】
【0004】
このような従来の物理量センサーにおいて、可動体が突起に接触した際に、可動体が突起に貼り付くスティッキングの発生を抑制する。
【課題を解決するための手段】
【0005】
本願の一態様に係る物理量センサーは、基板と、前記基板に対して可動可能に設けられた可動体と、を備え、前記可動体は、前記基板に対向する第1面に、貫通孔を有する第1領域と、前記貫通孔を有さない第2領域と、前記第2領域に設けられた第1導電膜と、を有し、前記基板は、平面視で、前記第1導電膜と重なる突起を有する。
【0006】
本願の一態様に係る慣性計測装置は、上記に記載の物理量センサーを備える。
【図面の簡単な説明】
【0007】
実施形態1に係る物理量センサーの平面図。
図1のA-A線に沿う物理量センサーの断面図。
図1のB-B線に沿う物理量センサーの断面図。
図2Aの範囲IIIの拡大断面図。
図3Aの変形例にかかる図2Aの範囲IIIの拡大断面図。
図1の範囲IVを可動体の下面から見た拡大平面図。
物理量センサーの製造工程を説明するフローチャート。
図5のシリコン基板準備工程S2の詳細を示すフローチャート。
図5の可動体形成工程S5の詳細を示すフローチャート。
製造過程における一態様を示す平面図。
図8Aの変形例にかかる製造過程における一態様を示す平面図。
製造過程における一態様を示す断面図。
製造過程における一態様を示す断面図。
製造過程における一態様を示す断面図。
製造過程における一態様を示す断面図。
製造過程における一態様を示す断面図。
製造過程における一態様を示す断面図。
実施形態2に係る慣性計測装置の概略構成を示す分解斜視図。
物理量センサーが実装された基板の斜視図。
【発明を実施するための形態】
【0008】
本発明の実施形態において、各図面に示される構成要素は、見やすくするために、寸法の縮尺を異ならせて示されることがある。
図面には、互いに直交するX軸、Y軸、およびZ軸の3軸が図示されることがある。以下の説明において、3軸の矢印の先端側は「プラス側」、矢印の基端側は「マイナス側」と記述されることがある。X軸に平行な方向は「X軸方向」、Y軸に平行な方向は「Y軸方向」、Z軸に平行な方向は「Z軸方向」と記述されることがある。Z軸方向に見ることは「平面視」と記述されることがある。
【0009】
以下の説明において、例えば、基板に対して、「基板上に」との記載は、基板の上に接して配置される場合、基板の上に他の構造物を介して配置される場合、または基板の上に一部が接して配置され、一部が他の構造物を介して配置される場合のいずれかを表す。
ある構成の上面との記載は、当該構成のZ軸方向プラス側の面、例えば「可動体の上面」は、可動体のZ軸方向プラス側の面、を示すものとする。
ある構成の下面との記載は、当該構成のZ軸方向マイナス側の面、例えば「可動体の下面」は可動体のZ軸方向マイナス側の面、を示すものとする。
ある構成の表面との記載は、当該構成の外側に現れている面、を示すものとする。
【0010】
1.実施形態1
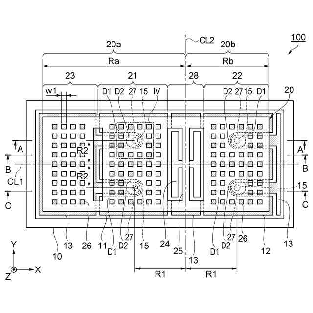
図1、図2A、および図2Bは、本実施形態に係る物理量センサー100の概略構成を示す。
図1は、実施形態1に係る物理量センサー100を模式的に示す平面図であり、説明の便宜上、蓋体30の図示が省略されている。図2Aは、図1のA-A線に沿う断面図である。図2Bは、図1におけるB-B線に沿う断面図である。
(【0011】以降は省略されています)
この特許をJ-PlatPat(特許庁公式サイト)で参照する
関連特許
セイコーエプソン株式会社
情報処理装置
今日
セイコーエプソン株式会社
読み取り装置
3日前
セイコーエプソン株式会社
シート製造装置
今日
セイコーエプソン株式会社
物理量検出装置及び物理量検出装置の製造方法
今日
セイコーエプソン株式会社
物理量センサーおよび物理量センサーの製造方法
2日前
セイコーエプソン株式会社
ボイスコイルモーター、電子機器及び光路変更装置
1日前
個人
メジャー文具
17日前
個人
高精度同時多点測定装置
9日前
個人
アクセサリー型テスター
10日前
日本精機株式会社
位置検出装置
23日前
日本精機株式会社
位置検出装置
23日前
日本精機株式会社
位置検出装置
23日前
株式会社ミツトヨ
測定器
今日
ユニパルス株式会社
ロードセル
16日前
アズビル株式会社
電磁流量計
3日前
アズビル株式会社
圧力センサ
22日前
ダイキン工業株式会社
監視装置
14日前
株式会社ヨコオ
ソケット
16日前
株式会社ユーシン
操作検出装置
25日前
トヨタ自動車株式会社
監視装置
15日前
株式会社チノー
放射光測温装置
16日前
エイブリック株式会社
磁気センサ回路
22日前
株式会社ヨコオ
ソケット
15日前
トヨタ自動車株式会社
検査装置
25日前
東レエンジニアリング株式会社
計量装置
25日前
個人
システム、装置及び実験方法
3日前
愛知時計電機株式会社
ガスメータ
今日
長崎県
形状計測方法
10日前
TDK株式会社
ガスセンサ
21日前
ローム株式会社
半導体装置
8日前
株式会社東芝
重量測定装置
21日前
ローム株式会社
半導体装置
8日前
TDK株式会社
ガスセンサ
22日前
TDK株式会社
磁気センサ
15日前
TDK株式会社
ガスセンサ
16日前
三恵技研工業株式会社
融雪レドーム
15日前
続きを見る
他の特許を見る