TOP
|
特許
|
意匠
|
商標
特許ウォッチ
Twitter
他の特許を見る
公開番号
2025155046
公報種別
公開特許公報(A)
公開日
2025-10-14
出願番号
2024058363
出願日
2024-03-30
発明の名称
リチウム金属二次電池及びそのエージング方法
出願人
本田技研工業株式会社
代理人
個人
,
個人
主分類
H01M
10/052 20100101AFI20251003BHJP(基本的電気素子)
要約
【課題】エージング時間を短くすることができるリチウム金属二次電池及びリチウム金属二次電池のエージング方法を提供すること。
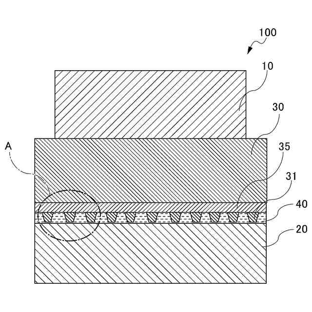
【解決手段】リチウム金属二次電池は、正極層、セパレータ及び負極層がこの順で積層された電極積層体と、電解液とを有し、前記負極層は、リチウム含有金属層であって、前記セパレータの前記負極層側の表面もしくは前記負極層の前記セパレータ側の表面に複数個の凸部が配置されている。
【選択図】図1
特許請求の範囲
【請求項1】
正極層、セパレータ及び負極層がこの順で積層された電極積層体と、電解液とを有し、
前記負極層は、リチウム含有金属層であって、
前記セパレータの前記負極層側の表面もしくは前記負極層の前記セパレータ側の表面に複数個の凸部が配置されている、リチウム金属二次電池。
続きを表示(約 510 文字)
【請求項2】
前記凸部が前記セパレータの前記負極層側の表面に配置されている、請求項1に記載のリチウム金属二次電池。
【請求項3】
前記セパレータは、前記負極層側の表面に機能層を有し、前記凸部が前記機能層の表面に配置されている、請求項2に記載のリチウム金属二次電池。
【請求項4】
前記凸部は、平均直径が100μm以上300μm以下の範囲内にあって、平均高さが0.5μm以上1.5μm以下の範囲内にある、請求項1又は2に記載のリチウム金属二次電池。
【請求項5】
隣接する前記凸部の平均間隔が100μm以上1mm以下の範囲内にある、請求項1又は2に記載のリチウム金属二次電池。
【請求項6】
前記凸部の面積占有率が5%以上10%以下の範囲内にある、請求項1又は2に記載のリチウム金属二次電池。
【請求項7】
請求項1又は2に記載のリチウム金属二次電池のエージング方法であって、
前記リチウム金属二次電池を、前記セパレータの表面が重力方向に沿うように配置した状態で充電する工程を含む、リチウム金属二次電池のエージング方法。
発明の詳細な説明
【技術分野】
【0001】
本発明は、リチウム金属二次電池及びそのエージング方法に関する。
続きを表示(約 1,600 文字)
【背景技術】
【0002】
近年、より多くの人々が手ごろで信頼でき、持続可能かつ先進的なエネルギーへのアクセスを確保できるようにするため、エネルギーの効率化に貢献する二次電池に関する研究開発が行われている。このような二次電池として、正極層の正極活物質にリチウムを含む化合物を用いて、充電時は正極活物質からリチウムイオンを負極層に移動させ、放電時に負極層から正極活物質にリチウムイオンを移動させる構成のリチウム二次電池が知られている。このような構成のリチウム二次電池では、製造直後は、リチウムが正極活物質にあるため、充電工程を含むエージングを行うのが一般的である(特許文献1)。
【先行技術文献】
【特許文献】
【0003】
特開2024-500687号公報
【発明の概要】
【発明が解決しようとする課題】
【0004】
ところで、二次電池に関する技術においては、エージング時間の短縮が課題の一つである。リチウム二次電池として、負極層にリチウム含有金属層を用い、充電時にリチウムイオンをリチウム含有金属層に析出させて、リチウム金属層を生成させるリチウム金属二次電池が知られている。しかしながら、本発明者らの検討によると、リチウム金属二次電池は、電解質の濃度が1.0~2.5mol/Lの高濃度の電解液を用いると、先にセパレータが電解液を十分保持液した後に、リチウム金属負極表面への電解液が移動しにくく、負極の表面全体に電解液が十分に濡れるまでの時間が長い。特に車載用の大型リチウム金属二次電池で高濃度の電解液が検討されており、エージング時間の短縮することが難しい。
【0005】
本発明は、上記に鑑みてなされたものであり、エージング時間を短くすることができるリチウム金属二次電池及びリチウム金属二次電池のエージング方法を提供することを目的とする。そして、延いてはエネルギーの効率化に寄与するものである。
【課題を解決するための手段】
【0006】
本発明者らは、上記課題の解決のため、リチウム金属二次電池のセパレータの負極層側の表面もしくは負極層のセパレータ側の表面に、複数個の凸部を配置することが有効であることを見出し、本発明を完成するに至った。したがって、本発明は、次のものを提供する。
【0007】
(1)正極層、セパレータ及び負極層がこの順で積層された電極積層体と、電解液とを有し、前記負極層は、リチウム含有金属層であって、前記セパレータの前記負極層側の表面もしくは前記負極層の前記セパレータ側の表面に複数個の凸部が配置されている、リチウム金属二次電池。
【0008】
(1)のリチウム金属二次電池によれば、凸部によって、セパレータと負極層との間に隙間が形成されるので、あらかじめ最初にリチウム負極を濡らした後、セパレータに電解液が移動するためセパレータと負極層の両方に電解液を浸透させることができる。このため、リチウム金属負極は電解液が十分に濡れるまでの時間を従来よりも短くできる。これにより、電解液を注液後の保持時間を短くでき、トータルのエージング時間を短くすることができる。
【0009】
(2)前記凸部が前記セパレータの前記負極層側の表面に配置されている、(1)に記載のリチウム金属二次電池。
【0010】
(2)のリチウム金属二次電池によれば、セパレータの負極層側の表面に凸部が形成されているので、負極層の濡れ性が高くなる。これにより負極電位が安定化する。負極電位が安定した後は、リチウム金属二次電池を拘束すると、凸部はつぶれて隙間はなくなる。この拘束状態で初回充電を行うと負極上にリチウムイオンが析出するとリチウム箔と析出リチウムの接合が強くなる。このため、放電時特性が向上する。
(【0011】以降は省略されています)
この特許をJ-PlatPat(特許庁公式サイト)で参照する
関連特許
日機装株式会社
加圧装置
3日前
日新イオン機器株式会社
イオン源
3日前
株式会社GSユアサ
蓄電装置
1か月前
株式会社GSユアサ
蓄電装置
18日前
三菱電機株式会社
回路遮断器
26日前
富士電機株式会社
電磁接触器
18日前
ホシデン株式会社
複合コネクタ
12日前
株式会社東芝
電子源
3日前
トヨタ自動車株式会社
蓄電装置
10日前
個人
電源ボックス及び電子機器
3日前
日本特殊陶業株式会社
保持装置
1か月前
株式会社トクミ
ケーブル
4日前
大電株式会社
電線又はケーブル
10日前
株式会社レゾナック
冷却器
26日前
矢崎総業株式会社
コネクタ
18日前
住友電装株式会社
コネクタ
18日前
ヒロセ電機株式会社
電気コネクタ
18日前
ローム株式会社
半導体モジュール
19日前
日本特殊陶業株式会社
アンテナ装置
5日前
トヨタ自動車株式会社
蓄電装置構造
4日前
矢崎総業株式会社
端子
10日前
株式会社パロマ
監視システム
10日前
日本航空電子工業株式会社
コネクタ
1か月前
三菱電機株式会社
半導体装置
3日前
株式会社デンソー
半導体装置
18日前
日本航空電子工業株式会社
コネクタ
3日前
日本特殊陶業株式会社
アンテナ装置
5日前
日本特殊陶業株式会社
アンテナ装置
5日前
TDK株式会社
電子部品
18日前
矢崎総業株式会社
バスバー電線
11日前
矢崎総業株式会社
バスバー電線
11日前
TDK株式会社
電子部品
5日前
株式会社ダイヘン
電圧調整装置
5日前
株式会社興電舎
励磁突入電流抑制方法
3日前
新電元工業株式会社
半導体装置
18日前
京セラ株式会社
積層セラミック電子部品
1か月前
続きを見る
他の特許を見る