TOP
|
特許
|
意匠
|
商標
特許ウォッチ
Twitter
他の特許を見る
公開番号
2025155038
公報種別
公開特許公報(A)
公開日
2025-10-14
出願番号
2024058353
出願日
2024-03-30
発明の名称
固体二次電池及び固体二次電池の中間層形成用塗布液の製造方法
出願人
本田技研工業株式会社
代理人
個人
,
個人
主分類
H01M
10/0585 20100101AFI20251003BHJP(基本的電気素子)
要約
【課題】出力特性が向上した固体二次電池及び固体二次電池の出力特性を向上させることができる中間層の形成用塗布液を提供すること。
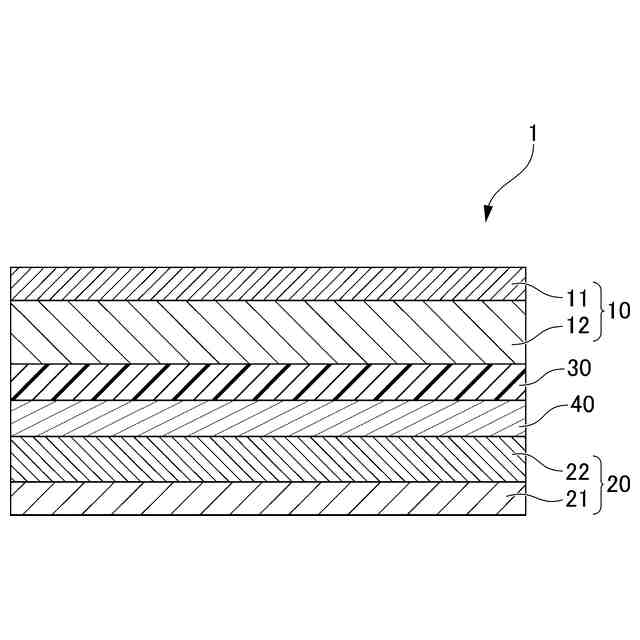
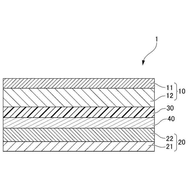
【解決手段】固体二次電池は、正極層と、負極層と、前記正極層と負極層との間に配置された固体電解質層と、前記負極層と前記固体電解質層との間に配置された中間層と、を有し、前記中間層は、カーボンと、ケイ素粒子と、バインダーとを含み、前記中間層の複合弾性率は200MPa以下である。
【選択図】図1
特許請求の範囲
【請求項1】
正極層と、負極層と、前記正極層と負極層との間に配置された固体電解質層と、前記負極層と前記固体電解質層との間に配置された中間層と、を有し、
前記中間層は、カーボンと、ケイ素粒子と、バインダーとを含み、
前記中間層の複合弾性率は200MPa以下である、固体二次電池。
続きを表示(約 570 文字)
【請求項2】
前記カーボンと前記ケイ素粒子と前記バインダーの合計量に対する前記カーボンの含有率が50質量%以上90質量%以下の範囲内にあって、前記ケイ素粒子の含有率が7質量%以上45質量%以下の範囲内にあり、前記バインダーの含有率が3質量%以上8質量%以下の範囲内にある、請求項1に記載の固体二次電池。
【請求項3】
前記バインダーの含有率が3質量%以上4質量%以下の範囲内にある、請求項2に記載の固体二次電池。
【請求項4】
前記カーボンの含有率に対する前記ケイ素粒子の含有率の比が0.30以上0.35以下の範囲内にある、請求項2又は3に記載の固体二次電池。
【請求項5】
前記カーボンは、BET比表面積が50m
2
/g以上80m
2
/g以下の範囲内にあるカーボンブラックである、請求項1又は2に記載の固体二次電池。
【請求項6】
前記中間層の複合弾性率が80MPa以下である、請求項1又は2に記載の固体二次電池。
【請求項7】
溶媒中でケイ素粒子を、周速20m/秒以上40m/秒以下の攪拌速度で60秒以上攪拌して得たケイ素粒子分散液と、カーボンとバインダーとを混合する、固体二次電池の中間層形成用塗布液の製造方法。
発明の詳細な説明
【技術分野】
【0001】
本発明は、固体二次電池及び固体二次電池の中間層形成用塗布液の製造方法に関する。
続きを表示(約 1,600 文字)
【背景技術】
【0002】
近年、より多くの人々が手ごろで信頼でき、持続可能かつ先進的なエネルギーへのアクセスを確保できるようにするため、エネルギーの効率化に貢献する二次電池に関する研究開発が行われている。二次電池の中でも固体電解質を用いた固体二次電池は、固体電解質が不燃性であるために安全性が向上する点や、より高いエネルギー密度を有する点において優れており、特に注目を集めている。
【0003】
固体二次電池は、正極層と負極層との間に固体段階質層を配置した電池である。固体電池として、電荷移動媒体をリチウムイオンとする固体リチウム二次電池が知られている。この固体リチウム二次電池では、負極層界面への不均一なリチウムの析出を抑制するために、負極層と固体電解質層との間に、カーボンと金属ナノ粒子とを含む中間層を配置することが検討されている(特許文献1を参照)。
【先行技術文献】
【特許文献】
【0004】
国際公開第2023-189892号
【発明の概要】
【発明が解決しようとする課題】
【0005】
ところで、二次電池に関する技術においては、高電流密度での放電を可能とする出力特性の向上が課題の一つである。固体二次電池の出力特性の向上のために、負極層と固体電解質層との間に電荷移動媒体の伝導性が高い中間層を配置することは有効な手段である。しかしながら、固体リチウム二次電池では、負極層の負極活物質層の材料として、リチウムやリチウム合金を用いて、充電時に、負極活物質層の表面にリチウムイオンを析出させてリチウム金属層を生成させ、放電時に、リチウム金属層から放出されたリチウムイオンを正極に吸蔵させる構成のものが検討されている。このような構成の固体リチウム二次電池では、充放電による負極層の厚みの変化によって、負極層と中間層の密着性が低下することによって、固体二次電池の出力特性が低下することがある。
【0006】
本発明は、上記の課題に鑑みてなされたものであり、出力特性が向上した固体二次電池及び固体二次電池の出力特性を向上させることができる中間層の形成用塗布液を提供することを目的としたものである。そして、延いてはエネルギーの効率化に寄与するものである。
【課題を解決するための手段】
【0007】
本発明者らは、上記の課題を解決するために、カーボンと、ケイ素粒子と、バインダーとを含む組成物を、複合弾性率が200MPa以下となるように形成した層を、中間層とすることが有効であることを見出し、本発明を完成するに至った。したがって、本発明は以下のものを提供する。
【0008】
(1)正極層と、負極層と、前記正極層と負極層との間に配置された固体電解質層と、前記負極層と前記固体電解質層との間に配置された中間層と、を有し、前記中間層は、カーボンと、ケイ素粒子と、バインダーとを含み、前記中間層の複合弾性率は200MPa以下である、固体二次電池。
【0009】
(1)の固体二次電池によれば、中間層が、カーボンと、ケイ素粒子と、バインダーとを含むので、固体電解質と負極との間の電荷媒体移動媒体の伝導性が高くなる。また、中間層の複合弾性率は200MPa以下と低く形状が変形しやすいので、負極活物質層がリチウムやリチウム合金を含み、充放電によって負極層の厚みが変化しても負極層と中間層とが高い密着状態で安定する。よって、固体二次電池の出力特性が向上する。
【0010】
(2)前記カーボンと前記ケイ素粒子と前記バインダーの合計量に対する前記カーボンの含有率が50質量%以上90質量%以下の範囲内にあって、前記ケイ素粒子の含有率が7質量%以上45質量%以下の範囲内にあり、前記バインダーの含有率が3質量%以上8質量%以下の範囲内にある、(1)に記載の固体二次電池。
(【0011】以降は省略されています)
この特許をJ-PlatPat(特許庁公式サイト)で参照する
関連特許
本田技研工業株式会社
飛行体
4日前
本田技研工業株式会社
回転電機
6日前
本田技研工業株式会社
灯火器構造
4日前
本田技研工業株式会社
冷却液タンク
11日前
本田技研工業株式会社
加水分解処理装置
4日前
本田技研工業株式会社
水素同位体分離システム
4日前
本田技研工業株式会社
積層体、積層体の製造方法
12日前
本田技研工業株式会社
電力変換装置、および車両
12日前
本田技研工業株式会社
軟磁性鋼板およびその製造方法
4日前
本田技研工業株式会社
有機物処理装置および有機物処理方法
4日前
本田技研工業株式会社
有機物処理装置および有機物処理方法
4日前
本田技研工業株式会社
電解システムの制御装置および電解システム
5日前
本田技研工業株式会社
音声認識装置、音声認識方法、及びプログラム
6日前
本田技研工業株式会社
三次元モデル生成装置及び三次元モデル評価システム
4日前
株式会社ダイセル
アルミニウム合金製摺動部材用潤滑剤
4日前
本田技研工業株式会社
有機物処理装置、有機物処理方法、および燃料ガスの製造方法
4日前
タイガースポリマー株式会社
二次電池用加圧袋およびその製造方法
4日前
APB株式会社
蓄電セル
1か月前
東ソー株式会社
絶縁電線
1か月前
日機装株式会社
加圧装置
4日前
ローム株式会社
半導体装置
1か月前
株式会社東芝
端子台
1か月前
日新イオン機器株式会社
イオン源
4日前
マクセル株式会社
電源装置
1か月前
株式会社GSユアサ
蓄電装置
1か月前
株式会社GSユアサ
蓄電装置
1か月前
三菱電機株式会社
回路遮断器
27日前
株式会社GSユアサ
蓄電装置
19日前
富士電機株式会社
電磁接触器
19日前
株式会社GSユアサ
蓄電装置
1か月前
株式会社ホロン
冷陰極電子源
1か月前
トヨタ自動車株式会社
バッテリ
1か月前
個人
電源ボックス及び電子機器
4日前
ホシデン株式会社
複合コネクタ
13日前
大電株式会社
電線又はケーブル
11日前
株式会社東芝
電子源
4日前
続きを見る
他の特許を見る