TOP
|
特許
|
意匠
|
商標
特許ウォッチ
Twitter
他の特許を見る
10個以上の画像は省略されています。
公開番号
2025154980
公報種別
公開特許公報(A)
公開日
2025-10-14
出願番号
2022134881
出願日
2022-08-26
発明の名称
吸収性物品の搬送形態変更装置及び搬送形態変更方法
出願人
株式会社瑞光
代理人
弁理士法人新樹グローバル・アイピー
主分類
B65G
47/30 20060101AFI20251003BHJP(運搬;包装;貯蔵;薄板状または線条材料の取扱い)
要約
【課題】複数列で搬送されている吸収性物品に対し何らかの処理を行うような場合に、その処理を行う装置の設置費用や設置面積を抑制可能な吸収性物品の搬送形態変更装置及び搬送形態変更方法を提供する。
【解決手段】吸収性物品(20)の搬送形態変更装置(100)は、第1搬送部(110)と、第2搬送部(120)と、移動部(200)と、を備える。第1搬送部は、第1方向(CD1)に複数列並べられている状態の吸収性物品を、第1方向と直交する第1搬送方向(MD1)に搬送する。第2搬送部は、吸収性物品を、第2搬送方向(MD2)に沿って1列で搬送する。移動部は、第1搬送部が搬送する吸収性物品を、第2搬送部に移動する。
【選択図】図1
特許請求の範囲
【請求項1】
第1方向に複数列並べられている状態の吸収性物品を、前記第1方向と直交する第1搬送方向に搬送する第1搬送部と、
前記吸収性物品を、第2搬送方向に沿って1列で搬送する第2搬送部と、
前記第1搬送部が搬送する前記吸収性物品を、前記第2搬送部に移動させる移動部と、
を備える、吸収性物品の搬送形態変更装置。
続きを表示(約 1,600 文字)
【請求項2】
前記移動部は、
前記第1搬送部が搬送する、前記第1方向における前記吸収性物品のそれぞれの列から前記吸収性物品を1つずつ取って、一群の前記吸収性物品として保持する保持部と、
前記保持部が保持する前記一群の前記吸収性物品を、前記第2搬送方向に沿うように1列に並べる整列部と、
を有する、
請求項1に記載の吸収性物品の搬送形態変更装置。
【請求項3】
前記保持部は、前記一群の前記吸収性物品を保持する保持面を有し、
前記整列部は、前記保持面に垂直な方向に延びる回転軸周りに前記保持部を回転させて、前記一群の前記吸収性物品を前記第2搬送方向に沿うように1列に並べる、
請求項2に記載の吸収性物品の搬送形態変更装置。
【請求項4】
前記保持部は、それぞれが前記一群の前記吸収性物品の1つを個別に保持する保持部材を複数有し、
前記複数の前記保持部材は、第1保持部材を含み、
前記整列部は、前記第1保持部材とは別の前記保持部材を、前記第1保持部材に対して相対移動させることで、前記一群の前記吸収性物品を前記第2搬送方向に沿うように1列に並べる、
請求項2に記載の吸収性物品の搬送形態変更装置。
【請求項5】
前記整列部は、前記第1保持部材とは別の前記保持部材を、前記第1保持部材の周りを相対的に旋回させることで、前記一群の前記吸収性物品を前記第2搬送方向に沿うように1列に並べる、
請求項4に記載の吸収性物品の搬送形態変更装置。
【請求項6】
前記第1搬送部は、前記第1方向に前記複数列並べられている状態の前記吸収性物品のうちの1列の前記吸収性物品を搬送する列搬送部を複数有し、
前記移動部は、前記複数の前記列搬送部の動作を制御する制御部を含み、
前記移動部は、前記制御部が、前記複数の前記列搬送部がそれぞれ互いに異なる搬送速度で前記吸収性物品を搬送するように、前記複数の前記列搬送部を動作させることで、前記複数の前記列搬送部が、前記第2搬送部に対し前記吸収性物品を移動する位置を、前記複数の前記列搬送部毎に異ならせる、
請求項1に記載の吸収性物品の搬送形態変更装置。
【請求項7】
前記第1搬送部は、前記第1方向に3列以上並べられている状態の前記吸収性物品を、前記第1搬送方向に搬送する、
請求項1から6のいずれか1項に記載の吸収性物品の搬送形態変更装置。
【請求項8】
第1搬送経路において、第1方向に複数列並べられている状態の吸収性物品を、前記第1方向と直交する第1搬送方向に搬送する第1搬送ステップと、
第2搬送経路において、前記吸収性物品を、第2搬送方向に沿って1列で搬送する第2搬送ステップと、
前記第1搬送経路を搬送される前記吸収性物品を、前記第2搬送経路に移動させる移動ステップと、
を備える、吸収性物品の搬送形態変更方法。
【請求項9】
前記移動ステップは、
保持部が、前記第1搬送経路を搬送される前記吸収性物品の、前記第1方向におけるそれぞれの列から前記吸収性物品を1つずつ受け取り、受け取った一群の前記吸収性物品を保持する保持ステップと、
前記保持部が保持する前記一群の前記吸収性物品を、前記第2搬送方向に沿うように1列に並べる整列ステップと、
を含む、
請求項8に記載の吸収性物品の搬送形態変更方法。
【請求項10】
前記保持部は、前記一群の前記吸収性物品を保持する保持面を有し、
前記整列ステップでは、前記保持面に垂直な方向に延びる回転軸周りに前記保持部が回転させられて、前記一群の前記吸収性物品が前記第2搬送方向に沿うように1列に並べられる、
請求項9に記載の吸収性物品の搬送形態変更方法。
(【請求項11】以降は省略されています)
発明の詳細な説明
【技術分野】
【0001】
本願発明は、吸収性物品の搬送形態変更装置及び搬送形態変更方法に関する。
続きを表示(約 1,900 文字)
【背景技術】
【0002】
特許文献1(特開昭60-225554号公報)のように、吸収性物品を複数列並べられた状態で製造する吸収性物品の製造装置が知られている。このような製造装置を使用することで、製造装置の設置費用や設置面積を抑制して吸収性物品を製造できる。
【先行技術文献】
【特許文献】
【0003】
特開昭60-225554号公報
【発明の概要】
【発明が解決しようとする課題】
【0004】
しかし、吸収性物品が複数列で搬送される場合、例えば、吸収性物品に対して何らかの処理を行うような場合に、各列の吸収性物品に対しその処理を行うための装置を設ける必要があり、処理装置の設置費用や設置面積の増大に繋がるおそれがある。
【課題を解決するための手段】
【0005】
本願発明の一の観点の吸収性物品の搬送形態変更装置は、第1搬送部と、第2搬送部と、移動部と、を備える。第1搬送部は、第1方向に複数列並べられている状態の吸収性物品を、第1方向と直交する第1搬送方向に搬送する。第2搬送部は、吸収性物品を、第2搬送方向に沿って1列で搬送する。移動部は、第1搬送部が搬送する吸収性物品を、第2搬送部に移動する。
【0006】
本願発明の一の観点の吸収性物品の搬送形態変更方法は、第1搬送ステップと、第2搬送ステップと、移動ステップと、を備える。第1搬送ステップでは、第1搬送経路において、第1方向に複数列並べられている状態の吸収性物品が、第1方向と直交する第1搬送方向に搬送される。第2搬送ステップでは、第2搬送経路において、吸収性物品が、第2搬送方向に沿って1列で搬送される。移動ステップでは、第1搬送経路を搬送される複数列の吸収性物品が、第2搬送経路へと移動される。
【発明の効果】
【0007】
本願発明の一の観点の吸収性物品の搬送形態変更装置は、複数列並べられた状態で搬送される吸収性物品を、単一の列に並べ替えて搬送する。そのため、本願発明の一の観点の吸収性物品の搬送形態変更装置では、吸収性物品に対して何らかの処理を行うような場合に、その処理を行う装置の設置費用や設置面積を抑制できる。
【0008】
本願発明の一の観点の吸収性物品の搬送形態変更方法では、複数列並べられた状態で搬送される吸収性物品が、単一の列に並べ替えられて搬送される。そのため、本願発明の一の観点の吸収性物品の搬送形態変更方法では、吸収性物品に対して何らかの処理を行うような場合に、その処理を行う装置の設置費用や設置面積を抑制できる。
【図面の簡単な説明】
【0009】
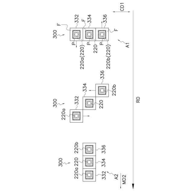
本願発明の第1実施形態に係る搬送形態変更装置を、吸収性物品の搬送面に垂直な方向に沿って見た概略図である。
図1の搬送形態変更装置を、第1搬送方向と直交する第1方向、すなわち第1搬送部において吸収性物品の列が並べられている方向、に沿って見た概略図である。
図1の搬送形態変更装置の制御ブロック図の一例である。
図1の搬送形態変更装置の搬送形態変更方法のフローチャートの一例である。
搬送形態変更装置における搬送形態変更の第1の例を示す図である。
搬送形態変更装置における搬送形態変更の第2の例を示す図である。
搬送形態変更装置における搬送形態変更の第3の例を示す図である。
第1搬送部を搬送される吸収性物品の列数が4列の場合の搬送形態変更の第1の例を示す図である。
第1搬送部を搬送される吸収性物品の列数が4列の場合の搬送形態変更の第2の例を示す図である。
第1搬送部を搬送される吸収性物品の列数が4列の場合の搬送形態変更の第3の例を示す図である。
本願発明の第2実施形態に係る搬送形態変更装置を、吸収性物品の搬送面に垂直な方向に沿って見た概略図である。
図9の搬送形態変更装置の制御ブロック図の一例である。
図9の搬送形態変更装置の搬送形態変更方法のフローチャートの一例である。
【発明を実施するための形態】
【0010】
以下に、図面を参照しながら、本願発明に係る吸収性物品の搬送形態変更装置及び搬送形態変更方法の実施形態を説明する。なお、以下で説明する実施形態は、本願発明の一実施例に過ぎず、本願発明の範囲を限定するものではない。当業者であれば、特許請求の範囲に記載された本願発明の趣旨及び範囲から逸脱することなく、以下の実施形態に多様な変更が可能なことが理解されるであろう。
(【0011】以降は省略されています)
この特許をJ-PlatPat(特許庁公式サイト)で参照する
関連特許
株式会社瑞光
物品集積装置
25日前
株式会社瑞光
吸収体製造装置
5日前
株式会社瑞光
ウェブ接ぎ装置及びウェブ接ぎ方法
15日前
株式会社瑞光
積層連続体の製造装置及び製造方法
2か月前
株式会社瑞光
吸収性物品の搬送形態変更装置及び搬送形態変更方法
今日
個人
収容箱
3か月前
個人
ゴミ箱
12か月前
個人
コンベア
4か月前
個人
ゴミ収集器
6か月前
個人
容器
9か月前
個人
段ボール箱
6か月前
個人
段ボール箱
6か月前
個人
角筒状構造体
5か月前
個人
楽ちんハンド
4か月前
個人
バンド
1か月前
個人
宅配システム
6か月前
個人
土嚢運搬器具
8か月前
個人
パウチ補助具
11か月前
個人
閉塞装置
9か月前
個人
廃棄物収容容器
2か月前
個人
お薬の締結装置
5か月前
個人
コード類収納具
7か月前
個人
包装容器
25日前
株式会社バンダイ
物品
6日前
個人
把手付米袋
4か月前
株式会社和気
包装用箱
8か月前
個人
積み重ね用補助具
2か月前
個人
貯蔵サイロ
6か月前
株式会社コロナ
梱包材
5か月前
個人
蓋閉止構造
3か月前
個人
蓋閉止構造
3か月前
個人
ゴミ処理機
8か月前
個人
介護用コップ
1か月前
株式会社新弘
容器
12か月前
株式会社新弘
容器
12か月前
株式会社イシダ
搬送装置
6か月前
続きを見る
他の特許を見る