TOP
|
特許
|
意匠
|
商標
特許ウォッチ
Twitter
他の特許を見る
公開番号
2025154439
公報種別
公開特許公報(A)
公開日
2025-10-10
出願番号
2024057443
出願日
2024-03-29
発明の名称
コーヒーメーカー
出願人
タイガー魔法瓶株式会社
代理人
弁理士法人矢野内外国特許事務所
主分類
A47J
31/06 20060101AFI20251002BHJP(家具;家庭用品または家庭用設備;コーヒーひき;香辛料ひき;真空掃除機一般)
要約
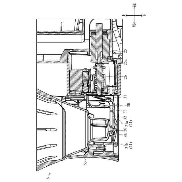
【課題】出器の開口部を弁体によって開閉させるための機構が熱によって損傷することを抑制することができ、耐久性を向上させることができるコーヒーメーカーとする。
【解決手段】コーヒーメーカー1において、抽出器6の第二開口部2bを開状態にする際に、突き出し部材26を突き出した状態となるように移動させて回転部材30を押圧して回転部材30を回転させることによって、抽出器6の第二開口部2bから弁体20を離間させて、抽出器6の第二開口部2bが開いた状態とするものであり、抽出器6は、本体1Aと別体に構成され、突き出し部材26は、本体1Aに設けられるものとする。
【選択図】図7
特許請求の範囲
【請求項1】
本体と抽出器とコーヒーサーバーとを備え、前記抽出器においてコーヒー粉が前記本体から吐出される湯に浸された後にフィルターでろ過することによってコーヒー液を抽出して、前記コーヒーサーバーに前記コーヒー液を貯留する、コーヒーメーカーであって、
前記抽出器は、抽出した前記コーヒー液を吐出する下方の開口部を備え、
前記抽出器の前記開口部を開閉する弁体と、
前記弁体が設けられる回転部材と、
前記回転部材を回転動作させる突き出し部材と、
を備え、
前記抽出器の前記開口部を開状態にする際に、前記突き出し部材を突き出した状態となるように移動させて前記回転部材を押圧して前記回転部材を回転させることによって、前記抽出器の前記開口部から前記弁体を離間させて、前記抽出器の前記開口部が開いた状態とするものであり、
前記抽出器は、前記本体と別体に構成され、
前記突き出し部材は、前記本体に設けられる、ことを特徴とするコーヒーメーカー。
続きを表示(約 510 文字)
【請求項2】
前記回転部材は、前記弁体よりも熱伝導率が低く構成される、ことを特徴とする請求項1に記載のコ-ヒーメーカー
【請求項3】
前記コーヒー液を抽出する動作の際に、前記抽出器の底面に接触して前記抽出器を下方から支持する支持部を備え、
前記支持部は、前記抽出器の前記開口部よりも低い位置で前記抽出器を支持する、ことを特徴とする請求項2に記載のコーヒーメーカー。
【請求項4】
前記支持部は、前記抽出器を支持している状態において、底面視で前記抽出器の前記開口部の側方を囲むように構成される、ことを特徴とする請求項3に記載のコーヒーメーカー。
【請求項5】
前記支持部は、本体から突出する一対の腕部を備え、
前記支持部が前記抽出器を支持している状態において、前記抽出器の前記開口部は、底面視で一対の前記腕部の間に配置される、ことを特徴とする請求項4に記載のコーヒーメーカー。
【請求項6】
前記コーヒーサーバーの開口部と前記抽出器の前記開口部とは、平面視で重なる位置に配置される、ことを特徴とする請求項5に記載のコーヒーメーカー。
発明の詳細な説明
【技術分野】
【0001】
本発明は、抽出器においてコーヒー粉が湯に浸された後にフィルターでろ過することによってコーヒー液を抽出してコーヒーサーバーにコーヒー液を貯留するコーヒーメーカーの技術に関する。
続きを表示(約 1,400 文字)
【背景技術】
【0002】
従来、コーヒーメーカーとして、本体と、抽出器と、コーヒーサーバーと、を備え、抽出器においてコーヒー粉が本体から吐出される湯に浸された後にフィルターでろ過することによってコーヒー液を抽出して、コーヒーサーバーにコーヒー液を貯留するものが公知となっている。
【0003】
また、特許文献1には、コーヒーメーカーについて、抽出器と、抽出器の下方の開口部を開閉する弁体と、抽出器の下方の開口部を弁体によって開閉させるための駆動機構と、を備えるものが記載されている。
【先行技術文献】
【特許文献】
【0004】
国際公開第2022/063544号
【発明の概要】
【発明が解決しようとする課題】
【0005】
しかしながら、前記コーヒーメーカーでは、弁体及び駆動機構が抽出器に設けられて、これらが一体的に構成されていることから、抽出器内の湯の熱が駆動機構に伝わり易い構成となっている。このため、駆動機構が熱によって損傷し易く、耐久性に問題が生じるおそれがある。
【0006】
本発明は以上の如き状況に鑑みてなされたものであり、抽出器の開口部を弁体によって開閉させるための機構が熱によって損傷することを抑制することができ、耐久性を向上させることができるコーヒーメーカーを提供することを課題とする。
【課題を解決するための手段】
【0007】
本発明に係るコーヒーメーカーは、本体と抽出器とコーヒーサーバーとを備え、前記抽出器においてコーヒー粉が前記本体から吐出される湯に浸された後にフィルターでろ過することによってコーヒー液を抽出して、前記コーヒーサーバーに前記コーヒー液を貯留する、コーヒーメーカーであって、前記抽出器は、抽出した前記コーヒー液を吐出する下方の開口部を備え、前記抽出器の前記開口部を開閉する弁体と、前記弁体が設けられる回転部材と、前記回転部材を回転動作させる突き出し部材と、を備え、前記抽出器の前記開口部を開状態にする際に、前記突き出し部材を突き出した状態となるように移動させて前記回転部材を押圧して前記回転部材を回転させることによって、前記抽出器の前記開口部から前記弁体を離間させて、前記抽出器の前記開口部が開いた状態とするものであり、前記抽出器は、前記本体と別体に構成され、前記突き出し部材は、前記本体に設けられるものである。
【0008】
本発明に係るコーヒーメーカーよれば、抽出器内の湯の熱が抽出器の開口部を弁体によって開閉させるための機構に伝わり難くなる。したがって、抽出器の開口部を弁体によって開閉させるための機構が熱によって損傷することを抑制することができ、耐久性を向上させることができる。
【0009】
本発明において、前記回転部材は、前記弁体よりも熱伝導率が低く構成されると好適である。
【0010】
本構成によれば、抽出器内の湯の熱が抽出器の開口部を弁体によって開閉させるための機構に伝わり難くなる。したがって、抽出器の開口部を弁体によって開閉させるための機構が熱によって損傷することを抑制することができ、耐久性を向上させることができる。
(【0011】以降は省略されています)
この特許をJ-PlatPat(特許庁公式サイト)で参照する
関連特許
個人
椅子
1か月前
個人
家具
3か月前
個人
自助箸
5か月前
個人
掃除機
7か月前
個人
枕
4か月前
個人
枕
7か月前
個人
掃除道具
7か月前
個人
掃除用具
2か月前
個人
屋外用箒
6か月前
個人
体洗い具
9か月前
個人
ソファー
23日前
個人
耳拭き棒
9か月前
個人
ハンガー
5か月前
個人
省煙消臭器
7か月前
個人
組立式棚板
6か月前
個人
掃除シート
8か月前
個人
エコ掃除機
10か月前
個人
物品
1か月前
個人
片手代替具
10か月前
個人
開閉トング
5か月前
個人
中身のない枕
6か月前
個人
ゴミ袋保持枠
5か月前
個人
シャワー装置
4か月前
個人
転倒防止装置
3か月前
個人
紙コップ 蓋
1か月前
個人
靴ベラ
1か月前
個人
洗面台
9か月前
個人
経典表示装置
3か月前
個人
折り畳み椅子
12か月前
個人
受け皿
4か月前
個人
首支持具
2か月前
個人
コーナーシール
8か月前
個人
矯正用枕
2か月前
個人
簡易防災トイレ
13日前
個人
コーヒー抽出器
2か月前
個人
補助寝具
7か月前
続きを見る
他の特許を見る