TOP
|
特許
|
意匠
|
商標
特許ウォッチ
Twitter
他の特許を見る
公開番号
2025154406
公報種別
公開特許公報(A)
公開日
2025-10-10
出願番号
2024057382
出願日
2024-03-29
発明の名称
刃体及び刃体の製造方法
出願人
株式会社貝印刃物開発センター
代理人
個人
,
個人
,
個人
主分類
B26B
21/60 20060101AFI20251002BHJP(切断手工具;切断;切断機)
要約
【課題】耐久性が高く、長く使用可能な刃体を提供する。
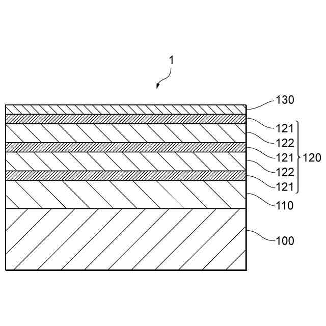
【解決手段】刃体1は、Feを含む材料で形成された基材100と、基材100の上に形成されたハードコート層120とを備える。ハードコート層120は、積層方向に交互に配置されたDLC層121と金属層122とを含む。DLC層121はDLCを含む材料で形成され、金属層122は金属または半金属を含む材料で形成される。ハードコート層120は、2層以上のDLC層121を含む。
【選択図】図1
特許請求の範囲
【請求項1】
Feを含む材料で形成された基材と、
前記基材の上に形成されたハードコート層と、を備え、
前記ハードコート層は、積層方向に交互に配置されたDLC層と金属層とを含み、
前記DLC層は、DLCを含む材料で形成され、
前記金属層は、金属または半金属を含む材料で形成され、
前記ハードコート層は、2層以上の前記DLC層を含む、
刃体。
続きを表示(約 800 文字)
【請求項2】
2層以上の前記DLC層のうちの少なくとも1層は、40%以上がSP3構造である、
請求項1に記載の刃体。
【請求項3】
前記ハードコート層が5nm以上1000nm以下である、
請求項1に記載の刃体。
【請求項4】
前記ハードコート層が10nm以上500nm以下である、
請求項1に記載の刃体。
【請求項5】
前記DLC層及び前記金属層のそれぞれは、1nm以上150nm以下である、
請求項1に記載の刃体。
【請求項6】
前記DLC層及び前記金属層のそれぞれは、3nm以上100nm以下である、
請求項1に記載の刃体。
【請求項7】
前記ハードコート層の上にフッ素樹脂で形成されたフッ素樹脂層をさらに備え、
前記DLC層が前記フッ素樹脂層に接するように配置されている、
請求項1に記載の刃体。
【請求項8】
前記基材と前記ハードコート層との間に、金属または半金属を含む材料で形成された密着層をさらに備え、
前記ハードコート層は、第1DLC層、第1金属層、第2DLC層、第2金属層、及び第3DLC層の順に積層されて形成されており、
前記第1金属層及び前記第2金属層は、Cr、CrNまたはCrCを含む材料で形成されている、
請求項7に記載の刃体。
【請求項9】
Feを含む材料で形成された基材の上に、DLCを含む材料で形成された第1DLC層を形成するステップと、
前記第1DLC層の上に、金属または半金属を含む材料で形成された金属層を形成するステップと、
前記金属層の上に、DLCを含む材料で形成された第2DLC層を形成するステップと、を含む、
刃体の製造方法。
発明の詳細な説明
【技術分野】
【0001】
本発明の一態様は、刃体及び刃体の製造方法に関する。
続きを表示(約 1,700 文字)
【背景技術】
【0002】
従来、特許文献1に記載されたような、剃刀の刃体(ブレード)の非晶質ダイヤモンドコーティングの技術があった。この刃体では、基質に非晶質ダイヤモンドの被膜を施す構成となっている。
【先行技術文献】
【特許文献】
【0003】
特表平9-512447号公報
【発明の概要】
【発明が解決しようとする課題】
【0004】
国連サミットで採択されたSDGs(Sustainable Development Goals、持続可能な開発目標)における17の目標の中の目標12では、「つくる責任、つかう責任」として、持続可能な生産消費形態を確保することが挙げられており、廃棄物の発生を大幅に削減することなどが求められている。例えば、目標12-5では、2030年までに、廃棄物の発生防止、削減、再生利用及び再利用により、廃棄物の発生を大幅に削減することが目標として挙げられている。このような状況のもと、カミソリを含む刃物に用いられる刃体の分野においても、廃棄物の発生を減少させることが求められている。
【0005】
発明者らは、カミソリ等に用いられる刃体において、SGDsの目標12-5に挙げられた廃棄物の発生防止等を達成することを目標として刃体の改良に取り組んでいる。本発明は、刃体を、特許文献1に記載された構成とは異なる構成として、長期間利用可能な、耐久性に優れた構成にすることを目標のひとつとする。
【課題を解決するための手段】
【0006】
本発明の一の手段は、
Feを含む材料で形成された基材と、
前記基材の上に形成されたハードコート層と、を備え、
前記ハードコート層は、積層方向に交互に配置されたDLC層と金属層とを含み、
前記DLC層は、DLCを含む材料で形成され、
前記金属層は、金属または半金属を含む材料で形成され、
前記ハードコート層は、2層以上の前記DLC層を含む、
刃体である。
【0007】
発明者らの調査によれば、特許文献1に記載された非晶質ダイヤモンドコーティングを有する刃体は比較的高い硬度を有するが、硬度の高い膜は高い内部応力が生じ、膜厚を厚くすることで破壊されることがあった。刃体の表面の非晶質ダイヤモンドコーティングが破壊されると、非晶質ダイヤモンドコーティングの表面に形成したPTFEの膜も剥離するため、剃り味が悪化してしまっていた。また、膜が破壊された箇所で髭などの体毛を切断すると、当該箇所の破壊が進行して、さらに剃り味が悪化してしまっていた。さらに、高硬度でかつドロップレットのない緻密な非晶質ダイヤモンドの膜を達成するための成膜方法は、成膜速度が遅く、生産性が悪いという課題があった。
【0008】
上記本発明の刃体は、ハードコート層において、積層方向に交互に配置されたDLC(Diamond-Like Carbon、ダイヤモンドライクカーボン)層と金属層とを含む構成とすることで、ハードコート層の全体をDLCで形成する構成と比較して、DLCの1層の厚さを薄くすることができ、ハードコート層中でのDLC層の内部応力を小さくすることで破損しづらい構成にすることができる。また、DLC層の成膜速度よりも金属層の成膜速度の方が速いことから、所望のハードコート膜厚を達成するための成膜時間を短くする事ができ、刃体の生産性を高めることができる。
【0009】
すなわち、顧客の観点からみると、耐久性が高く、長期間使用可能なカミソリ等を提供できる。また、生産性が向上することで、より安価なカミソリ等を提供することができる。
【0010】
さらに、SDGsの観点からみると、長期間利用可能な、耐久性に優れたカミソリ等を提供することで、廃棄物の発生を抑制し、持続可能でよりよい世界を作ることに寄与することができる。
(【0011】以降は省略されています)
この特許をJ-PlatPat(特許庁公式サイト)で参照する
関連特許
個人
曲線カッター
4日前
個人
ハサミ
3か月前
個人
円弧状刃の包丁
6か月前
個人
テープカッター
11か月前
有限会社カルチエ
ナイフ
9か月前
個人
理美容はさみ
3か月前
株式会社サボテン
鋏
5か月前
個人
折り畳みナイフ
9か月前
個人
2wayコーナーパンチ
8か月前
コクヨ株式会社
ハサミ
10か月前
個人
剃刀具
12か月前
株式会社文創
切創抑制器具
10か月前
株式会社和田機械
栗切り機の刃物
1か月前
個人
自動曲機とそれに使用する刃物
12日前
やおき工業株式会社
鋏
3か月前
株式会社フタミ
表面処理装置
5か月前
第一精工株式会社
ナイフ
12か月前
デュプロ精工株式会社
加工装置
2か月前
大創株式会社
打抜き部受支装置
10か月前
トヨタ自動車株式会社
切断装置
8か月前
株式会社日本キャリア工業
食料切断装置
3か月前
独立行政法人 国立印刷局
打ち抜き装置
1か月前
株式会社日本キャリア工業
食料切断装置
3か月前
株式会社日本キャリア工業
食料切断装置
3か月前
株式会社日本キャリア工業
食料切断装置
4か月前
株式会社日本キャリア工業
食料切断装置
4か月前
船井電機株式会社
電動器具
2か月前
株式会社日本キャリア工業
食料切断装置
8か月前
株式会社日本キャリア工業
食料切断装置
4か月前
鈴茂器工株式会社
棒状食材切断装置
7か月前
デュプロ精工株式会社
用紙積載装置
7か月前
THESTANDBYME合同会社
鋏
3か月前
西川ゴム工業株式会社
薪割り具
8か月前
グンゼ株式会社
切断方法及び切断装置
12か月前
本田技研工業株式会社
切断装置
8日前
近畿刃物工業株式会社
切断加工用刃物
4か月前
続きを見る
他の特許を見る