TOP
|
特許
|
意匠
|
商標
特許ウォッチ
Twitter
他の特許を見る
公開番号
2025154340
公報種別
公開特許公報(A)
公開日
2025-10-10
出願番号
2024057269
出願日
2024-03-29
発明の名称
磁石飛散防止保護管、永久磁石同期電動モーターの回転子、及び永久磁石同期電動モーター
出願人
日本製鉄株式会社
代理人
弁理士法人太陽国際特許事務所
主分類
H02K
1/278 20220101AFI20251002BHJP(電力の発電,変換,配電)
要約
【課題】空気中で回転するモーターに用いられた際に、回転にともなう空気との摩擦による発熱が抑制される磁石飛散防止保護管の提供。
【解決手段】永久磁石同期電動モーターにおける永久磁石の外周面を覆う円筒形状の磁石飛散防止保護管であって、炭素繊維強化樹脂から成り、鏡面加工を施した鋼板に対する、外側表面の回転方向での動摩擦係数が0.3以下である、磁石飛散防止保護管。
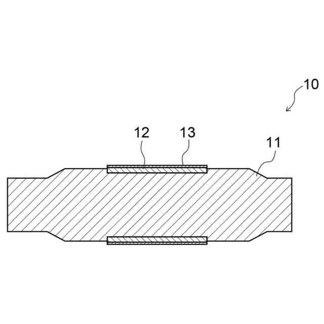
【選択図】図1
特許請求の範囲
【請求項1】
永久磁石同期電動モーターにおける永久磁石の外周面を覆う円筒形状の磁石飛散防止保護管であって、
炭素繊維強化樹脂から成り、
鏡面加工を施した鋼板に対する、外側表面の回転方向での動摩擦係数が0.3以下である、
磁石飛散防止保護管。
続きを表示(約 380 文字)
【請求項2】
前記動摩擦係数が0.1以下である、請求項1に記載の磁石飛散防止保護管。
【請求項3】
前記円筒形状の磁石飛散防止保護管が軸方向または回転方向において2つ以上に分割されている、請求項1に記載の磁石飛散防止保護管。
【請求項4】
回転子軸と、
前記回転子軸の外周面に貼り付けられた永久磁石と、
前記永久磁石の外周面の全面を覆う、請求項1~請求項3のいずれか一項に記載の磁石飛散防止保護管と、
を有する、永久磁石同期電動モーターの回転子。
【請求項5】
前記永久磁石同期電動モーターにおいて10000rpm以上で回転する、請求項4に記載の永久磁石同期電動モーターの回転子。
【請求項6】
請求項4に記載の回転子を有する、永久磁石同期電動モーター。
発明の詳細な説明
【技術分野】
【0001】
本開示は、磁石飛散防止保護管、永久磁石同期電動モーターの回転子、及び永久磁石同期電動モーターに関する。
続きを表示(約 2,000 文字)
【背景技術】
【0002】
昨今、各種電気機器の小型、軽量、高出力化に伴い、永久磁石同期電動モーターの採用が広がっている。高出力化には、ローターの高速回転が有効であり、そのためモーターおよびその部品には、高速回転時の遠心力に耐えることができる材料設計が求められる。高出力の永久磁石同期電動モーターでは、ローターシャフト表面に磁石を貼付し、遠心力による磁石の飛散を防止するために磁石外周面に保護管が配置される。この保護管は、モーターの軽量化の観点、及び上述のように遠心力に耐えられる高強度素材との観点から、例えば炭素繊維強化樹脂(Carbon Fiber Reinforced Plastics:CFRP)が採用されている。
【0003】
例えば、特許文献1には、(A)ポリエーテル芳香族ケトン樹脂と、(B)平均繊維長が1mm以上の炭素繊維と、(C)平均繊維長が300μm以下の強化繊維とを含有する樹脂組成物の成形体からなる湿式潤滑用摺動部材において、前記摺動部材の表面粗さ(Sz)が60μm以下であり、前記摺動部材の曲げ弾性率が12GPa以上である、湿式潤滑用摺動部材、が開示されている。
【0004】
また、特許文献2には、保持器のポケットの内面と、被案内面の表面粗さは、算術平均粗さRaが1.0~9.8μmであり、最大高さRtが10.1~102.9μmに設定された、工作機械の主軸等、高速回転する部材に用いられる転がり軸受、が開示されている。
【0005】
また、特許文献3には、軌道輪である内輪および外輪と、この内輪および外輪間に介在する転動体と、転動体を回転自在に保持する保持器とを備えてなり、風力発電装置においてブレードが取り付けられた主軸を支持するための主軸支持用転がり軸受であって、上記保持器の表面を直接被覆する第1層と、第(n-1)層を被覆する第n層(ただし、nは2以上の整数)とからなる複層被膜が形成されてなり、上記第1層は充填材が配合された合成樹脂で構成され、上記第2層以降の層は無充填の合成樹脂または固体潤滑剤が配合された合成樹脂で形成する風力発電装置用転がり軸受、が開示されている。
【0006】
また、特許文献4には、軌道輪である内輪および外輪と、この内輪および外輪間に介在する転動体と、転動体を回転自在に保持する保持器とを備えてなり、風力発電装置においてブレードが取り付けられた主軸を支持するための主軸支持用転がり軸受であって、上記保持器の表面に、合成樹脂にフラーレンと、二硫化モリブデンおよび二硫化タングステンから選ばれた少なくとも1つの二硫化物とが含まれる樹脂組成物からなる被膜が形成され、上記樹脂組成物全体に対して、上記フラーレンが0.1~10容量%、上記二硫化物が0.5~20容量%含まれる風力発電装置の主軸支持用転がり軸受、が開示されている。
【0007】
また、特許文献5には、自動車用オルタネータのステータに対面して回転するロータおよびその回転軸を支持する深溝玉軸受などの転がり軸受であり、この転がり軸受の転動体を保持する保持器を重合度60~120のポリアミド9T樹脂および繊維状充填材を含有する樹脂組成物で形成し、前記転動体が摺接する保持器の摺接面にはディンプルを散在するように形成して保油性を持たせたオルタネータ用転がり軸受、が開示されている。
【0008】
また、特許文献6には、内輪及び外輪の軌道面に、表面粗さ(Ra)が0.05μm以上2.0μm以下となるようなショットピーニング処理が施されたショットピーニング層を介して、潤滑油Jに対する接触角θが50°以上となるような撥油処理が施された撥油性層を形成する転がり軸受、が開示されている。
【0009】
また、特許文献7には、質量%で、C:0.01%以下、Si:4%以下、Mn:2%以下、Al:2%以下、P:0.1%以下、S:0.02%以下、N:0.005%以下、残部がFe及び不可避不純物であり、結晶粒径d(μm)がステーターコアのコアバック部の内外径比(内径Di/外径Do)と「d≦20+100×(Di/Do)2…(1)」(ここに、Diはステーターコア内径(コアバック部)、Doはステーターコア外径である)の関係を満たすヘリカル加工用コア材料、が開示されている。
【先行技術文献】
【特許文献】
【0010】
特開2022-76249号公報
特開2014-095469号公報
特開2009-156295号公報
特開2009-133403号公報
特開2008-144777号公報
特開2007-100759号公報
特開2005-187861号公報
【発明の概要】
【発明が解決しようとする課題】
(【0011】以降は省略されています)
この特許をJ-PlatPat(特許庁公式サイト)で参照する
関連特許
日本製鉄株式会社
橋脚構造
2日前
日本製鉄株式会社
腐食センサ
2日前
日本製鉄株式会社
管理システム
2日前
日本製鉄株式会社
高Ni合金鋼
2日前
日本製鉄株式会社
高Ni合金鋼
2日前
日本製鉄株式会社
鉄鉱石の選別方法
2日前
日本製鉄株式会社
スラグの処理方法
3日前
日本製鉄株式会社
金属部品の製造方法
2日前
日本製鉄株式会社
溶鋼の脱窒処理方法
2日前
日本製鉄株式会社
フェライト系ステンレス鋼板
2日前
日本製鉄株式会社
腐食センサ及び腐食測定方法
2日前
日本製鉄株式会社
ワカメ藻体及びその育成方法
2日前
日本製鉄株式会社
鋼管の連結構造および鋼管杭
2日前
日本製鉄株式会社
鋼管の連結構造および鋼管杭
2日前
日本製鉄株式会社
橋脚構造及び橋脚構造の施工方法
2日前
日本製鉄株式会社
護岸構造及び護岸構造の施工方法
3日前
日本製鉄株式会社
耐摩耗ライナー、耐摩耗ライナーの製造方法
2日前
日本製鉄株式会社
表面処理鋼板およびそれを用いた自動車用部材
2日前
日本製鉄株式会社
判定方法、判定装置、部分鋼材生成方法及び部分鋼材
2日前
日本製鉄株式会社
鉄イオン供給施肥材内包材料、鉄イオン供給方法及び藻場造成方法
2日前
日本製鉄株式会社
プレス成形体の設計方法、プレス成形体の設計装置、及びプログラム
2日前
日本製鉄株式会社
水冷パイプを被覆する断熱構造、並びに前記断熱構造の施工方法及び補修方法
2日前
日本製鉄株式会社
耐粒界腐食性に優れた、高Ni合金材、高Ni合金板およびそれらの製造方法
3日前
日本製鉄株式会社
磁石飛散防止保護管、永久磁石同期電動モーターの回転子、及び永久磁石同期電動モーター
2日前
日鉄ソリューションズ株式会社
情報処理システム、情報処理装置、情報処理方法、及びプログラム
3日前
株式会社アイシン
ロータ
2日前
株式会社FUJI
制御盤
13日前
西部電機株式会社
充電装置
5日前
西部電機株式会社
充電装置
5日前
日本精機株式会社
サージ保護回路
5日前
トヨタ自動車株式会社
固定子
3日前
トヨタ自動車株式会社
回転子
9日前
個人
連続ガウス加速器形磁力増幅装置
5日前
トヨタ自動車株式会社
製造装置
3日前
ミサワホーム株式会社
居住設備
13日前
東京応化工業株式会社
発電装置
17日前
続きを見る
他の特許を見る