TOP
|
特許
|
意匠
|
商標
特許ウォッチ
Twitter
他の特許を見る
10個以上の画像は省略されています。
公開番号
2025152637
公報種別
公開特許公報(A)
公開日
2025-10-10
出願番号
2024054626
出願日
2024-03-28
発明の名称
水冷パイプを被覆する断熱構造、並びに前記断熱構造の施工方法及び補修方法
出願人
日本製鉄株式会社
,
大光炉材株式会社
代理人
個人
,
個人
主分類
F27D
1/12 20060101AFI20251002BHJP(炉,キルン,窯;レトルト)
要約
【課題】 施工が簡便であり、分割ブロック接合面近傍の組織収縮による応力が集中しにくく、亀裂の発生しづらい断熱構造、並びにその施工方法及び補修方法を提供する。
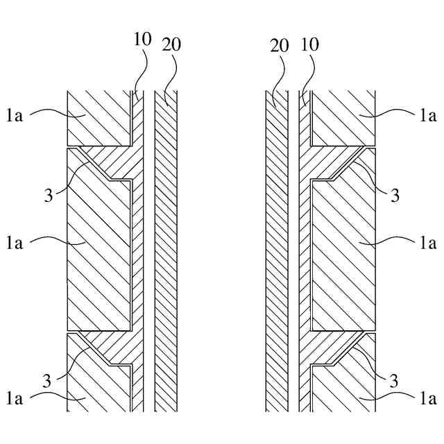
【解決手段】 水冷パイプの周囲を囲むように軸方向に連接して設置された複数の環状ブロックと、前記複数の環状ブロックと前記水冷パイプとの間に充填された不定形耐火物が硬化してなる支持構造体とを備えた水冷パイプを被覆する断熱構造であって、前記環状ブロックは、環状に組み合わせた2個以上の分割ブロックからなり、
前記支持構造体から分離可能であり、内周面に前記支持構造体によって長手方向の支持と径方向への拘束を働かせるための凹凸構造を有することを特徴とする水冷パイプを被覆する断熱構造。
【選択図】図2
特許請求の範囲
【請求項1】
水冷パイプの周囲を囲むように軸方向に連接して設置された複数の環状ブロックと、前記複数の環状ブロックと前記水冷パイプとの間に充填された不定形耐火物が硬化してなる支持構造体とを備えた水冷パイプを被覆する断熱構造であって、前記環状ブロックは、環状に組み合わせた2個以上の分割ブロックからなり、前記支持構造体から分離可能であり、内周面に前記支持構造体によって長手方向の支持と径方向への拘束を働かせるための凹凸構造を有することを特徴とする水冷パイプを被覆する断熱構造。
続きを表示(約 1,000 文字)
【請求項2】
前記分割ブロックが内周面に長手方向に対する支持を働かせるための凹構造、及び内周面に径方向への拘束を働かせるための凸構造を有することを特徴とする
請求項1記載の水冷パイプを被覆する断熱構造。
【請求項3】
前記凸構造が蟻継ぎであることを特徴とする請求項2記載の水冷パイプを被覆する断熱構造。
【請求項4】
水冷パイプを被覆する断熱構造の施工方法であって、2個以上の分割ブロックを焼失する固定具で施工時に外周側から固定し環状に組み合わせて環状ブロックを形成する工程と、前記複数の環状ブロックを前記水冷パイプの周囲を囲むように軸方向に連接して設置する工程と、前記複数の環状ブロックと前記水冷パイプとの間に不定形耐火物を充填及び硬化させ不定形耐火物からなる支持構造体を形成する工程とを有し、前記分割ブロックは、内周面に前記不定形耐火物によって長手方向に対する支持と径方向に対する拘束を働かせるための凹凸構造を有し、同一環状に属する複数の分割ブロック間には少なくとも二つ接着されていない目地を有することを特徴とする水冷パイプを被覆する断熱構造の施工方法。
【請求項5】
前記分割ブロックが内周面に長手方向に対する支持を働かせるための凹構造、及び内周面に径方向への拘束を働かせるための凸構造を有することを特徴とする請求項4記載の水冷パイプを被覆する断熱構造の施工方法。
【請求項6】
前記凸構造が蟻継ぎであることを特徴とする請求項5記載の水冷パイプを被覆する断熱構造の施工方法。
【請求項7】
請求項1~3のいずれかに記載の断熱構造を補修する方法であって、補修対象の分割ブロックを解体することで取り除く工程と、前記取り除いた分割ブロックに置換して、補修対象の分割ブロックより数を増やした補修用分割ブロックを挿入して環状に組み合わせる工程とを有し、同一環状に属する複数の分割ブロック間には少なくとも二つ接着されていない目地を有することを特徴とする水冷パイプを被覆する断熱構造の補修方法。
【請求項8】
前記支持構造体による径方向への拘束が、分割ブロックの内周面に設けられた蟻継ぎ構造を有する凸構造によって付与されることを特徴とする請求項7記載の水冷パイプを被覆する断熱構造の補修方法。
発明の詳細な説明
【技術分野】
【0001】
本発明は、加熱炉や溶鉱炉、熱処理炉等で使用される水冷パイプを被覆する筒状の断熱構造、並びに前記断熱構造の施工方法及び補修方法に関する。
続きを表示(約 1,500 文字)
【背景技術】
【0002】
加熱炉等の水冷パイプに施工される筒状の被覆断熱材は、断熱材の脱落やせり出し等を防止するため、多くの場合、水冷パイプに溶接されたスタッドによって支持されている。
【0003】
一方で断熱材は部分的に損耗することがあり、部分補修を可能とする支持構造が望まれている。しかし断熱材をスタッドによって支持していると、損耗している部位を解体する際にスタッドごと解体せねばならず、また補修の際は再度スタッドをパイプに溶接する必要があり、作業効率が悪かった。
【0004】
加えてスタッドは熱損失が大きく、また炉全体では数千本を溶接する必要があるため、操業、施工作業の観点からもスタッドを用いない支持構造が求められている。
【0005】
スタッドを用いない支持構造として、特許文献1(特開2020-091087号)では、まず組み合わせると環状になる分割ブロックを水冷パイプを囲うように設置し、続いて水冷パイプと環状ブロックの間に不定形耐火物を流し込む断熱構造が開示されている。環状ブロックの上面には勾配があり、ブロックを積み重ねるとテーパー状の空洞ができる。この空洞に不定形耐火物が充填され、硬化することで、水冷パイプの長手方向(通常は縦方向)の支持構造体が出来上がる。径方向に対する支持は、例えば、ボルトナットやワイヤーのように、ブロックの外周側から固定する方法が開示されている。固定具を外すことで損耗したブロックを引き抜くことができるので、交換補修が可能である。
【0006】
特許文献1に記載の支持構造は、スタッドを用いずとも断熱性耐火物を支持することが可能であり、溶接を必要とせず、かつブロックパーツごとの支持構造となっているため、部分解体や部分補修が可能である。
【先行技術文献】
【特許文献】
【0007】
特開2020-091087号公報
特開2013-112832号公報
特開2018-021624号公報
【発明の概要】
【発明が解決しようとする課題】
【0008】
しかしながら特許文献1に記載の支持構造には以下の課題があることが分かった。すなわち、径方向の拘束をボルトナット、ワイヤー等の固定具で行った場合、流し込んだ不定形耐火物が漏れないよう前記固定具で強く固定する必要があるが、このような固定作業はスタッド溶接ほどではないが手間であり、使用時に高温雰囲気に晒されるので固定具が固着することがあった。
【0009】
また、組み合わせると環状となる分割ブロックは、膨張収縮による応力が分割ブロックそれぞれの中央部に集中しやすい構造であり、中央部に亀裂が発生しやすいことが知られている。しかし特許文献1に記載の支持構造では従来の中央部とは別の個所、外部固定具と接する部分に亀裂が発生することがあった。特に加熱炉内のバーナー付近に設置したブロックはその他の個所に設置したブロックよりも高温雰囲気に晒されやすいため、この高温雰囲気に晒されたブロックにおいて亀裂が顕著に発生していた。
【0010】
従って、本発明の目的は、施工が簡便であり、分割ブロック接合面近傍の組織収縮による応力が集中しにくく、亀裂の発生しづらい断熱構造及びそれに用いられる分割ブロック、並びに前記断熱構造の施工方法及び補修方法を提供することである。
【課題を解決するための手段】
(【0011】以降は省略されています)
この特許をJ-PlatPat(特許庁公式サイト)で参照する
関連特許
日本製鉄株式会社
剪断機
14日前
日本製鉄株式会社
鋼部品
5日前
日本製鉄株式会社
床構造
14日前
日本製鉄株式会社
ボルト
14日前
日本製鉄株式会社
床構造
14日前
日本製鉄株式会社
鋼部品
5日前
日本製鉄株式会社
ボルト
1か月前
日本製鉄株式会社
構造部材
24日前
日本製鉄株式会社
管理装置
1か月前
日本製鉄株式会社
橋脚構造
3日前
日本製鉄株式会社
耐火構造物
26日前
日本製鉄株式会社
鍛鋼ロール
4日前
日本製鉄株式会社
鍛鋼ロール
4日前
日本製鉄株式会社
耐火構造物
26日前
日本製鉄株式会社
腐食センサ
3日前
日本製鉄株式会社
リクレーマ
1か月前
日本製鉄株式会社
耐火構造物
26日前
日本製鉄株式会社
学習システム
6日前
日本製鉄株式会社
管理システム
3日前
日本製鉄株式会社
高Ni合金板
1か月前
日本製鉄株式会社
高Ni合金鋼
3日前
日本製鉄株式会社
転炉精錬方法
24日前
日本製鉄株式会社
高Ni合金鋼
3日前
日本製鉄株式会社
ステンレス鋼板
1か月前
日本製鉄株式会社
高炉の操業方法
5日前
日本製鉄株式会社
高炉の操業方法
1か月前
日本製鉄株式会社
高炉の冷却構造
1か月前
日本製鉄株式会社
溶鉄の製造方法
5日前
日本製鉄株式会社
高炉の操業方法
1か月前
日本製鉄株式会社
溶鉄の製造方法
1か月前
日本製鉄株式会社
合成梁及び床構造
24日前
日本製鉄株式会社
金属材の製造方法
5日前
日本製鉄株式会社
焼結鉱の製造方法
24日前
日本製鉄株式会社
金属材の製造方法
10日前
日本製鉄株式会社
鉄道車両用の台車
6日前
日本製鉄株式会社
合成梁及び床構造
24日前
続きを見る
他の特許を見る