TOP
|
特許
|
意匠
|
商標
特許ウォッチ
Twitter
他の特許を見る
公開番号
2025153996
公報種別
公開特許公報(A)
公開日
2025-10-10
出願番号
2024056748
出願日
2024-03-29
発明の名称
耐摩耗ライナー、耐摩耗ライナーの製造方法
出願人
日本製鉄株式会社
代理人
個人
,
個人
,
個人
,
個人
,
個人
主分類
C21B
7/20 20060101AFI20251002BHJP(鉄冶金)
要約
【課題】セラミックスや超硬合金等でできた耐摩耗強化材と、耐摩耗性合金からなるマトリックス合金で構成される耐摩耗ライナーにおいて、製造過程における耐摩耗ライナーのマトリックスの割れを抑制しつつ耐摩耗性を向上させることを課題とし、そのような耐摩耗ライナーを提供することを目的とする。
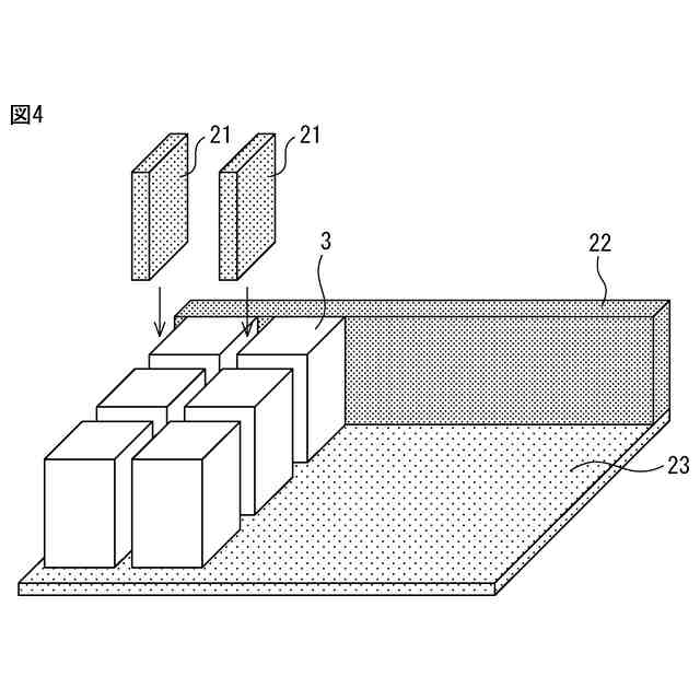
【解決手段】ライナー表面側のマトリックスとなる合金が鋳造成形板材(例えば鋼板)とし、強化材と鋳造成形板材をライナーケース内に配置しHIP処理することで、マトリックスの割れ発生を抑制できるだけでなく、従来よりもマトリックスの幅を薄くでき、表面での耐摩耗強化材の面積率を高くすることができるので耐摩耗性も向上する。
【選択図】図4
特許請求の範囲
【請求項1】
1種以上の合金からなるマトリックス中に複数の耐摩耗強化材が配置された耐摩耗ライナーであって、
前記耐摩耗強化材の周囲の前記マトリックスにおいて、少なくとも前記耐摩耗ライナーの表面側が鋳造成形板材であることを特徴とする耐摩耗ライナー。
続きを表示(約 980 文字)
【請求項2】
前記マトリックスにおける前記耐摩耗ライナーの表面側の鋳造成形板材が、高Cr合金、ハイス鋼、耐摩耗鋼の1種または2種以上である請求項1に記載の耐摩耗ライナー。
【請求項3】
前記マトリックスにおいて、前記耐摩耗ライナーの表面側となる部分以外の部分が、ステンレス鋼または軟鋼である請求項2に記載の耐摩耗ライナー。
【請求項4】
前記耐摩耗ライナー表面において、前記耐摩耗強化材の面積率が65%以上である請求項1~3の何れか一項に記載の耐摩耗ライナー。
【請求項5】
前記マトリックスの幅が3.0mm以上である請求項1~3の何れか一項に記載の耐摩耗ライナー。
【請求項6】
前記耐摩耗強化材がSi
3
N
4
、SiC、およびAl
2
O
3
のうち1種または2種以上である請求項1~3の何れか一項に記載の耐摩耗ライナー。
【請求項7】
前記耐摩耗強化材が多角柱である請求項1~3の何れか一項に記載の耐摩耗ライナー。
【請求項8】
前記多角柱が立方体または直方体である請求項7に記載の耐摩耗ライナー。
【請求項9】
請求項1~3の何れか一項に記載の耐摩耗ライナーの製造方法であって、
少なくともライナーケースと、1種以上の耐摩耗強化材と、1種以上の合金を鋳造後板状に成形加工した鋳造成形板材を準備する準備ステップと、
前記ライナーケースの内部に、複数の前記耐摩耗強化材と、前記耐摩耗強化材の周囲にマトリックスとなる前記鋳造成形板材を前記ライナーの表面に接するように配置することを含むカプセリングステップと、
複数の前記耐摩耗強化材と前記鋳造成形板材が配置された前記ライナーケースをHIP処理するHIPステップを含む耐摩耗ライナーの製造方法。
【請求項10】
前記カプセリングステップにおいて、前記マトリックスにおける前記耐摩耗ライナーの表面側の鋳造成形板材が、高Cr合金、ハイス鋼、耐摩耗鋼の1種または2種以上からなる鋳造成形板材を配置することを含む請求項9に記載の耐摩耗ライナーの製造方法。
(【請求項11】以降は省略されています)
発明の詳細な説明
【技術分野】
【0001】
本発明は、耐摩耗ライナーおよび耐摩耗ライナーの製造方法に関する。
続きを表示(約 1,400 文字)
【背景技術】
【0002】
粉体や鉱石などを取り扱う各種工業においては、粉体や鉱石などの輸送や貯蔵の際に摩耗により設備の損傷が進み、結果的に設備が機能しなくなって、設備の交換が必要となる。交換頻度が高いと、操業中断時間が増加して生産性が悪化する。これを防止するため、摩耗の生じやすい部分に耐摩耗ライナーを配置し、摩耗の進行を抑制し、且つ設備を保護する処置がとられている。
【0003】
例えば、製鉄所の高炉内にコークスや鉄鉱石などの鉄鋼原料を装入する旋回シュートは、鉄鋼原料の衝突と滑動により非常に大きな衝撃を受け、摩耗する。このため、シュート面を保護する耐摩耗ライナーが取付けられている。
【0004】
耐摩耗ライナーは、耐摩耗性合金(例えば耐摩耗鋼、高Cr鋼など)で作られる場合が多い。近年では、耐摩耗性を強化するため、耐摩耗性効果の大きいセラミックス(Si
3
N
4
、SiC、Al
2
O
3
など)や超硬合金等でできた耐摩耗強化材と耐摩耗性金属を複合化した耐摩耗性ライナーが提案されている。
【0005】
例えば特許文献1には、窒化ケイ素セラミックスからなる耐摩耗強化材が表面に露出するように、マトリックスとなる高Cr合金で鋳ぐるみ固定した耐摩耗ライナーが提案されている。
【0006】
特許文献2には、耐摩耗材が炭化タングステンを主成分とする超硬合金とし、母材の材質が高クロム鋳鉄である鋳造複合材が提案されている。
【0007】
特許文献3には、セラミックス製耐摩耗強化材の脱落防止のため、セラミックス製耐摩耗強化材を円錐台状にしてマトリックスとなる耐摩耗性合金に鋳ぐるみ埋め込んだ耐摩耗ライナーが提案されている。
【0008】
特許文献4には、耐摩耗ライナーの製造過程における割れ発生を抑制するため、マトリックス合金を複数の層になるよう形成し、表面が耐摩耗性を有する合金で、その他の層のうち少なくとも一層が軟鋼にすることを提案している。
【先行技術文献】
【特許文献】
【0009】
特開2010-58155号公報
特開2009-6347号公報
特開2020-180343号公報
特開2023-58289号公報
【発明の概要】
【発明が解決しようとする課題】
【0010】
特許文献1~特許文献3のように、セラミックスや超硬合金等の耐摩耗強化材を耐摩耗性合金中に鋳ぐるみで固定する場合、鋳造やHIP(Hot Isostatic Press:熱間静水圧プレス)法で製造される。しかし、セラミックスや超硬合金等とマトリックスとなる合金との熱膨張率が異なることから、冷却中に熱応力が発生し、マトリックス合金に割れ(クラック)が生じ易いという問題がある。このように割れが発生すると耐衝撃性が極端に低下し、ライナー自体が破損するだけでなく、ライナーの摩耗の加速により耐摩耗性ライナーとしての寿命が短くなってしまう。さらに、微小クラックが発生した場合は検査でも発見しにくいため、知らずに設備に取付けてしまい、結果として耐摩耗ライナーの寿命が短くなるだけでなく設備故障の原因となる場合もある。
(【0011】以降は省略されています)
この特許をJ-PlatPat(特許庁公式サイト)で参照する
関連特許
日本製鉄株式会社
線材
9日前
日本製鉄株式会社
剪断機
24日前
日本製鉄株式会社
鋼部品
15日前
日本製鉄株式会社
床構造
24日前
日本製鉄株式会社
床構造
24日前
日本製鉄株式会社
鋼部品
15日前
日本製鉄株式会社
ボルト
24日前
日本製鉄株式会社
管理装置
1か月前
日本製鉄株式会社
溶接継手
7日前
日本製鉄株式会社
構造部材
1か月前
日本製鉄株式会社
橋脚構造
13日前
日本製鉄株式会社
リクレーマ
1か月前
日本製鉄株式会社
腐食センサ
13日前
日本製鉄株式会社
耐火構造物
1か月前
日本製鉄株式会社
耐火構造物
1か月前
日本製鉄株式会社
耐火構造物
1か月前
日本製鉄株式会社
鍛鋼ロール
14日前
日本製鉄株式会社
鍛鋼ロール
14日前
日本製鉄株式会社
管理システム
13日前
日本製鉄株式会社
高Ni合金板
1か月前
日本製鉄株式会社
高Ni合金鋼
13日前
日本製鉄株式会社
高Ni合金鋼
13日前
日本製鉄株式会社
学習システム
16日前
日本製鉄株式会社
転炉精錬方法
1か月前
日本製鉄株式会社
高炉の操業方法
15日前
日本製鉄株式会社
高炉の冷却構造
1か月前
日本製鉄株式会社
溶鉄の製造方法
1か月前
日本製鉄株式会社
高炉の操業方法
1か月前
日本製鉄株式会社
溶鉄の製造方法
15日前
日本製鉄株式会社
高炉の操業方法
1か月前
日本製鉄株式会社
原油油槽用鋼材
9日前
日本製鉄株式会社
合成梁及び床構造
1か月前
日本製鉄株式会社
金属材の製造方法
15日前
日本製鉄株式会社
焼結鉱の製造方法
1か月前
日本製鉄株式会社
合成梁及び床構造
1か月前
日本製鉄株式会社
焼結鉱の製造方法
14日前
続きを見る
他の特許を見る