TOP
|
特許
|
意匠
|
商標
特許ウォッチ
Twitter
他の特許を見る
公開番号
2025153998
公報種別
公開特許公報(A)
公開日
2025-10-10
出願番号
2024056751
出願日
2024-03-29
発明の名称
チョココーティング菓子の製造方法
出願人
株式会社ロッテ
代理人
弁理士法人あい特許事務所
主分類
A23G
1/54 20060101AFI20251002BHJP(食品または食料品;他のクラスに包含されないそれらの処理)
要約
【課題】菓子の大きさや菓子の表面状態にかかわらず、菓子全体を隈無くチョコレートによって覆うための方法が望まれていた。
【解決手段】冷却されたクリームサンド菓子1をネットコンベアによって移送する移送経路の途中部に設けられたコーティング領域において行われるものであり、コーティング領域を移送中のクリームサンド菓子1を、チョコレートが常時流動する状態にされたチョコ沼に浸けることによって、クリームサンド菓子1の周囲を隈無くチョコレートによって覆う。
【選択図】図4
特許請求の範囲
【請求項1】
2枚のケーキの間にクリームを挟んだクリームサンド菓子を製造する工程、
製造されたクリームサンド菓子を冷却する第1冷却工程、
冷却されたクリームサンド菓子をチョコレートで覆うチョココーティング工程、及び
チョコレートで覆われたクリームサンド菓子を冷却する第2冷却工程、を含むチョココーティング菓子の製造方法であって、
前記チョココーティング工程は、冷却されたクリームサンド菓子をネットコンベアによって移送する移送経路の途中部に設けられたコーティング領域において行われるものであり、
前記コーティング領域において、上方から流下する溶けたチョコレートを一定深さ貯めたチョコ沼を形成する処理と、
前記チョコ沼のチョコレートが常時流動するように、チョコレートを攪拌しつつ、流下する分量と同量のチョコレートを流出させる処理と、
クリームサンド菓子が前記チョコ沼に浸かるように、ネットコンベアでクリームサンド菓子を移送する処理と、
を含むことを特徴とする、チョココーティング菓子の製造方法。
続きを表示(約 260 文字)
【請求項2】
前記コーテイング領域において、上方から流下する溶けたチョコレートをクリームサンド菓子に掛ける処理を含む、請求項1に記載のチョココーティング菓子の製造方法。
【請求項3】
前記コーティング領域において行われる前記チョココーティング工程は、
ネットコンベアによって移送中のクリームサンド菓子を押えネットによって押えてネットコンベアとの間に挟み、挟んだクリームサンド菓子をチョコ沼に沈めてチョコ沼内を移動させることを含む、請求項1または2に記載のチョココーティング菓子の製造方法。
発明の詳細な説明
【技術分野】
【0001】
本発明は、菓子をチョコレートによって覆う方法に関する。
続きを表示(約 1,500 文字)
【背景技術】
【0002】
従来より、菓子の表面に液状のチョコレートをコーティングするためのエンローバーと称される機械が公知である(特許文献1、非特許文献1)。
【先行技術文献】
【特許文献】
【0003】
実開昭59-110590号公報
【非特許文献】
【0004】
tanizawakaki.co.jp/chocolate/enrober/
【発明の概要】
【発明が解決しようとする課題】
【0005】
従来公知のエンローバーにより、菓子をチョコレートで覆う場合において、菓子の大きさや菓子の表面状態等により、チョコレートが菓子の表面の一部に付着しない場合があり、コーティング不良が生じるという課題があった。
【0006】
本発明は、菓子の大きさや菓子の表面状態にかかわらず、菓子全体を隈無くチョコレートによって覆うための方法を提供することを目的としている。
【0007】
具体的には、本発明の目的は、改良されたチョココーティング菓子の製造方法を提供することにある。
【課題を解決するための手段】
【0008】
本発明は、2枚のケーキの間にクリームを挟んだクリームサンド菓子を製造する工程、製造されたクリームサンド菓子を冷却する第1冷却工程、冷却されたクリームサンド菓子をチョコレートで覆うチョココーティング工程、及びチョコレートで覆われたクリームサンド菓子を冷却する第2冷却工程、を含むチョココーティング菓子の製造方法であって、
前記チョココーティング工程は、冷却されたクリームサンド菓子をネットコンベアによって移送する移送経路の途中部に設けられたコーティング領域において行われるものであり、前記コーティング領域を移送中のクリームサンド菓子に上方から溶けたチョコレートを流下させて掛ける処理と、前記流下したチョコレートを一定深さ貯めてチョコ沼を形成する処理と、前記チョコ沼のチョコレートが常時流動するように、チョコレートを攪拌しつつ、流下してくる分量と同量のチョコレートを流出させる処理と、前記チョコ沼にクリームサンド菓子全体を沈めて移動させ、クリームサンド菓子の周囲を隈無くチョコレートによって覆う処理と、を含むことを特徴とする、チョココーティング菓子の製造方法である。
【発明の効果】
【0009】
本発明によれば、上方から溶けたチョコレートを流下させてコーティング対象の菓子に掛け、かつ、流動するチョコレートが貯まったチョコプールにコーティング対象の菓子を浸ける。これにより、コーティング対象の菓子は、その表面全体が流動する溶けたチョコレートに一定時間の間接触する。そしてコーティング対象の菓子の上面、側面、底面が流動するチョコレートに接触することで、全ての表面にチョコレートが粘着し、コーティング対象の菓子全表面が隈無くチョコレートによって覆われ、コーティングされる。
【図面の簡単な説明】
【0010】
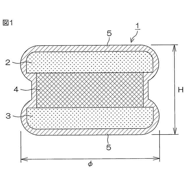
図1は、本発明のチョココーティング対象の菓子の一例を示す図解的な縦断面図である。
図2は、本発明の一実施形態に係るチョココーティング菓子の製造工程のブロック図である。
図3は、本発明の一実施形態に係るチョココーティング菓子の製造装置において、チョココーティング工程を行うエンローバー装置の一例を示す概要図である。
図4は、図3に示すエンローバー装置の要部構成を示す図解図である。
【発明を実施するための形態】
(【0011】以降は省略されています)
この特許をJ-PlatPat(特許庁公式サイト)で参照する
関連特許
個人
健康促進霊芝茶
2か月前
不二製油株式会社
グミ類
2か月前
不二製油株式会社
組成物
1か月前
ライソン株式会社
焙煎機
5か月前
不二製油株式会社
加工食品
3か月前
個人
ヨーグルト等の発酵器
2か月前
不二製油株式会社
油性食品
2か月前
株式会社東洋新薬
経口組成物
1か月前
池田食研株式会社
風味改善剤
5か月前
株式会社東洋新薬
飲料
1か月前
株式会社東洋新薬
経口組成物
5か月前
不二製油株式会社
油脂組成物
3か月前
株式会社ソディック
計量装置
5か月前
株式会社ソディック
計量装置
5か月前
池田食研株式会社
微粉状食品
5か月前
個人
可食性素材からなる容器
20日前
不二製油株式会社
光照射油脂
1か月前
株式会社東洋新薬
経口組成物
3か月前
不二製油株式会社
油脂組成物
2か月前
アサヒ飲料株式会社
飲料
5か月前
奥野製薬工業株式会社
処理方法
1か月前
東ソー株式会社
食品品質保持剤
4か月前
不二製油株式会社
チーズ様食品
5か月前
東洋ライス株式会社
搗精米
3か月前
株式会社ソディック
食品搬送装置
4か月前
個人
発酵あんこの製造方法
1か月前
不二製油株式会社
被覆用油性食品
1か月前
日本メナード化粧品株式会社
飲料
2か月前
株式会社エポック社
絞出具
1か月前
個人
海ぶどうの加工処理方法
18日前
不二製油株式会社
カカオ含有飲食物
1か月前
池田食研株式会社
油脂含有造粒顆粒
2か月前
池田食研株式会社
食品生地用組成物
3か月前
不二製油株式会社
冷凍霜付き抑制剤
2か月前
株式会社寺田製作所
散茶装置
6か月前
個人
天然マンゴー果汁色青汁
5か月前
続きを見る
他の特許を見る