TOP
|
特許
|
意匠
|
商標
特許ウォッチ
Twitter
他の特許を見る
10個以上の画像は省略されています。
公開番号
2025153952
公報種別
公開特許公報(A)
公開日
2025-10-10
出願番号
2024056691
出願日
2024-03-29
発明の名称
ウェイクアップタイマ回路、無線IC、及びウェイクアップタイマ回路の制御方法
出願人
ローム株式会社
代理人
弁理士法人太陽国際特許事務所
主分類
G06F
1/3228 20190101AFI20251002BHJP(計算;計数)
要約
【課題】受信頻度が時間帯によって異なる場合であっても、受信電波を確認する精度を低下させることなく、消費電力を低減する。
【解決手段】ウェイクアップタイマ回路103は、単位時間毎に受信電波を検出する頻度である受信頻度を記録する受信頻度記録回路50と、単位時間毎の受信頻度に応じて、加算値信号を変化させる加算値選択回路60と、加算値信号に応じて、カウント値をインクリメントするタイマカウンタ30と、カウント値と予め定めたカウント満了値とを比較し、カウント値がカウント満了値以上になった場合に、起動信号を出力する比較器40と、を備える。
【選択図】図2
特許請求の範囲
【請求項1】
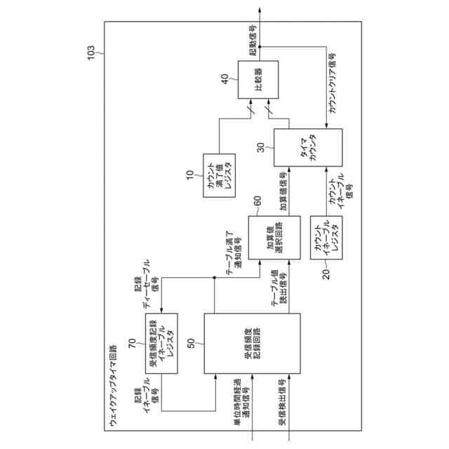
単位時間毎に受信電波を検出する頻度である受信頻度を記録する受信頻度記録回路と、
前記単位時間毎の受信頻度に応じて、加算値信号を変化させる加算値選択回路と、
前記加算値信号に応じて、カウント値をインクリメントするタイマカウンタと、
前記カウント値と予め定めたカウント満了値とを比較し、前記カウント値が前記カウント満了値以上になった場合に、起動信号を出力する比較器と、
を備えたウェイクアップタイマ回路。
続きを表示(約 1,400 文字)
【請求項2】
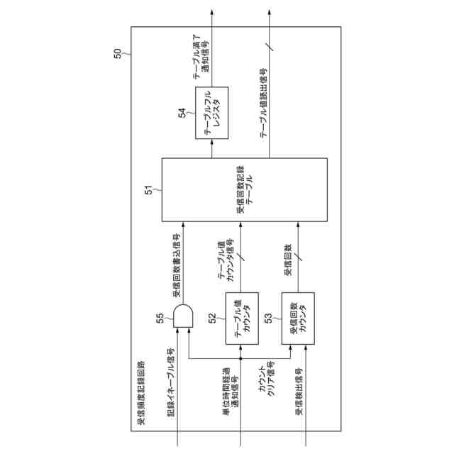
前記受信頻度記録回路は、
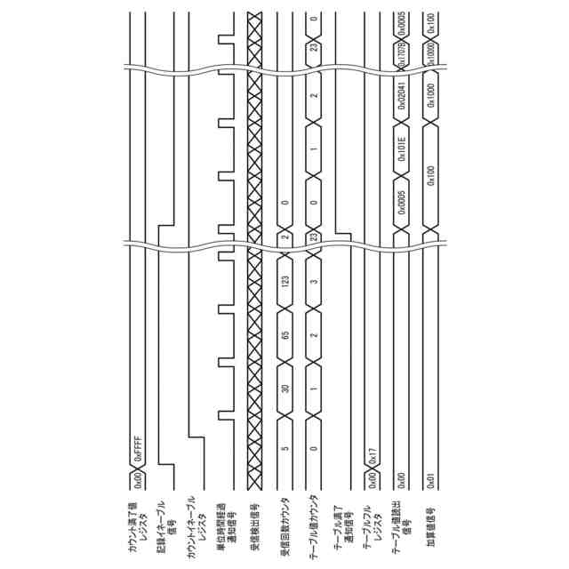
単位時間の経過を通知する信号である単位時間経過通知信号が入力されると、カウントしたテーブル値を示すテーブル値カウンタ信号を出力するテーブル値カウンタと、
受信電波を検出したことを示す受信検出信号及び前記単位時間経過通知信号を入力し、単位時間当たりの受信電波の受信回数を出力する受信回数カウンタと、
前記テーブル値カウンタから入力される前記テーブル値カウンタ信号に応じて、前記受信回数カウンタから入力される前記受信回数を示すテーブル値読出信号を出力する受信回数記録テーブルと、
予め設定された分のデータが前記受信回数記録テーブル内に格納された場合に、テーブル満了通知信号を出力するテーブルフルレジスタと、
を含む、
請求項1に記載のウェイクアップタイマ回路。
【請求項3】
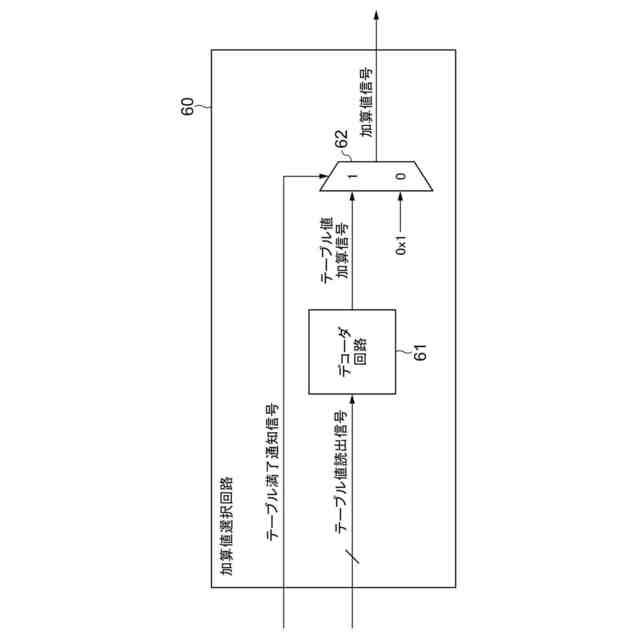
前記加算値選択回路は、
前記受信回数記録テーブルから入力される前記テーブル値読出信号に応じて、テーブル値加算信号を出力するデコーダ回路と、
前記テーブルフルレジスタから入力される前記テーブル満了通知信号がHighの場合に、前記デコーダ回路から入力される前記テーブル値加算信号を加算値信号として選択するセレクタ回路と、
を含む、
請求項2に記載のウェイクアップタイマ回路。
【請求項4】
前記加算値選択回路は、
前記受信回数記録テーブルから入力される前記テーブル値読出信号に応じて、テーブル値加算信号を出力するデコーダ回路と、
閾値が設定された分周閾値レジスタと、
前記テーブル値読出信号の受信回数と、前記分周閾値レジスタに設定された閾値とを比較し、前記受信回数が前記閾値未満である場合に、比較信号を出力する比較器と、
前記比較器から入力される前記比較信号がHighの場合に、前記デコーダ回路から入力される前記テーブル値加算信号を加算値信号として選択する第1セレクタ回路と、
タイマカウンタクロックを入力し、前記タイマカウンタクロックが示すタイマクロックを分周した分周後のタイマクロックを出力するフリップフロップ回路と、
前記比較器から入力される前記比較信号がHighの場合に、前記フリップフロップ回路から入力される分周後のタイマクロックを選択する第2セレクタ回路と、
を含む、
請求項2に記載のウェイクアップタイマ回路。
【請求項5】
請求項1~請求項4の何れか1項に記載のウェイクアップタイマ回路と、
受信電波を検出したことを示す受信検出信号を前記ウェイクアップタイマ回路に出力する受信検出回路と、
単位時間の経過を通知する信号である単位時間経過通知信号を前記ウェイクアップタイマ回路に出力する単位時間経過通知回路と、
を備えた無線IC。
【請求項6】
ウェイクアップタイマ回路が、
単位時間毎に受信電波を検出する頻度である受信頻度を記録し、
前記単位時間毎の受信頻度に応じて、加算値信号を変化させ、
前記加算値信号に応じて、カウント値をインクリメントし、
前記カウント値と予め定めたカウント満了値とを比較し、前記カウント値が前記カウント満了値以上になった場合に、起動信号を出力する、
ウェイクアップタイマ回路の制御方法。
発明の詳細な説明
【技術分野】
【0001】
本発明は、ウェイクアップタイマ回路、無線IC、及びウェイクアップタイマ回路の制御方法に関する。
続きを表示(約 2,000 文字)
【背景技術】
【0002】
無線IC(Integrated Circuit)には、消費電力を低減するためにウェイクアップタイマ回路を搭載しているものがある(例えば、特許文献1を参照)。このウェイクアップタイマ回路は、スリープ状態にあるマイクロコンピュータ(以下、「マイコン」という。)に対し割込信号を出力し、間欠的に受信電波の有無を確認することで消費電力の低減を図る回路である。停止状態にある無線ICは、ウェイクアップタイマ回路に設定した時間になると、送受信可能な状態となり、事前に設定された処理を実施すると再び停止状態に入る。ウェイクアップ後に受信可能状態になるように予め設定しておけば、ウェイクアップ後に電波を受信可能な状態となり、受信電波が存在するとマイコンへ割り込み通知を行う。
【0003】
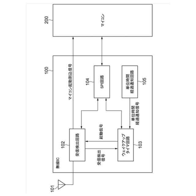
図9は、従来の無線通信機の構成を示すブロック図である。図9に示す無線通信機は、無線IC500と、マイコン600と、を備えている。
【0004】
無線IC500は、アンテナ501と、受信検出回路502と、ウェイクアップタイマ回路503と、SPI(Serial Peripheral Interface)回路504と、を備えている。受信検出回路502及びウェイクアップタイマ回路503の各々は、SPI回路504を介してマイコン600と接続される。受信検出回路502は受信検出信号をウェイクアップタイマ回路503に出力し、ウェイクアップタイマ回路503は起動信号を受信検出回路502に出力する。マイコン600は低消費電力化のため通常はスリープ状態とされ、受信検出回路502からのマイコン起動割込信号で起動する。
【0005】
図10は、従来のウェイクアップタイマ回路503の構成を示すブロック図である。図10に示すウェイクアップタイマ回路503は、カウント満了値レジスタ701と、カウントイネーブルレジスタ702と、タイマカウンタ703と、比較器704と、を備えている。
【0006】
ウェイクアップタイマ回路503の動作を説明する。レジスタ制御はマイコン600がSPI回路504を介して行う。まず、カウント満了値レジスタ701にウェイクアップするカウント満了値を設定する。次に、カウントイネーブルレジスタ702をセットすると、カウントイネーブル信号がタイマカウンタ703へ出力され、カウントイネーブル信号がセットされている間、タイマカウンタ703がインクリメント動作を始める。カウント値は比較器704により適宜カウント満了値レジスタ701のカウント満了値と比較され、比較器704はカウント値がカウント満了値以上になると起動信号を出力し、同時にタイマカウンタ703へカウントクリア信号を出力する。カウントクリア信号によってタイマカウンタ703のカウント値は0に戻る。タイマカウンタ703のカウント値が0になると比較器704からの起動信号は無効となる。
【先行技術文献】
【特許文献】
【0007】
特開2021-106377号公報
【発明の概要】
【発明が解決しようとする課題】
【0008】
上述した従来の回路構成の場合、初期段階では受信頻度がわからないためウェイクアップ周期を短く設定しておき、後から受信頻度に応じたウェイクアップ周期を設定する必要がある。しかしながら、受信頻度は一日の中でも異なるため、受信頻度が高い時間帯にはマイコンによりウェイクアップ周期を短く設定し、受信頻度が低い時間帯にはマイコンによりウェイクアップ周期を長く設定するなどの方法を取る場合がある。この場合、マイコンが常に時間を確認してウェイクアップ周期を設定しに行く必要があり、結果的にマイコンの動作時間は増加してしまう。このため更なる低消費電力化が望まれる。
【0009】
本発明は、上述の事情に鑑みてなされたものであり、受信頻度が時間帯によって異なる場合であっても、受信電波を確認する精度を低下させることなく、消費電力を低減することができるウェイクアップタイマ回路、無線IC、及びウェイクアップタイマ回路の制御方法を提供することを目的とする。
【課題を解決するための手段】
【0010】
上記課題を解決するために、本発明に係るウェイクアップタイマ回路は、単位時間毎に受信電波を検出する頻度である受信頻度を記録する受信頻度記録回路と、前記単位時間毎の受信頻度に応じて、加算値信号を変化させる加算値選択回路と、前記加算値信号に応じて、カウント値をインクリメントするタイマカウンタと、前記カウント値と予め定めたカウント満了値とを比較し、前記カウント値が前記カウント満了値以上になった場合に、起動信号を出力する比較器と、を備える。
(【0011】以降は省略されています)
この特許をJ-PlatPat(特許庁公式サイト)で参照する
関連特許
ローム株式会社
RAM
9日前
ローム株式会社
RAM
9日前
ローム株式会社
光センサ
3日前
ローム株式会社
電源装置
9日前
ローム株式会社
発振回路
9日前
ローム株式会社
半導体装置
9日前
ローム株式会社
半導体装置
9日前
ローム株式会社
半導体装置
9日前
ローム株式会社
半導体装置
9日前
ローム株式会社
半導体装置
9日前
ローム株式会社
半導体装置
10日前
ローム株式会社
暗号化装置
10日前
ローム株式会社
半導体装置
4日前
ローム株式会社
テスト回路
10日前
ローム株式会社
半導体装置
3日前
ローム株式会社
半導体装置
3日前
ローム株式会社
半導体装置
10日前
ローム株式会社
半導体装置
10日前
ローム株式会社
半導体装置
10日前
ローム株式会社
無線通信装置
10日前
ローム株式会社
静電気保護素子
9日前
ローム株式会社
異常検知システム
9日前
ローム株式会社
窒化物半導体装置
5日前
ローム株式会社
検証装置及び検証方法
9日前
ローム株式会社
半導体装置及び補正方法
9日前
ローム株式会社
半導体装置及び半導体チップ
10日前
ローム株式会社
信号伝達装置、電子機器、車両
9日前
ローム株式会社
信号伝達装置、電子機器、車両
5日前
ローム株式会社
半導体装置及びレギュレータ装置
9日前
ローム株式会社
半導体装置、および通信システム
10日前
ローム株式会社
半導体装置、および通信システム
10日前
ローム株式会社
レギュレータ回路を備えた集積回路
9日前
ローム株式会社
スイッチ装置及び負荷駆動システム
10日前
ローム株式会社
音波処理装置、ソナー装置及び車両
10日前
ローム株式会社
映像処理装置および映像処理システム
9日前
ローム株式会社
バッテリ制御装置及びバッテリ制御方法
10日前
続きを見る
他の特許を見る