TOP
|
特許
|
意匠
|
商標
特許ウォッチ
Twitter
他の特許を見る
10個以上の画像は省略されています。
公開番号
2025153326
公報種別
公開特許公報(A)
公開日
2025-10-10
出願番号
2024055758
出願日
2024-03-29
発明の名称
絶縁テープ及び回転電機
出願人
株式会社TMEIC
代理人
弁理士法人酒井国際特許事務所
主分類
H01B
17/56 20060101AFI20251002BHJP(基本的電気素子)
要約
【課題】絶縁テープにおける樹脂含浸を良好に行えるとともに、加工に伴う絶縁不良の発生を抑制して信頼性を向上させる。
【解決手段】実施形態の絶縁テープは、ガラス基材層と、マイカ層と、フィルム基材層と、を備え、ガラス基材層、マイカ層及びフィルム基材層が接着層を介して積層されている。
【選択図】図1
特許請求の範囲
【請求項1】
ガラス基材層と、
マイカ層と、
フィルム基材層と、を備え、
前記ガラス基材層、前記マイカ層及び前記フィルム基材層が接着層を介して積層されている、
絶縁テープ。
続きを表示(約 370 文字)
【請求項2】
前記マイカ層は、前記フィルム基材層に第1の前記接着層を介して積層されている、
請求項1に記載の絶縁テープ。
【請求項3】
前記ガラス基材層は、前記フィルム基材層に第2の前記接着層を介して積層されている、
請求項2に記載の絶縁テープ。
【請求項4】
前記ガラス基材層は、前記マイカ層に第2の前記接着層を介して積層されている、
請求項2に記載の絶縁テープ。
【請求項5】
固定子と、
前記固定子に対して回転可能な回転子と、
前記固定子と前記回転子とのうち少なくとも前記固定子に設けられたコイルと、を備え、
前記コイルは、導電体と、前記導電体を覆った請求項1乃至請求項4の何れか一項に記載の絶縁テープと、を有する、
回転電機。
発明の詳細な説明
【技術分野】
【0001】
本発明の実施形態は、絶縁テープ及び回転電機に関する。
続きを表示(約 1,500 文字)
【背景技術】
【0002】
従来、電動機、発電機等の回転電機に用いられるコイルには、コイル内の導電体に流れる電流が外部に漏洩することを防止する絶縁構造が設けられる。
【0003】
上記のような絶縁構造として、導電体に絶縁テープを巻回する構造が知られている。
この絶縁テープの構成としては、フィルム基材にマイカ材を貼り合わせたフィルム基材マイカテープ及びガラス基材にマイカ材を貼り合わせたガラス基材マイカテープが知られている。
【先行技術文献】
【特許文献】
【0004】
米国特許出願公開第2013/0131218号明細書
【発明の概要】
【発明が解決しようとする課題】
【0005】
しかしながら、フィルム基材マイカテープを使用した場合には、巻回回数が増加すると含浸レジンの浸透性が悪くなるため、主絶縁の樹脂含浸不良が発生するおそれがあった。
また、ガラス基材マイカテープを使用した場合には、テーピング後のコイル成形時においてマイカ材がガラス基材ごと破損し、絶縁不良が発生するおそれがあった。
【0006】
本発明は、上記に鑑みてなされたものであって、絶縁テープにおける樹脂含浸を良好に行えるとともに、加工に伴う絶縁不良の発生を抑制して信頼性を向上させることができる絶縁テープ及び回転電機を提供することにある。
【課題を解決するための手段】
【0007】
実施形態の絶縁テープは、ガラス基材層と、マイカ層と、フィルム基材層と、を備え、ガラス基材層、マイカ層及びフィルム基材層が接着層を介して積層されている。
【発明の効果】
【0008】
本発明の実施形態によれば、絶縁テープにおける樹脂含浸を良好に行えるとともに、加工に伴う絶縁不良の発生を抑制して信頼性を向上させることができる。
【図面の簡単な説明】
【0009】
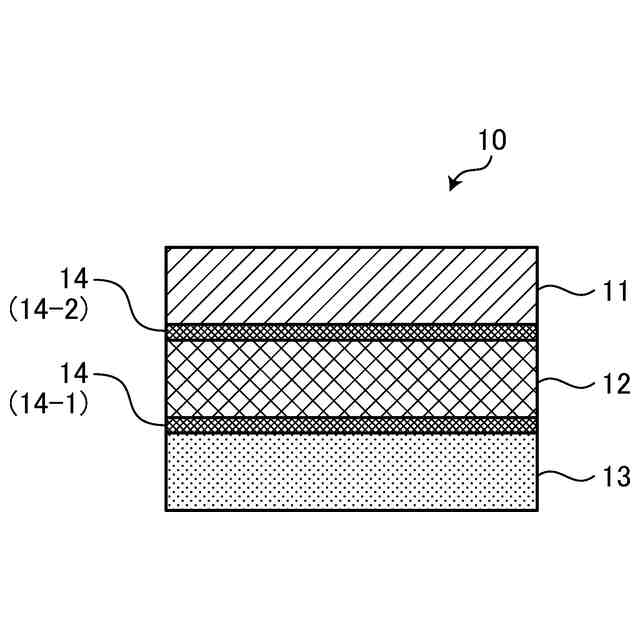
図1は、実施形態に係る第1態様の絶縁テープの断面の概要構成説明図である。
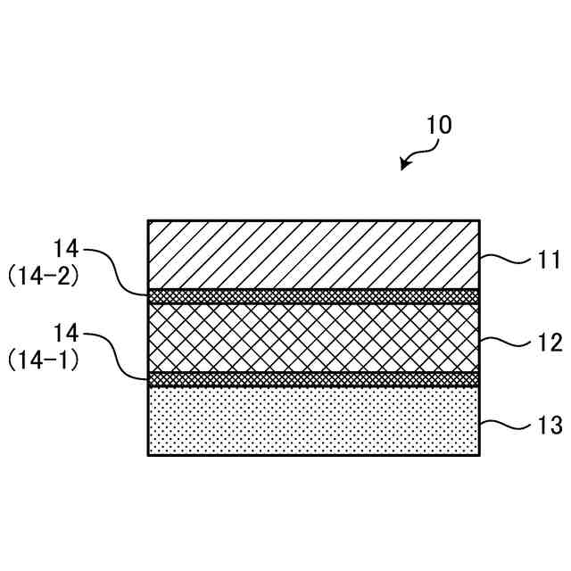
図2は、実施形態に係る第2態様の絶縁テープの断面の概要構成説明図である。
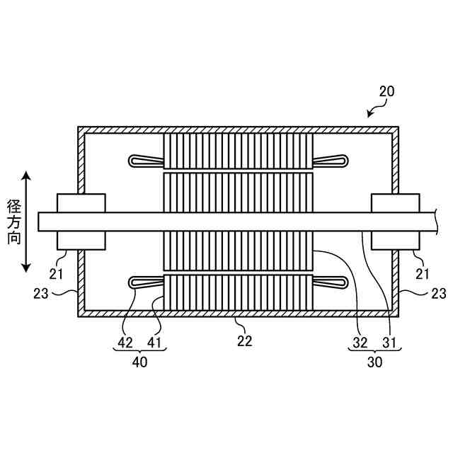
図3は、実施形態に係る回転電機の概要構成断面図である。
図4は、実施形態に係る絶縁コイルの構成を示す斜視図である。
図5は、実施形態に係る絶縁コイルの構成を示す断面図である。
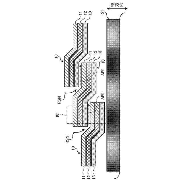
図6は、第1態様の絶縁テープの積層導体における巻回状態の模式説明図である。
図7は、第1態様の絶縁テープの積層導体への巻回時の重なり部分の拡大断面図である。
図8は、第2態様の絶縁テープの積層導体における巻回状態の模式説明図である。
図9は、第2態様の絶縁テープの積層導体への巻回時の重なり部分の拡大断面図である。
図10は、従来の絶縁テープ(フィルム基材マイカテープ)の積層導体における巻回状態の模式説明図である。
図11は、従来の絶縁テープ(フィルム基材マイカテープ)の積層導体への巻回時の重なり部分の拡大断面図である。
図12は、レジン浸透性試験の試験結果の説明図である。
【発明を実施するための形態】
【0010】
ここで、図面を参照して、実施形態について詳細に説明する。
[1]第1態様の絶縁テープ
図1は、実施形態に係る第1態様の絶縁テープの断面の概要構成説明図である。
第1の態様の絶縁テープ10は、ガラス基材層11と、フィルム基材層12と、マイカ層13と、接着層14と、を備えている。
(【0011】以降は省略されています)
この特許をJ-PlatPat(特許庁公式サイト)で参照する
関連特許
株式会社TMEIC
操業監視装置
26日前
株式会社TMEIC
電力変換装置
1か月前
株式会社TMEIC
電極昇降装置
1か月前
株式会社TMEIC
電力変換装置
1か月前
株式会社TMEIC
フリッカ補償装置
23日前
株式会社TMEIC
回転電機用端子箱
1か月前
株式会社TMEIC
電気機器の冷却構造
9日前
株式会社TMEIC
電力変換装置用の筐体
24日前
株式会社TMEIC
絶縁テープ及び回転電機
1か月前
株式会社TMEIC
通信伝文データ照合装置
1か月前
株式会社TMEIC
位相推定器、電力制御装置、電力変換装置、及び位相推定方法
2日前
APB株式会社
蓄電セル
23日前
東ソー株式会社
絶縁電線
25日前
個人
フレキシブル電気化学素子
1か月前
マクセル株式会社
電源装置
17日前
株式会社東芝
端子台
17日前
株式会社ユーシン
操作装置
1か月前
ローム株式会社
半導体装置
1か月前
日新イオン機器株式会社
イオン源
1か月前
ローム株式会社
半導体装置
24日前
株式会社GSユアサ
蓄電装置
18日前
三菱電機株式会社
回路遮断器
4日前
株式会社GSユアサ
蓄電装置
10日前
太陽誘電株式会社
コイル部品
1か月前
株式会社ホロン
冷陰極電子源
1か月前
株式会社GSユアサ
蓄電装置
18日前
株式会社GSユアサ
蓄電設備
1か月前
株式会社GSユアサ
蓄電設備
1か月前
オムロン株式会社
電磁継電器
1か月前
日東電工株式会社
積層体
1か月前
サクサ株式会社
電池の固定構造
1か月前
日本特殊陶業株式会社
保持装置
26日前
トヨタ自動車株式会社
バッテリ
23日前
北道電設株式会社
配電具カバー
23日前
トヨタ自動車株式会社
冷却構造
25日前
トヨタ自動車株式会社
蓄電装置
1か月前
続きを見る
他の特許を見る