TOP
|
特許
|
意匠
|
商標
特許ウォッチ
Twitter
他の特許を見る
公開番号
2025153196
公報種別
公開特許公報(A)
公開日
2025-10-10
出願番号
2024055537
出願日
2024-03-29
発明の名称
情報処理システム、情報処理システムの制御方法、およびプログラム
出願人
長瀬産業株式会社
代理人
弁理士法人 HARAKENZO WORLD PATENT & TRADEMARK
主分類
G06F
16/33 20250101AFI20251002BHJP(計算;計数)
要約
【課題】より精度の高い検出結果を提供することができる。
【解決手段】情報処理システム(100)は、第1の知識領域(4)に属する語句(41)と関連する、第1の知識領域とは異なる第2の知識領域(5)に属する文(51,61)を取得する取得部(2132,2141)と、取得部が取得した文に基づいて、第2の知識領域に属する情報を検索する検索部(2142)と、検索部による検索結果を出力する出力部(215)とを備える。
【選択図】図2
特許請求の範囲
【請求項1】
第1の知識領域に属する語句と関連する、前記第1の知識領域とは異なる第2の知識領域に属する文を取得する取得部と、
前記取得部が取得した前記文に基づいて、前記第2の知識領域に属する情報を検索する検索部と、
前記検索部による検索結果を出力する出力部と、を備える、
情報処理システム。
続きを表示(約 1,000 文字)
【請求項2】
前記文は、前記第2の知識領域において、前記語句が関連する機能、特性、行為、現象、または状態のうちの少なくとも1つを示す文である、
請求項1に記載の情報処理システム。
【請求項3】
前記語句は、前記第1の知識領域において、機能、特性、行為、現象、または状態のうちの少なくとも1つを示す語句である、
請求項1に記載の情報処理システム。
【請求項4】
前記文は、主語、述語を少なくとも含み、
前記検索部は、前記取得部が取得した前記文を構成する要素の少なくとも2つを使って検索する、
請求項1に記載の情報処理システム。
【請求項5】
前記語句は、単語および複合語の少なくとも一方である、
請求項1に記載の情報処理システム。
【請求項6】
前記取得部は、前記第1の知識領域に属する語句と、前記第2の知識領域に属する文であって、前記語句と関連する内容を有する1または複数の文とを関連づけて格納した知識データベースより、検索キーとして指定された前記語句に関連付けられた前記文を取得する、
請求項1に記載の情報処理システム。
【請求項7】
前記取得部は、検索キーとして指定された、前記第1の知識領域に属する前記語句に基づいて、前記第2の知識領域に属する文であって、前記語句と関連する内容を有する1または複数の文を生成する、
請求項1に記載の情報処理システム。
【請求項8】
前記第1の知識領域は、工学領域であり、
前記第2の知識領域は、生物学領域である、
請求項1に記載の情報処理システム。
【請求項9】
第1の知識領域の情報をキーにして、第2の知識領域の情報を検索する情報処理システムの制御方法であって、
前記第1の知識領域に属する語句と関連する、前記第1の知識領域とは異なる前記第2の知識領域に属する文を取得する取得ステップと、
前記取得ステップにて取得した前記文に基づいて、前記第2の知識領域に属する情報を検索する検索ステップと、
前記検索ステップにて得た検索結果を出力する出力ステップとを含む、
情報処理システムの制御方法。
【請求項10】
請求項1~8のいずれか1項に記載の情報処理システムとしてコンピュータを機能させるためのプログラムであって、前記情報処理システムが備える機能をコンピュータに実現させるためのプログラム。
発明の詳細な説明
【技術分野】
【0001】
本発明は、情報処理システム、情報処理システムの制御方法、およびプログラムに関する。
続きを表示(約 1,500 文字)
【背景技術】
【0002】
近年、生物の構造、機能、生産原理等から着想を得て、新規な材料等を開発するバイオミメティクス(生物模倣)が知られている。バイオミメティクスでは、開発したい材料の機能と同じ機能を備える生物を探すために、生物学の文献の検索がよく行われている。例えば、工学分野の用語をキーにして生物学分野の文献を検索する場合、異なる分野間では、同じ機能であっても使用される用語または表現が異なるため、生物学と工学という異なる分野の情報をリンクさせる必要がある。
【0003】
非特許文献1には、オントロジー工学とLinked Data技術に基づき、バイオミメティクス・データベースから新技術の発想につながる情報を探索するためのキーワード探索システムが開示されている。
【先行技術文献】
【非特許文献】
【0004】
人工知能学会論文誌「生物規範工学オントロジーとLinked Dataに基づくキーワード探索」2016年
【発明の概要】
【発明が解決しようとする課題】
【0005】
従来の検索システムに対して、領域を跨ぐ検索技術を向上させる余地がある。本発明の一態様は、異なる知識領域を繋げて情報を検索することが可能な検索システムを提供することができる。
【課題を解決するための手段】
【0006】
上記の課題を解決するために、本発明の一態様に係る情報処理システムは、第1の知識領域に属する語句と関連する、前記第1の知識領域とは異なる第2の知識領域に属する文を取得する取得部と、前記取得部が取得した前記文に基づいて、前記第2の知識領域に属する情報を検索する検索部と、前記検索部による検索結果を出力する出力部と、を備える。
【0007】
上記の課題を解決するために、本発明の一態様に係る情報処理システムの制御方法は、第1の知識領域の情報をキーにして、第2の知識領域の情報を検索する情報処理システムの制御方法であって、前記第1の知識領域に属する語句と関連する、前記第1の知識領域とは異なる前記第2の知識領域に属する文を取得する取得ステップと、前記取得ステップにて取得した前記文に基づいて、前記第2の知識領域に属する情報を検索する検索ステップと、前記検索ステップにて得た検索結果を出力する出力ステップとを含む。
【発明の効果】
【0008】
本発明の一態様によれば、異なる知識領域を繋げて情報を検索することが可能な検索システムを提供することができる。
【図面の簡単な説明】
【0009】
本発明の実施形態1に係る検索システムの構成を示す図である。
図1に示す検索システムの要部構成の一例を示すブロック図である。
第1の知識領域および第2の知識領域の入力画面の一例を示す図である。
語句の入力画面の一例を示す図である。
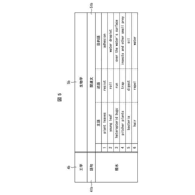
関連文データベースに格納されたデータの一例を説明する図である。
関連文の選択画面の一例を示す図である。
検索結果の文献リストデータの一例を示す図である。
図1に示す検索サーバの制御部が実行する、検索処理の流れの一例を示す図である。
【発明を実施するための形態】
【0010】
以下、本発明の実施形態について、図面を参照して説明する。本実施形態に係る検索システム100(情報処理システム)は、異なる知識領域間に亘る検索に用いられるものである。
(【0011】以降は省略されています)
この特許をJ-PlatPat(特許庁公式サイト)で参照する
関連特許
長瀬産業株式会社
デンプン含有硬化性組成物およびこれを用いたコーティング剤
2か月前
長瀬産業株式会社
情報処理システム、情報処理システムの制御方法、およびプログラム
15日前
長瀬産業株式会社
エルゴチオネイン、アスコルビン酸2-グルコシド、アスコルビン酸、およびそれらの組み合わせの筋分化促進作用
18日前
個人
詐欺保険
11日前
個人
縁伊達ポイン
11日前
個人
地球保全システム
24日前
個人
QRコードの彩色
15日前
個人
冷凍食品輸出支援構造
1か月前
個人
為替ポイント伊達夢貯
1か月前
個人
表変換編集支援システム
1か月前
個人
残土処理システム
17日前
個人
農作物用途分配システム
10日前
個人
知的財産出願支援システム
18日前
個人
タッチパネル操作指代替具
4日前
個人
知財出願支援AIシステム
1か月前
個人
携帯端末障害問合せシステム
3日前
個人
スケジュール調整プログラム
3日前
個人
行動時間管理システム
1か月前
個人
AIによる情報の売買の仲介
1か月前
個人
パスワード管理支援システム
1か月前
個人
食品レシピ生成システム
23日前
個人
パスポートレス入出国システム
1か月前
個人
海外支援型農作物活用システム
1か月前
個人
AIキャラクター制御システム
1か月前
個人
システム及びプログラム
1か月前
株式会社アジラ
進入判定装置
1か月前
株式会社キーエンス
受発注システム
23日前
株式会社キーエンス
受発注システム
23日前
株式会社キーエンス
受発注システム
23日前
日本精機株式会社
施工管理システム
1か月前
個人
音声対話型帳票生成支援システム
1か月前
個人
冷凍加工連携型農場運用システム
1か月前
個人
帳票自動生成型SaaSシステム
18日前
個人
音声・通知・再配達UX制御構造
18日前
キヤノン株式会社
印刷システム
3日前
個人
SaaS型勤務調整支援システム
1か月前
続きを見る
他の特許を見る