TOP
|
特許
|
意匠
|
商標
特許ウォッチ
Twitter
他の特許を見る
10個以上の画像は省略されています。
公開番号
2025152940
公報種別
公開特許公報(A)
公開日
2025-10-10
出願番号
2024055130
出願日
2024-03-28
発明の名称
映像再生装置、及び、映像再生装置用プログラム
出願人
ブラザー工業株式会社
,
株式会社エクシング
代理人
個人
主分類
G10K
15/04 20060101AFI20251002BHJP(楽器;音響)
要約
【課題】外部入力映像に関する状態を各種変化可能とする映像再生装置において、映像を適切に表示させる。
【解決手段】楽曲情報を再生する再生部と、外部入力映像を入力可能とする外部映像入力端子と、当該処理部で形成された処理部形成映像、もしくは、処理部形成映像と外部入力映像に基づいて形成された映像を、処理部出力映像として出力可能とする処理部と、表示部に出力可能な出力端子を備えるとともに、第1状態と、第2状態を切り替え可能な切替部と、を備え、第1状態は、外部入力映像を、処理部を経由せずに出力端子から出力させ、第2状態は、処理部から出力される処理部出力映像を出力端子から出力させ、第1状態の場合であって、再生部において楽曲情報が再生された場合、第1状態から第2状態に切り替える切替処理を実行する。
【選択図】図3
特許請求の範囲
【請求項1】
再生部と、外部映像入力端子と、処理部と、切替部と、を備え、
再生部は、楽曲情報を再生し、
外部映像入力端子は、外部入力映像を入力可能とし、
処理部は、当該処理部で形成された処理部形成映像、もしくは、処理部形成映像と外部入力映像に基づいて形成された映像を、処理部出力映像として出力可能とし、
切替部は、表示部に出力可能な出力端子を備え、第1状態と、第2状態を切り替え可能であって、
第1状態は、外部入力映像を、処理部を経由せずに出力端子から出力させ、
第2状態は、処理部から出力される処理部出力映像を出力端子から出力させ、
第1状態の場合であって、再生部において楽曲情報が再生された場合、第1状態から第2状態に切り替える切替処理を実行する
映像再生装置。
続きを表示(約 1,100 文字)
【請求項2】
映像再生装置は、第1設定、もしくは、第2設定の設定を受付ける第1受付部を備え、
第1設定は、切替部を第1状態に設定し、
第2設定は、切替部を第2状態に設定する
請求項1に記載の映像再生装置。
【請求項3】
切替部は、
第1状態の場合であって、外部映像入力端子に外部入力映像が入力されている場合、切替処理を実行し、
外部映像入力端子に外部入力映像が入力されていない場合、第2状態とする
請求項1に記載の映像再生装置。
【請求項4】
映像再生装置は、
第1映像設定、もしくは、第2映像設定を受付ける第2受付部を備え、
処理部が出力する処理部出力映像は、
第1映像設定に設定されている場合であって、再生部において楽曲情報が再生された場合、処理部形成映像と外部入力映像に基づいて形成された映像であり、
第2映像設定に設定されている場合であって、再生部において楽曲情報が再生された場合、処理部形成映像に基づく映像である
請求項1に記載の映像再生装置。
【請求項5】
切替部は、
第1状態の場合であって、第1映像設定に設定されている場合、切替処理を実行する
請求項4に記載の映像再生装置。
【請求項6】
切替部は、第2状態の場合であって、外部映像入力端子に接続される外部映像機器が所定の解像度より高い解像度に対応している場合、第1状態とする
請求項1に記載の映像再生装置。
【請求項7】
切替部は、第2状態の場合であって、外部映像入力端子に接続される外部映像機器が所定の解像度以下の解像度に対応している場合、第2状態とする
請求項1に記載の映像再生装置。
【請求項8】
再生部と、外部映像入力端子と、処理部と、切替部と、を備えた映像再生装置で実行される映像再生装置用プログラムであって、
再生部は、楽曲情報を再生し、
外部映像入力端子は、外部入力映像を入力可能とし、
処理部は、当該処理部で形成された処理部形成映像、もしくは、処理部形成映像と外部入力映像に基づいて形成された映像を、処理部出力映像として出力可能とし、
切替部は、表示部に出力可能な出力端子を備え、第1状態と、第2状態を切り替え可能であって、
第1状態は、外部入力映像を、処理部を経由せずに出力端子から出力させ、
第2状態は、処理部から出力される処理部出力映像を出力端子から出力させ、
第1状態の場合であって、再生部において楽曲情報が再生された場合、第1状態から第2状態に切り替える切替処理を実行する
映像再生装置用プログラム。
発明の詳細な説明
【技術分野】
【0001】
本発明は、映像を出力可能な映像再生装置、及び、映像再生装置で実行される映像再生装置用プログラムに関する。
続きを表示(約 1,500 文字)
【背景技術】
【0002】
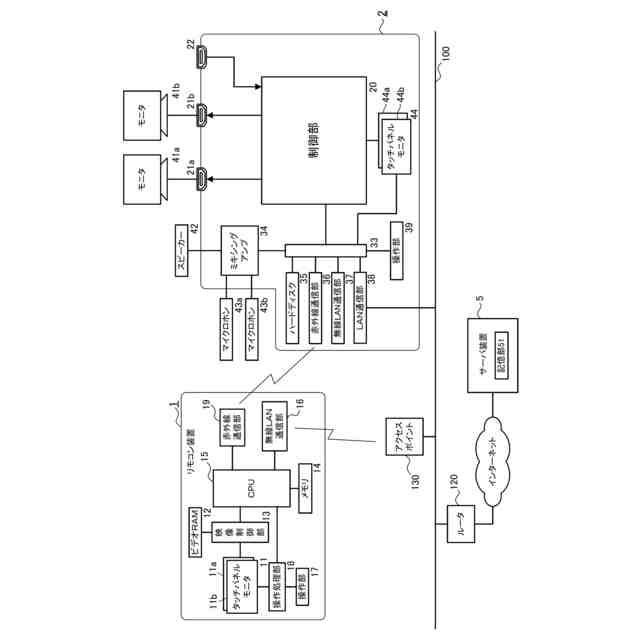
従来、伴奏に合わせて歌唱を楽しむカラオケが社交の場等で行われている。カラオケで使用されるカラオケ装置は、他の映像再生装置と同様、映像、音声を出力することを基本機能として有する。このような映像再生装置では、ユーザが意図した映像を表示再生することが必要とされる。
【0003】
特許文献1には、映像の切り替え時における黒画面(無出画、ブラックアウトに相当)の表示を抑制すること、また、映像の切り替えを迅速に行うことを可能とする映像出力装置が開示されている。
【先行技術文献】
【特許文献】
【0004】
特開2022-155750号公報
【発明の概要】
【発明が解決しようとする課題】
【0005】
特許文献1に記載される映像再生装置では、映像の切り替え時における黒画面が表示された場合、使用するユーザが映像再生装置、あるいは、その外部機器が故障していると勘違いするという状況を解消することを目的としたものである。
【0006】
ここで、カラオケ装置等の映像再生装置においては、外部映像再生装置(外部映像機器)を接続し、外部映像機器の再生映像(入力映像)を映像再生装置で表示出力させる機能を有するものがある。このような映像再生装置では、スマートフォン、DVDプレーヤ等の外部映像機器を使用することで、手持ちの映像コンテンツを大画面で楽しむことも可能となる。
【0007】
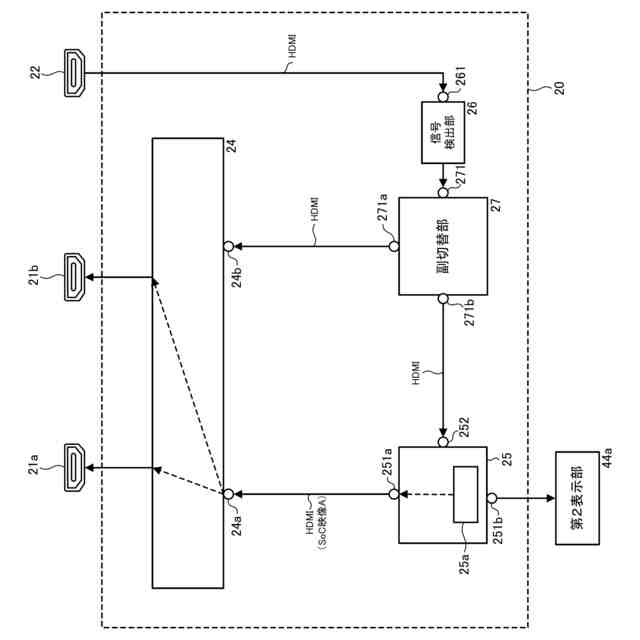
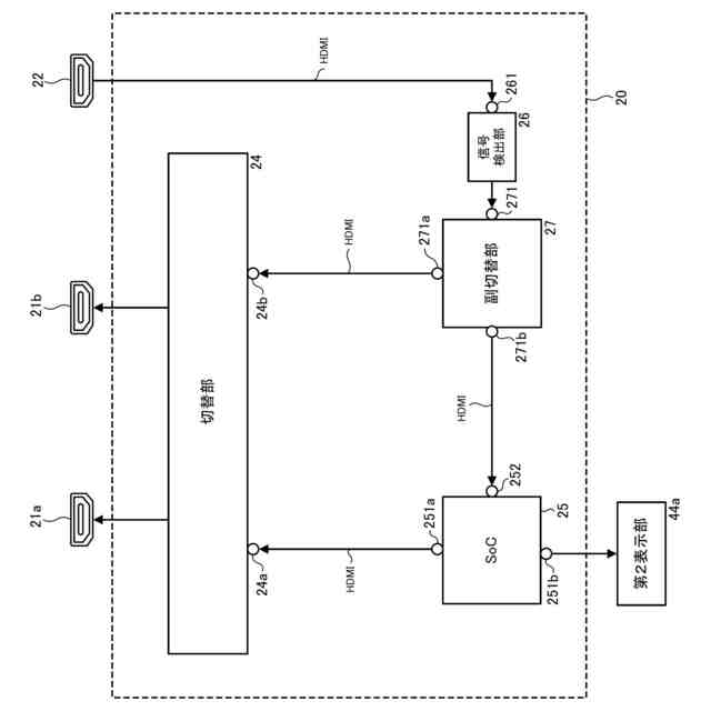
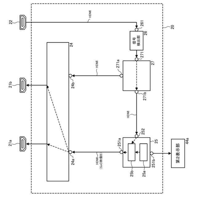
本願の発明者は、このような外部映像再生装置からの外部入力映像を表示させる状態、あるいは、映像再生装置自体で形成する映像を表示する状態を切り替え可能とすることを新たに提案している。ここで、映像再生装置では、各種変化する状態において映像を適切に表示出力することが必要とされる。本発明は、外部入力映像に関する状態を切り替え可能とする映像再生装置において、各種変化する状態において、映像を適切に表示することを1つの目的とするものである。
【課題を解決するための手段】
【0008】
そのため、本発明に係る映像再生装置は、以下の構成を採用するものである。
再生部と、外部映像入力端子と、処理部と、切替部と、を備え、
再生部は、楽曲情報を再生し、
外部映像入力端子は、外部入力映像を入力可能とし、
処理部は、当該処理部で形成された処理部形成映像、もしくは、処理部形成映像と外部入力映像に基づいて形成された映像を、処理部出力映像として出力可能とし、
切替部は、表示部に出力可能な出力端子を備え、第1状態と、第2状態を切り替え可能であって、
第1状態は、外部入力映像を、処理部を経由せずに出力端子から出力させ、
第2状態は、処理部から出力される処理部出力映像を出力端子から出力させ、
第1状態の場合であって、再生部において楽曲情報が再生された場合、第1状態から第2状態に切り替える切替処理を実行する。
【0009】
さらに、本発明に係る映像再生装置は、
第1設定、もしくは、第2設定の設定を受付ける第1受付部を備え、
第1設定は、切替部を第1状態に設定し、
第2設定は、切替部を第2状態に設定する。
【0010】
さらに、本発明に係る映像再生装置において、
切替部は、
第1状態の場合であって、外部映像入力端子に外部入力映像が入力されている場合、切替処理を実行し、
外部映像入力端子に外部入力映像が入力されていない場合、第2状態とする。
(【0011】以降は省略されています)
この特許をJ-PlatPat(特許庁公式サイト)で参照する
関連特許
個人
ギター
3日前
個人
遮音材
1か月前
個人
歌唱補助器具
1か月前
個人
音声出力装置
1か月前
横浜ゴム株式会社
音響材
24日前
三井化学株式会社
防音構造体
4日前
三井化学株式会社
防音構造体
4日前
個人
管楽器用音質改善留め具
18日前
NOK株式会社
吸音構造体
1か月前
矢崎総業株式会社
車両用対話システム
1か月前
横浜ゴム株式会社
多層空洞音響材
1か月前
株式会社デンソー
音低減装置
3日前
株式会社第一興商
カラオケ装置
1か月前
ヤマハ株式会社
鍵盤装置
11日前
三井化学株式会社
防音構造体および自動車の防音構造
4日前
ヤマハ株式会社
音処理装置及び音処理方法
18日前
有限会社 宮脇工房
モーター挙動音発生装置
1か月前
株式会社デンソー
制御装置、制御方法、及び制御プログラム
24日前
株式会社第一興商
カラオケ装置、カラオケシステム
3日前
株式会社第一興商
カラオケ装置、カラオケシステム
10日前
株式会社第一興商
カラオケ装置、カラオケシステム
26日前
株式会社コルグ
楽音信号変換装置、楽音信号変換方法、プログラム
1か月前
本田技研工業株式会社
音声認識装置、音声認識方法、及びプログラム
5日前
トヨタ自動車株式会社
ブレーキインジケータシステム
3日前
株式会社枚方技研
方向付き楽器固定具
1か月前
株式会社デンソー
制御装置、ロボットシステム、制御方法、及び制御プログラム
1か月前
パイオニア株式会社
効果音出力装置
1か月前
日本電気株式会社
伝達音抑制装置、伝達音抑制システム、伝達音抑制方法およびプログラム
3日前
ピクシーダストテクノロジーズ株式会社
遮音ユニット、遮音構造体、および区画設備
1か月前
パナソニックIPマネジメント株式会社
ノイズキャンセルシステムおよびノイズキャンセル方法
3日前
株式会社イービーエム
音声分析装置、音声分析システム、音声分析方法、及び音声分析プログラム
24日前
カシオ計算機株式会社
電子鍵盤楽器
1か月前
パナソニックIPマネジメント株式会社
ノイズキャンセル装置、ノイズキャンセル方法および照明装置
3日前
株式会社リコー
情報処理システム、情報処理装置、情報処理方法、及びプログラム
10日前
ヤマハ株式会社
コード推定装置およびコード推定方法
12日前
株式会社トランストロン
アクティブノイズ制御装置、アクティブノイズ制御方法及びアクティブノイズ制御プログラム
1か月前
続きを見る
他の特許を見る