TOP
|
特許
|
意匠
|
商標
特許ウォッチ
Twitter
他の特許を見る
公開番号
2025152937
公報種別
公開特許公報(A)
公開日
2025-10-10
出願番号
2024055126
出願日
2024-03-28
発明の名称
捜索システム及び捜索方法
出願人
国立大学法人奈良国立大学機構
代理人
個人
主分類
B63C
9/00 20060101AFI20251002BHJP(船舶またはその他の水上浮揚構造物;関連艤装品)
要約
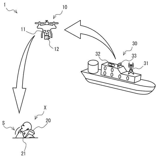
【課題】本発明は、海難事故による遭難者を捜索する際に、より確実に遭難者を発見できる捜索システムの提供を目的とする。
【解決手段】本発明の一態様に係る捜索システムは、海難事故による遭難者を捜索する捜索システムであって、無人航空機と、上記遭難者が着用する救命胴衣とを備え、上記救命胴衣が、救助信号を発信可能な発信器と、上記救助信号のON/OFFを制御するスイッチとを有し、上記スイッチのON/OFFが、海水への浸漬の有無により制御されており、上記無人航空機が、上記救助信号を受信可能な受信器を有し、上記遭難者の捜索が、上記救助信号に基づいて行われる。
【選択図】図1
特許請求の範囲
【請求項1】
海難事故による遭難者を捜索する捜索システムであって、
無人航空機と、
上記遭難者が着用する救命胴衣と
を備え、
上記救命胴衣が、救助信号を発信可能な発信器と、上記救助信号のON/OFFを制御するスイッチとを有し、
上記スイッチのON/OFFが、海水への浸漬の有無により制御されており、
上記無人航空機が、
上記救助信号を受信可能な受信器を有し、
上記遭難者の捜索が、上記救助信号に基づいて行われる捜索システム。
続きを表示(約 570 文字)
【請求項2】
上記スイッチが、離間して配置された一対の導電性繊維で構成され、
上記導電性繊維が、上記救命胴衣の少なくとも一部を構成するテキスタイルに組み込まれている請求項1に記載の捜索システム。
【請求項3】
上記救命胴衣が、遭難者のバイタル情報を取得するセンサを有し、
上記センサが取得したバイタル情報を上記発信器が発信する請求項1又は請求項2に記載の捜索システム。
【請求項4】
海難事故による遭難者を捜索する捜索方法であって、
請求項1に記載の捜索システムが用いられており、
基地局が上記救助信号を受信する受信工程と、
上記基地局が上記救助信号の発信位置に基づいて救助目的地を決定する決定工程と、
上記基地局が上記無人航空機を上記救助目的地へ誘導する誘導工程と、
上記救助目的地へ誘導された上記無人航空機が遭難者を捜索する捜索工程と
を備える捜索方法。
【請求項5】
上記決定工程で、上記救助目的地の決定に上記救助信号の発信位置の移動方向及び移動速度を用いる請求項4に記載の捜索方法。
【請求項6】
上記決定工程で、上記救助目的地の決定に上記発信位置における環境条件を用いる請求項4に記載の捜索方法。
発明の詳細な説明
【技術分野】
【0001】
本発明は、捜索システム及び捜索方法に関する。
続きを表示(約 1,500 文字)
【背景技術】
【0002】
海や山で遭難した人を救助するために、無人飛行機(ドローン)を利用した捜索システムが提案されている(例えば特開2020-37353号公報参照)。
【0003】
この捜索システムでは、現在位置を示す位置情報を送信する通信部を備えたウェアラブルデバイスをユーザに装着し、そのユーザは遭難した際に助けを求める信号を送信する。ドローンは、この助けを求める信号を受信し、その発信源を捜索することで、助けを求めたユーザを見つけ出す。
【先行技術文献】
【特許文献】
【0004】
特開2020-37353号公報
【発明の概要】
【発明が解決しようとする課題】
【0005】
例えばユーザが山で遭難した場合を想定すると、ユーザ自身が道を見失うなど遭難したことを自ら認識可能であり、例えば立ち止まって助けを求める信号を送信し得る。ところが、例えば進行する船から誤って海へ転落したような場合、遭難者は、気が動転し、かつ溺れるリスクもあることから、一般に遭難者自身が助けを求める信号を送信することは現実的ではない。上記従来の捜索システムでは、遭難者が助けを求める信号を送信しない限り、遭難者を見つけることが難しい。
【0006】
本発明は、以上のような事情に基づいてなされたものであり、海難事故による遭難者を捜索する際に、より確実に遭難者を発見できる捜索システム及び捜索方法の提供を目的とする。
【課題を解決するための手段】
【0007】
本発明者は、海水が電気を通す性質に着目した。具体的には、大気中では電気的に離間した2点間に海水が満たされると、上記2点間は電気的に導通する。本発明者は、この性質を利用すれば、海水への浸漬の有無によりスイッチのON/OFFが制御できることを見出した。また、一般に海上にいる者は救命胴衣を装着している。本発明者は、この救命胴衣に発信器を取付け、海水への浸漬の有無によりON/OFFが制御できる上述のスイッチにより救助信号のON/OFFを制御すれば、海に転落すると同時に救助信号が自動的に発信される構成を実現できるとの結論に至った。
【0008】
すなわち、本発明の一態様に係る捜索システムは、海難事故による遭難者を捜索する捜索システムであって、無人航空機と、上記遭難者が着用する救命胴衣とを備え、上記救命胴衣が、救助信号を発信可能な発信器と、上記救助信号のON/OFFを制御するスイッチとを有し、上記スイッチのON/OFFが、海水への浸漬の有無により制御されており、上記無人航空機が、上記救助信号を受信可能な受信器を有し、上記遭難者の捜索が、上記救助信号に基づいて行われる。
【0009】
本発明の別の一態様に係る捜索方法は、海難事故による遭難者を捜索する捜索方法であって、本発明の捜索システムが用いられており、基地局が上記救助信号を受信する受信工程と、上記基地局が上記救助信号の発信位置に基づいて救助目的地を決定する決定工程と、上記基地局が上記無人航空機を上記救助目的地へ誘導する誘導工程と、上記救助目的地へ誘導された上記無人航空機が遭難者を捜索する捜索工程とを備える。
【発明の効果】
【0010】
本発明の捜索システム及び捜索方法は、海難事故による遭難者を捜索する際に、より確実に遭難者を発見できる。
【図面の簡単な説明】
(【0011】以降は省略されています)
この特許をJ-PlatPat(特許庁公式サイト)で参照する
関連特許
国立大学法人奈良国立大学機構
捜索システム及び捜索方法
11日前
個人
水上遊具
4か月前
個人
洋上研究所
3か月前
個人
川下り用船
10か月前
個人
発電船
12か月前
個人
船用横揺防止具
8か月前
個人
補助機構
7か月前
個人
津波防災ウエア
2か月前
個人
コンパクトシティ船
7か月前
個人
渦流動力推進構造
7か月前
個人
セールのバテンガイド装置
3か月前
炎重工株式会社
浮標
9か月前
炎重工株式会社
浮標
9か月前
個人
水質浄化・集熱昇温システム
4か月前
住友重機械工業株式会社
船舶
3か月前
株式会社ラフティ
サーフボード
3か月前
個人
スクリュープロペラ
7か月前
株式会社フルトン
水中捕捉装置
7か月前
個人
船舶
9か月前
個人
回転式による流体流出防止タンカー
7か月前
オーケー工業株式会社
係留フック
8か月前
スズキ株式会社
船外機
6か月前
スズキ株式会社
船外機
5か月前
常石造船株式会社
メタノール燃料船
10か月前
株式会社アカデミー出版
船舶
2か月前
スズキ株式会社
船外機
6か月前
朝日電装株式会社
船外機用照明装置
2か月前
ヤマハ発動機株式会社
船外機
9か月前
スズキ株式会社
船外機
5か月前
藤倉コンポジット株式会社
架台
10か月前
株式会社神戸タフ興産
船舶の甲板構造
10か月前
ナブテスコ株式会社
主機制御システム
25日前
炎重工株式会社
自律航行浮遊体
9か月前
株式会社ユピテル
システム及びプログラム等
6か月前
スズキ株式会社
電動船外機
6か月前
個人
発光手段を備えたライフジャケット
6か月前
続きを見る
他の特許を見る