TOP
|
特許
|
意匠
|
商標
特許ウォッチ
Twitter
他の特許を見る
公開番号
2025152716
公報種別
公開特許公報(A)
公開日
2025-10-10
出願番号
2024054750
出願日
2024-03-28
発明の名称
ライナープレート用補強材、及びライナープレート補強構造
出願人
日鉄建材株式会社
代理人
個人
主分類
E02D
17/08 20060101AFI20251002BHJP(水工;基礎;土砂の移送)
要約
【課題】経済性及び施工性の向上とともに鉛直方向の荷重に対する強度の向上が図られたライナープレート用補強材、及びライナープレート補強構造を提供する。
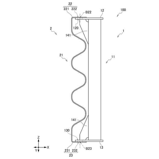
【解決手段】ライナープレート用補強材1は、鉛直方向Zに立設されるライナープレート2に固定され、ライナープレート2の上フランジ22に固定される鋼製の第1接続部12と、第1接続部12と接続される一端から一方向に延長された鋼製の基部11と、基部11の延長方向の他端に接続され、ライナープレート2の下フランジ23に固定される鋼製の第2接続部13と、を備えることを特徴とする。ライナープレート用補強材1は、例えば基部11と、基部11に対してフランジ形状の第1接続部12又は第2接続部13と、に固定される補強リブ14をさらに備えてもよい。
【選択図】図3
特許請求の範囲
【請求項1】
鉛直方向に立設されるライナープレートに固定されるライナープレート用補強材であって、
前記ライナープレートの上フランジに固定される鋼製の第1接続部と、
前記第1接続部と接続される一端から一方向に延長された鋼製の基部と、
前記基部の延長方向の他端に接続され、前記ライナープレートの下フランジに固定される鋼製の第2接続部と、
を備えること
を特徴とするライナープレート用補強材。
続きを表示(約 590 文字)
【請求項2】
前記基部と、前記基部に対してフランジ形状の前記第1接続部又は前記第2接続部と、に固定される補強リブをさらに備えること
を特徴とする請求項1に記載のライナープレート用補強材。
【請求項3】
前記第1接続部及び前記第2接続部のうち少なくとも何れかは、鉛直方向に段違いの形状であること
を特徴とする請求項1又は2に記載のライナープレート用補強材。
【請求項4】
前記第1接続部又は前記第2接続部は、前記ライナープレートの上方に接続される上位ライナープレートの下フランジを介して前記ライナープレートの前記上フランジに固定され、又は前記ライナープレートの下方に接続される下位ライナープレートの上フランジを介して前記ライナープレートの前記下フランジに固定されること
を特徴とする請求項1又は2に記載のライナープレート用補強材。
【請求項5】
鉛直方向に立設されるライナープレートと、
前記ライナープレートの上フランジに固定される鋼製の第1接続部と、
前記第1接続部と一端が接続され、鉛直方向に延長された鋼製の基部と、
前記基部の他端に接続され、前記ライナープレートの下フランジに固定される鋼製の第2接続部と、
を備えること
を特徴とするライナープレート補強構造。
発明の詳細な説明
【技術分野】
【0001】
この発明は、ライナープレート用補強材、及びライナープレート補強構造に関する。
続きを表示(約 1,500 文字)
【背景技術】
【0002】
従来、ライナープレートの強度を高めるための補強構造が研究されている。ライナープレートを用いる工法として、例えば鉛直方向に複数積層する工法や、立設したうえで鉛直下方向に荷重をかけて固定する工法等がある。この場合において、ライナープレートは、鉛直方向の荷重に対して座屈変形しない強度が要求される。そのため、鉛直方向の荷重に対抗できるライナープレートの補強構造が切望されている。
【0003】
特許文献1及び特許文献2には、ライナープレートの補強構造が開示されている。
【先行技術文献】
【特許文献】
【0004】
特開平04-016693号公報
特開平07-042478号公報
【発明の概要】
【発明が解決しようとする課題】
【0005】
特許文献1に開示されたライナープレート用補強材及び補強構造によれば、枠体の内側に補強材を併設することで強度を高めることができるが、鉛直方向の荷重に対抗する旨の開示がない。また、特許文献2に開示されたライナープレート用補強材及び補強構造によれば、ライナープレートの表面に座屈防止材を取り付けることで鉛直方向の荷重に対抗することができるが、座屈防止材を取り付けるためにライナープレート表面において孔の穿設や各部材の溶接等の作業を要する他、補強材をライナープレートの表面形状に合わせて波形等に加工する必要があるなど、経済性が悪い。また、予め座屈防止材を取り付けたライナープレートを設置する場合、ライナープレートの重量が増加し、施工性が悪い。
【0006】
そこで本発明は、上述した問題点に鑑みて案出されたものであり、その目的とするところは、経済性及び施工性の向上とともに鉛直方向の荷重に対する強度の向上が図られたライナープレート用補強材、及びライナープレート補強構造を提供することにある。
【課題を解決するための手段】
【0007】
第1発明におけるライナープレート用補強材は、鉛直方向に立設されるライナープレートに固定されるライナープレート用補強材であって、前記ライナープレートの上フランジに固定される鋼製の第1接続部と、前記第1接続部と接続される一端から一方向に延長された鋼製の基部と、前記基部の延長方向の他端に接続され、前記ライナープレートの下フランジに固定される鋼製の第2接続部と、を備えることを特徴とする。
【0008】
第2発明におけるライナープレート用補強材は、第1発明において、前記基部と、前記基部に対してフランジ形状の前記第1接続部又は前記第2接続部と、に固定される補強リブをさらに備えることを特徴とする。
【0009】
第3発明におけるライナープレート用補強材は、第1発明又は第2発明において、前記第1接続部及び前記第2接続部のうち少なくとも何れかは、鉛直方向に段違いの形状であることを特徴とする。
【0010】
第4発明におけるライナープレート用補強材は、第1発明又は第2発明において、前記第1接続部又は前記第2接続部は、前記ライナープレートの上方に接続される上位ライナープレートの下フランジを介して前記ライナープレートの前記上フランジに固定され、又は前記ライナープレートの下方に接続される下位ライナープレートの上フランジを介して前記ライナープレートの前記下フランジに固定されることを特徴とする。
(【0011】以降は省略されています)
この特許をJ-PlatPat(特許庁公式サイト)で参照する
関連特許
日鉄建材株式会社
成形装置
25日前
日鉄建材株式会社
金属管支柱
1か月前
日鉄建材株式会社
屋根部材の接合構造
1か月前
日鉄建材株式会社
デッキプレート構造
1か月前
日鉄建材株式会社
外壁通気工法用ラス
26日前
日鉄建材株式会社
鉄骨造の乾式屋根の設計方法
1か月前
日鉄建材株式会社
モールドパウダーの製造方法
28日前
日鉄建材株式会社
構造物用補強リング及び構造物
1か月前
日鉄建材株式会社
解析システム、および解析方法
28日前
日鉄建材株式会社
吊り材で支持された足場用床パネル
25日前
日鉄建材株式会社
砂防構造体のアンカーボルト保護構造
28日前
日鉄建材株式会社
鋼製枠の補修構造及び鋼製枠の補修方法
25日前
日鉄建材株式会社
鋼製枠の補修構造及び鋼製枠の補修方法
25日前
日鉄建材株式会社
スラリー及びモールドパウダーの製造方法
26日前
日鉄建材株式会社
乾式屋根の設計システム、及び乾式屋根の設計方法
1か月前
日鉄建材株式会社
デッキ合成スラブ構造及びデッキ合成スラブ施工方法
7日前
日鉄建材株式会社
門型波形鋼板の立設方法、及び門型波形鋼板の立設治具
25日前
日鉄建材株式会社
補強壁部材の継手構造および補強壁部材ならびに壁構造体
25日前
日鉄建材株式会社
ライナープレート用補強材、及びライナープレート補強構造
25日前
日鉄建材株式会社
斜面対策構造
20日前
日鉄建材株式会社
防音壁ユニット、防音壁ユニットの交換方法及び防音壁の構築方法
25日前
東日本旅客鉄道株式会社
深礎基礎および深礎基礎の施工方法
1か月前
個人
バケット
5日前
個人
建物の不同沈下の修正方法
12日前
千代田工営株式会社
回転貫入杭
19日前
株式会社富田製作所
継手部構造
5日前
株式会社大林組
操縦装置
8日前
株式会社熊谷組
山留壁用親杭
25日前
株式会社熊谷組
地盤改良方法
28日前
日立建機株式会社
作業機械
19日前
日立建機株式会社
作業機械
26日前
ヤンマーホールディングス株式会社
作業機械
18日前
日本車輌製造株式会社
建設機械
21日前
日立建機株式会社
作業車両
21日前
ヤンマーホールディングス株式会社
作業機械
18日前
日立建機株式会社
作業機械
25日前
続きを見る
他の特許を見る