TOP
|
特許
|
意匠
|
商標
特許ウォッチ
Twitter
他の特許を見る
10個以上の画像は省略されています。
公開番号
2025152800
公報種別
公開特許公報(A)
公開日
2025-10-10
出願番号
2024054891
出願日
2024-03-28
発明の名称
補強壁部材の継手構造および補強壁部材ならびに壁構造体
出願人
日鉄建材株式会社
代理人
弁理士法人山名国際特許事務所
主分類
E02D
17/08 20060101AFI20251002BHJP(水工;基礎;土砂の移送)
要約
【課題】補強リングの代替品としての役割を十分に果たすことができる、補強壁部材の継手構造および補強壁部材ならびに壁構造体を提供する。
【解決手段】補強部材2と前記補強部材2の地山側に設けられる壁部材3とを一体化してなる補強壁部材1の継手構造である。前記補強壁部材1は、周方向フランジ32と軸方向フランジ33とを備えている。前記補強部材2は、ウエブ部21とフランジ部22とを備えた鋼材であり、周方向に隣接する補強壁部材1の補強部材2と継手板を介してボルト接合される。前記軸方向フランジ33には、ボルト通し孔33aが、前記補強壁部材1の中立軸Nを基準として壁部材3寄り位置で、かつ前記補強部材2のウエブ部21を対称軸として略上下対称となる位置に少なくとも一対形成されており、周方向に隣接する補強壁部材1の軸方向フランジ33と、対応するボルト通し孔33aを利用してボルト接合される。
【選択図】図1
特許請求の範囲
【請求項1】
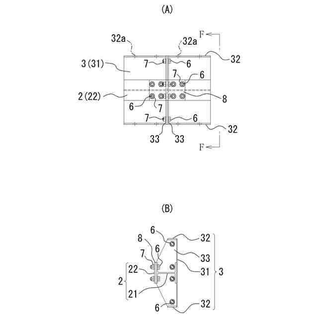
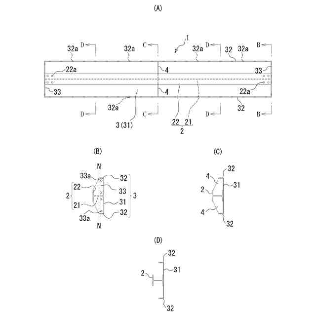
補強部材と前記補強部材の地山側に設けられる壁部材とを一体化してなる補強壁部材の継手構造であって、
前記補強壁部材は、前記壁部材の上端縁および下端縁に沿って設けられる周方向フランジと、前記壁部材の周方向両端部に沿って設けられる軸方向フランジとを備えていること、
前記補強部材は、ウエブ部とフランジ部とを備えた鋼材であり、周方向に隣接する補強壁部材の補強部材と継手板を介してボルト接合されること、
前記軸方向フランジには、ボルト通し孔が、前記補強壁部材の中立軸を基準として壁部材寄り位置で、かつ前記補強部材のウエブ部を対称軸として略上下対称となる位置に少なくとも一対形成されており、周方向に隣接する補強壁部材の軸方向フランジと、対応するボルト通し孔を利用してボルト接合されることを特徴とする、補強壁部材の継手構造。
続きを表示(約 960 文字)
【請求項2】
前記補強部材は、H形鋼、又は2本の溝形鋼のウエブ部同士を背中合わせに一体化した鋼材であり、一側のフランジ部が前記壁部材の上下方向中央部に設けられ、他側のフランジ部の周方向両端部に、ボルト通し孔が形成されていることを特徴とする、請求項1に記載した補強壁部材の継手構造。
【請求項3】
前記軸方向フランジに形成されるボルト通し孔は、少なくとも前記補強部材のフランジ部の高さ範囲内に形成されていることを特徴とする、請求項1に記載した補強壁部材の継手構造。
【請求項4】
補強部材と前記補強部材の地山側に設けられる壁部材とを一体化してなる補強壁部材の継手構造であって、
前記補強壁部材は、前記壁部材の上端縁および下端縁に沿って設けられる周方向フランジと、前記壁部材の周方向両端部に沿って設けられる軸方向フランジとを備えており、前記周方向フランジが前記補強部材を兼ねるように補強されていること、
前記軸方向フランジには、ボルト通し孔が、前記補強壁部材の中立軸を基準として壁部材寄り位置で、かつ前記軸方向フランジの上下端から等距離にある水平線を対称軸として略上下対称となる位置に少なくとも一対形成されており、周方向に隣接する補強壁部材の軸方向フランジと、対応するボルト通し孔を利用してボルト接合されることを特徴とする、補強壁部材の継手構造。
【請求項5】
請求項1~4のいずれかに記載の補強壁部材の継手構造に用いる補強壁部材であって、補強部材と前記補強部材の地山側に設けられる壁部材とを一体化してなること、
前記壁部材の上端縁および下端縁に沿って設けられる周方向フランジと、前記壁部材の周方向両端部に沿って設けられる軸方向フランジとを備えており、
前記周方向フランジには、壁形成部材と軸方向に接合するためのボルト通し孔が形成され、前記軸方向フランジには、周方向に隣接する補強壁部材と曲げモーメントを伝達可能に接続するためのボルト通し孔が形成されていることを特徴とする、補強壁部材。
【請求項6】
請求項5に記載の補強壁部材の前記周方向フランジと壁形成部材とを軸方向に接合して構築されることを特徴とする、壁構造体。
発明の詳細な説明
【技術分野】
【0001】
この発明は、例えば立坑を構築する際に用いられる土留め壁として、周方向及び軸方向に壁形成部材(例えば、ライナープレート)を接合して壁構造体を構築するにあたり、従来の補強リングの代替品として使用可能な補強壁部材の継手構造の技術分野に属する。
続きを表示(約 2,600 文字)
【背景技術】
【0002】
前記したように、周方向及び軸方向に接合して壁構造体を構築する壁形成部材として、例えば、ライナープレートが挙げられる。
前記ライナープレートは、その強度を高めるため、ライナープレートの周方向フランジに沿って補強リング(H形鋼)を取り付けて構築する場合がある。前記補強リングには、前記H形鋼の代替品として、溝形鋼やアングル等を用いることも行われていたが、近年、トンネルや立坑で一般的に用いられているセグメント(鋼製土留めパネル)を用いることがある(例えば、特許文献1~4参照)。
【先行技術文献】
【特許文献】
【0003】
特開2022-127952号公報
特開2022-127961号公報
特開2022-127984号公報
特開2022-129843号公報
【発明の概要】
【発明が解決しようとする課題】
【0004】
前記特許文献1~4に係るセグメントを前記補強リング(H形鋼)の代替品として用いる場合、下記する課題があった。
すなわち、前記セグメントの継手部はピン構造となっているため、一般的に剛接合に比べ曲げモーメントの伝達性能が劣る。そのため、継手部にばね値(回転に対する抵抗を示す値)と呼ばれる値を本体の剛性に乗じて壁構造体の設計を行っている。例えば、セグメントの左右端部の継手部(軸方向フランジ)の強度を、本体の強度に0.6又は0.3等を乗じ、あえて弱くして設計している。
そこで、前記セグメントを鋼製土留めパネルとして壁構造体の構築に用いる場合、隣接するセグメントの継手位置が軸方向に直線状に揃わないよう、千鳥状の配置とすることで継手部の曲げモーメントの伝達性能が劣る点を補っている。
しかし、剛性の低い本体(ライナープレート等)で前記セグメント(鋼製土留めパネル)を上下に挟み込む構造で実施する場合、前記セグメントの継手部(軸方向フランジ)は、周方向への曲げモーメントの伝達性能が劣るピン構造を呈するので、周方向に十分荷重が伝達されず、上下に接続された剛性の低い本体に応力が伝達してしまい、剛性の高いセグメントを使用しても補強リングのように補強効果が得られないどころか、剛性の低い本体に負担がかかる恐れがある。
【0005】
したがって、本発明は、上述した背景技術の課題に鑑みて案出されたものであり、その目的とするところは、併用する壁形成部材(例えば、ライナープレート)と同等もしくはそれ以上の強度・耐力を備えた補強壁部材を用い、しかも継手部の形態やボルト接合位置に工夫を施すことにより、周方向及び軸方向への荷重伝達性能(継手強度)を十分に確保でき、補強リングの代替品としての役割を十分に果たすことができる、補強壁部材の継手構造および補強壁部材ならびに壁構造体を提供することにある。
【課題を解決するための手段】
【0006】
上記背景技術の課題を解決するための手段として、請求項1に記載した発明に係る補強壁部材の継手構造は、補強部材と前記補強部材の地山側に設けられる壁部材とを一体化してなる補強壁部材の継手構造であって、
前記補強壁部材は、前記壁部材の上端縁および下端縁に沿って設けられる周方向フランジと、前記壁部材の周方向両端部に沿って設けられる軸方向フランジとを備えていること、
前記補強部材は、ウエブ部とフランジ部とを備えた鋼材であり、周方向に隣接する補強壁部材の補強部材と継手板を介してボルト接合されること、
前記軸方向フランジには、ボルト通し孔が、前記補強壁部材の中立軸を基準として壁部材寄り位置で、かつ前記補強部材のウエブ部を対称軸として略上下対称となる位置に少なくとも一対形成されており、周方向に隣接する補強壁部材の軸方向フランジと、対応するボルト通し孔を利用してボルト接合されることを特徴とする。
【0007】
請求項2に記載した発明は、請求項1に記載した補強壁部材の継手構造において、前記補強部材は、H形鋼、又は2本の溝形鋼のウエブ部同士を背中合わせに一体化した鋼材であり、一側のフランジ部が前記壁部材の上下方向中央部に設けられ、他側のフランジ部の周方向両端部に、ボルト通し孔が形成されていることを特徴とする。
【0008】
請求項3に記載した発明は、請求項1に記載した補強壁部材の継手構造において、前記軸方向フランジに形成されるボルト通し孔は、少なくとも前記補強部材のフランジ部の高さ範囲内に形成されていることを特徴とする。
【0009】
請求項4に記載した発明に係る補強壁部材の継手構造は、補強部材と前記補強部材の地山側に設けられる壁部材とを一体化してなる補強壁部材の継手構造であって、
前記補強壁部材は、前記壁部材の上端縁および下端縁に沿って設けられる周方向フランジと、前記壁部材の周方向両端部に沿って設けられる軸方向フランジとを備えており、前記周方向フランジが前記補強部材を兼ねるように補強されていること、
前記軸方向フランジには、ボルト通し孔が、前記補強壁部材の中立軸を基準として壁部材寄り位置で、かつ前記軸方向フランジの上下端から等距離にある水平線を対称軸として略上下対称となる位置に少なくとも一対形成されており、周方向に隣接する補強壁部材の軸方向フランジと、対応するボルト通し孔を利用してボルト接合されることを特徴とする。
【0010】
請求項5に記載した発明に係る補強壁部材は、請求項1~4のいずれかに記載の補強壁部材の継手構造に用いる補強壁部材であって、補強部材と前記補強部材の地山側に設けられる壁部材とを一体化してなること、
前記壁部材の上端縁および下端縁に沿って設けられる周方向フランジと、前記壁部材の周方向両端部に沿って設けられる軸方向フランジとを備えており、
前記周方向フランジには、壁形成部材と軸方向に接合するためのボルト通し孔が形成され、前記軸方向フランジには、周方向に隣接する補強壁部材と曲げモーメントを伝達可能に接続するためのボルト通し孔が形成されていることを特徴とする。
(【0011】以降は省略されています)
この特許をJ-PlatPat(特許庁公式サイト)で参照する
関連特許
日鉄建材株式会社
成形装置
1か月前
日鉄建材株式会社
金属管支柱
1か月前
日鉄建材株式会社
屋根部材の接合構造
2か月前
日鉄建材株式会社
デッキプレート構造
1か月前
日鉄建材株式会社
外壁通気工法用ラス
1か月前
日鉄建材株式会社
胴縁の設計方法および胴縁
6日前
日鉄建材株式会社
鉄骨造の乾式屋根の設計方法
1か月前
日鉄建材株式会社
モールドパウダーの製造方法
1か月前
日鉄建材株式会社
解析システム、および解析方法
1か月前
日鉄建材株式会社
構造物用補強リング及び構造物
1か月前
日鉄建材株式会社
吊り材で支持された足場用床パネル
1か月前
日鉄建材株式会社
砂防構造体のアンカーボルト保護構造
1か月前
日鉄建材株式会社
鋼製枠の補修構造及び鋼製枠の補修方法
1か月前
日鉄建材株式会社
鋼製枠の補修構造及び鋼製枠の補修方法
1か月前
日鉄建材株式会社
スラリー及びモールドパウダーの製造方法
1か月前
日鉄建材株式会社
乾式屋根の設計システム、及び乾式屋根の設計方法
1か月前
日鉄建材株式会社
デッキ合成スラブ構造及びデッキ合成スラブ施工方法
29日前
日鉄建材株式会社
門型波形鋼板の立設方法、及び門型波形鋼板の立設治具
1か月前
日鉄建材株式会社
補強壁部材の継手構造および補強壁部材ならびに壁構造体
1か月前
日鉄建材株式会社
ライナープレート用補強材、及びライナープレート補強構造
1か月前
日鉄建材株式会社
斜面対策構造
1か月前
日鉄建材株式会社
防音壁ユニット、防音壁ユニットの交換方法及び防音壁の構築方法
1か月前
東日本旅客鉄道株式会社
深礎基礎および深礎基礎の施工方法
1か月前
個人
バケット
27日前
個人
建物の不同沈下の修正方法
1か月前
鹿島建設株式会社
接続方法
7日前
株式会社富田製作所
継手部構造
27日前
千代田工営株式会社
回転貫入杭
1か月前
株式会社大林組
操縦装置
1か月前
株式会社郷土開発
傾斜地の切土工法
6日前
ヤンマーホールディングス株式会社
作業機械
1か月前
株式会社クボタ
作業機
6日前
ヤンマーホールディングス株式会社
作業機械
1か月前
日立建機株式会社
作業機械
1か月前
日立建機株式会社
建設機械
20日前
日立建機株式会社
作業機械
19日前
続きを見る
他の特許を見る