TOP
|
特許
|
意匠
|
商標
特許ウォッチ
Twitter
他の特許を見る
10個以上の画像は省略されています。
公開番号
2025147776
公報種別
公開特許公報(A)
公開日
2025-10-07
出願番号
2024048187
出願日
2024-03-25
発明の名称
砂防構造体のアンカーボルト保護構造
出願人
日鉄建材株式会社
代理人
弁理士法人山名国際特許事務所
主分類
E01F
7/04 20060101AFI20250930BHJP(道路,鉄道または橋りょうの建設)
要約
【課題】土石流発生時に、土石流の礫等の流下物がアンカーボルト、特には上流側に設置した先頭に立つアンカーボルトの頭部を直撃することを防止(阻止)でき、その結果、アンカーボルトの頭部の変形を未然に防ぐことにより、メンテナンス性、経済性等に優れた砂防構造体のアンカーボルト保護構造を提供する。
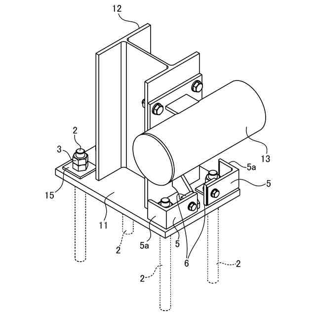
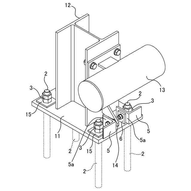
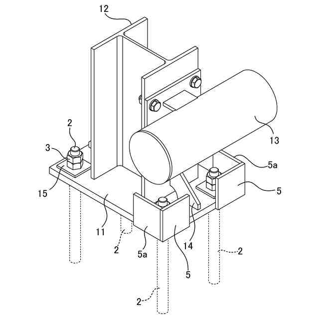
【解決手段】下端にベースプレート11を備えた砂防構造体1がアンカーボルト2及びナット3でコンクリート基礎4上に設置されてなる砂防構造体1のアンカーボルト保護構造であって、前記砂防構造体1を構成する少なくとも上流側柱部材12のベースプレート11に、前記アンカーボルト2への土石流の礫等の流下物の直撃を防止する保護部材5が立設される。前記保護部材5は、プレート部材であり、前記上流側柱部材12のベースプレート11における上流側に位置するアンカーボルト2の上流側部位に壁状に立設されている。
【選択図】図2
特許請求の範囲
【請求項1】
下端にベースプレートを備えた砂防構造体がアンカーボルト及びナットでコンクリート基礎上に設置されてなる砂防構造体のアンカーボルト保護構造であって、
前記砂防構造体を構成する少なくとも上流側柱部材のベースプレートに、前記アンカーボルトへの土石流の礫等の流下物の直撃を防止する保護部材が立設されることを特徴とする、砂防構造体のアンカーボルト保護構造。
続きを表示(約 490 文字)
【請求項2】
前記保護部材は、プレート部材であり、前記上流側柱部材のベースプレートにおける上流側に位置するアンカーボルトの上流側部位に、前記アンカーボルトの突き出し高さと同等以上の高さとなるように壁状に立設されていることを特徴とする、請求項1に記載した砂防構造体のアンカーボルト保護構造。
【請求項3】
前記プレート部材は、下流側に延びる支え部材を備えていることを特徴とする、請求項2に記載した砂防構造体のアンカーボルト保護構造。
【請求項4】
前記保護部材は、1つの支え部材によって形成されるL字形鋼材、2つの支え部材によって形成されるコ字形鋼材、又は3つの支え部材によって形成されるE字形鋼材であることを特徴とする、請求項3に記載した砂防構造体のアンカーボルト保護構造。
【請求項5】
前記保護部材は、前記上流側柱部材のベースプレートにおける上流側に位置するアンカーボルトを囲む形態の本体部と、前記本体部の上方を覆う蓋部とで箱状に形成されていることを特徴とする、請求項1に記載した砂防構造体のアンカーボルト保護構造。
発明の詳細な説明
【技術分野】
【0001】
この発明は、主に、常時流水はないが出水時には土石流の発生が予想される箇所の河床に設置されて捕捉柵として機能する砂防構造体の技術分野に属し、さらに云えば、前記砂防構造体のアンカーボルト保護構造に関する。
続きを表示(約 1,700 文字)
【背景技術】
【0002】
常時流水はないが出水時には土石流の発生が予想される箇所がある。土石流は、降り続く豪雨により軟弱となった山腹の地盤が流動化することで生じる土砂や石等の礫が河川や渓流の水と一体となり傾斜を流下することで発生し、下流の集落等に被害をもたらす虞がある。
こうした土石流の集落への流下を防止するため、従来から様々な砂防構造体が用いられているが、その多くが、例えば特許文献1に開示されているように、土石流の流下方向に対して立設された捕捉体(20)等により構成されている。
このような砂防構造体では、前記捕捉体等により土石流に含まれる石や樹木を堰き止める一方、水や砂を通過させることで、岩石等と水等とを分離し、被害をもたらす土石流の状態のままふもとの集落に流下することを防止している。このように、土石流を直接受け止める砂防構造体は、捕捉工、或いは防護工とも称される。
【0003】
前記特許文献1に係る防護工(砂防構造体)は、同文献1の図2、図3等に示したように、捕捉体(20)の下端にベースプレート30を備え、アンカー部材(アンカーボルト)35及びナットでコンクリートブロック(コンクリート基礎)10上に設置してなる構造で実施されている。
【先行技術文献】
【特許文献】
【0004】
特開2022-39651号公報
【発明の概要】
【発明が解決しようとする課題】
【0005】
前記特許文献1に係る防護工(砂防構造体)は、コンクリートブロック10上に、アンカー部材35の頭部を露出させる構成で設置しているが故に、土石流発生時に、土石流の礫等の流下物が前記アンカー部材35、特には上流側に設けたアンカー部材35の頭部を直撃し、変形させる虞があった。このアンカー部材35の頭部の変形は、防護工の着脱作業等のメンテナンス作業に支障をきたしたり、防護工全体の強度・剛性に悪影響を及ぼしたりすることが想定される等、改善するべき課題とされている。
【0006】
本発明は、上述した背景技術の課題に鑑みて案出されたものであり、その目的とするところは、土石流発生時に、土石流の礫等の流下物がアンカーボルト、特には上流側に設置した先頭に立つアンカーボルトの頭部を直撃することを防止(阻止)でき、その結果、アンカーボルトの頭部の変形を未然に防ぐことにより、メンテナンス性、経済性等に優れた砂防構造体のアンカーボルト保護構造を提供することにある。
【課題を解決するための手段】
【0007】
上記課題を解決するための手段として、請求項1に記載した発明に係る砂防構造体のアンカーボルト保護構造は、下端にベースプレートを備えた砂防構造体がアンカーボルト及びナットでコンクリート基礎上に設置されてなる砂防構造体のアンカーボルト保護構造であって、前記砂防構造体を構成する少なくとも上流側柱部材のベースプレートに、前記アンカーボルトへの土石流の礫等の流下物の直撃を防止する保護部材が立設されることを特徴とする。
【0008】
請求項2に記載した発明は、請求項1に記載した発明に係る砂防構造体のアンカーボルト保護構造において、前記保護部材は、プレート部材であり、前記上流側柱部材のベースプレートにおける上流側に位置するアンカーボルトの上流側部位に、前記アンカーボルトの突き出し高さと同等以上の高さとなるように壁状に立設されていることを特徴とする。
【0009】
請求項3に記載した発明は、請求項2に記載した発明に係る砂防構造体のアンカーボルト保護構造において、前記プレート部材は、下流側に延びる支え部材を備えていることを特徴とする。
【0010】
請求項4に記載した発明は、請求項3に記載した発明に係る砂防構造体のアンカーボルト保護構造において、前記保護部材は、1つの支え部材によって形成されるL字形鋼材、2つの支え部材によって形成されるコ字形鋼材、又は3つの支え部材によって形成されるE字形鋼材であることを特徴とする。
(【0011】以降は省略されています)
この特許をJ-PlatPat(特許庁公式サイト)で参照する
関連特許
日鉄建材株式会社
成形装置
1か月前
日鉄建材株式会社
金属管支柱
1か月前
日鉄建材株式会社
屋根部材の接合構造
2か月前
日鉄建材株式会社
デッキプレート構造
1か月前
日鉄建材株式会社
外壁通気工法用ラス
1か月前
日鉄建材株式会社
胴縁の設計方法および胴縁
6日前
日鉄建材株式会社
鉄骨造の乾式屋根の設計方法
1か月前
日鉄建材株式会社
モールドパウダーの製造方法
1か月前
日鉄建材株式会社
解析システム、および解析方法
1か月前
日鉄建材株式会社
構造物用補強リング及び構造物
1か月前
日鉄建材株式会社
吊り材で支持された足場用床パネル
1か月前
日鉄建材株式会社
砂防構造体のアンカーボルト保護構造
1か月前
日鉄建材株式会社
鋼製枠の補修構造及び鋼製枠の補修方法
1か月前
日鉄建材株式会社
鋼製枠の補修構造及び鋼製枠の補修方法
1か月前
日鉄建材株式会社
スラリー及びモールドパウダーの製造方法
1か月前
日鉄建材株式会社
乾式屋根の設計システム、及び乾式屋根の設計方法
1か月前
日鉄建材株式会社
デッキ合成スラブ構造及びデッキ合成スラブ施工方法
29日前
日鉄建材株式会社
門型波形鋼板の立設方法、及び門型波形鋼板の立設治具
1か月前
日鉄建材株式会社
補強壁部材の継手構造および補強壁部材ならびに壁構造体
1か月前
日鉄建材株式会社
ライナープレート用補強材、及びライナープレート補強構造
1か月前
日鉄建材株式会社
斜面対策構造
1か月前
日鉄建材株式会社
防音壁ユニット、防音壁ユニットの交換方法及び防音壁の構築方法
1か月前
東日本旅客鉄道株式会社
深礎基礎および深礎基礎の施工方法
1か月前
株式会社熊谷組
床版
1か月前
株式会社熊谷組
床版
1か月前
株式会社セイトク
防雪パネル
1か月前
白出商事株式会社
縁石銘板(名板)
1か月前
コスモテック株式会社
表示装置
19日前
株式会社NIPPO
距離補正装置
1か月前
株式会社 林物産発明研究所
道路安全体
6日前
株式会社NIPPO
斜面用ローラ
1か月前
株式会社ササキコーポレーション
作業機
1か月前
株式会社NIPPO
斜面用ローラ
1か月前
株式会社NIPPO
切削用制御装置
1か月前
戸田建設株式会社
コンクリート構造
1か月前
三信工業株式会社
床版架設装置
1か月前
続きを見る
他の特許を見る