TOP
|
特許
|
意匠
|
商標
特許ウォッチ
Twitter
他の特許を見る
10個以上の画像は省略されています。
公開番号
2025153784
公報種別
公開特許公報(A)
公開日
2025-10-10
出願番号
2024056419
出願日
2024-03-29
発明の名称
鋼製枠の補修構造及び鋼製枠の補修方法
出願人
日鉄建材株式会社
代理人
個人
主分類
E02B
3/10 20060101AFI20251002BHJP(水工;基礎;土砂の移送)
要約
【課題】既存のスクリーン材を取り外すことなく、低コストで容易に鋼製枠を補修することが可能な鋼製枠の補修構造及び鋼製枠の補修方法を提供する。
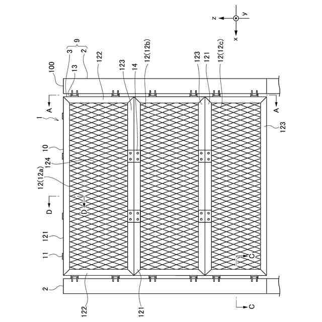
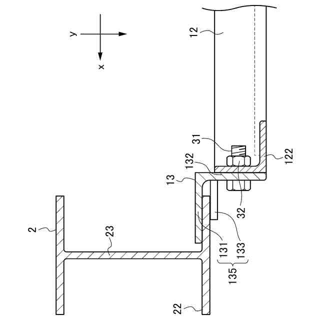
【解決手段】鋼製枠の補修構造は、立設されるH形鋼の支柱と、前記支柱間に架設される水平フレームとを有する鋼製枠の補修構造であって、上枠及び下枠と、左右一対の縦枠とを有するパネル枠と、前記パネル枠の上枠に取り付けられ、前記水平フレームに掛止されるズレ防止金具と、前記パネル枠の縦枠にそれぞれ取り付けられ、前記支柱のフランジを挟持する挟持部を有するパネル取付金具とを備えることを特徴とする。
【選択図】図1
特許請求の範囲
【請求項1】
立設されるH形鋼の支柱と、前記支柱間に架設される水平フレームとを有する鋼製枠の補修構造であって、
上枠及び下枠と、左右一対の縦枠とを有するパネル枠と、
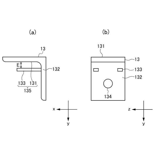
前記パネル枠の上枠に取り付けられ、前記水平フレームに掛止されるズレ防止金具と、
前記パネル枠の縦枠にそれぞれ取り付けられ、前記支柱のフランジを挟持する挟持部を有するパネル取付金具とを備えること
を特徴とする鋼製枠の補修構造。
続きを表示(約 460 文字)
【請求項2】
一の前記パネル枠の下枠に上枠が連結された他の前記パネル枠をさらに備えること
を特徴とする請求項1に記載の鋼製枠の補修構造。
【請求項3】
前記パネル枠は、枠内に金網、エキスパンドメタル、形鋼のうちの何れかが嵌め込まれること
を特徴とする請求項1に記載の鋼製枠の補修構造。
【請求項4】
前記パネル取付金具は、前記立設方向の断面がL字状に設けられること
を特徴とする請求項1に記載の鋼製枠の補修構造。
【請求項5】
立設されるH形鋼の支柱と、前記支柱間に架設される水平フレームとを有する鋼製枠の補修方法であって、
上枠及び下枠と、左右一対の縦枠とからなるパネル枠の上枠に取り付けたズレ防止金具を前記水平フレームに掛止させる横フレーム取付ステップと、
前記パネル枠の縦枠にそれぞれ取り付けたパネル取付金具に前記支柱のフランジを挟持させる縦フレーム取付ステップと、を有すること
を特徴とする鋼製枠の補修方法。
発明の詳細な説明
【技術分野】
【0001】
本発明は、鋼製枠の補修構造及び鋼製枠の補修方法に関する。
続きを表示(約 1,300 文字)
【背景技術】
【0002】
従来、堰堤や擁壁、あるいは護岸等として、鋼製の枠組の中に石材などの中詰材を充填した鋼製枠が知られている。鋼製枠は、柱材(支柱)、水平材(水平フレーム)及び繋ぎ材(繋ぎフレーム)により骨組みが形成され、前面側(下流側)等外側に位置する面にスクリーン材を設け、石材等の中詰材を充填して構築している。鋼製枠は、鋼製枠本体及び中詰材の重量により背面からの土圧などに抵抗する。
【0003】
しかし、鋼製枠は長年の使用によりスクリーン材が破損したり、経年劣化により腐食したりすることにより、スクリーン材が外れてしまうことがある。スクリーン材が外れてしまうと鋼製枠内に充填した中詰材の流出が想定されるため、既設の鋼製枠への補修が必要とされていた。この既設の鋼製枠への補修の技術として、例えば下記に示す特許文献1が公開されている。
【0004】
特許文献1では、フランジにクリップナットを取付け、これを介してスクリーン材を1本単位で取り換える壁体構造物が開示されている。
【先行技術文献】
【特許文献】
【0005】
特開2016-223191号公報
【発明の概要】
【発明が解決しようとする課題】
【0006】
一方、特許文献1に記載された壁体構造物では、既存のスクリーン材が破損している場合に、既存のスクリーン材を取り外す必要があった。しかしながら、既存のスクリーン材を外したときに、中詰材が流出する可能性があった。また、既存のスクリーン材が複数破損している場合、破損しているスクリーン材に対して一本ずつ補修を行う必要がある。これらのため、特許文献1に記載された壁体構造物では、施工に必要なコストが大きくなるという問題点があった。
【0007】
そこで本発明は、上述した問題点に鑑みて案出されたものであり、その目的とするところは、既存のスクリーン材を取り外すことなく、低コストで容易に鋼製枠を補修することが可能な鋼製枠の補修構造及び鋼製枠の補修方法を提供することにある。
【課題を解決するための手段】
【0008】
第1発明に係る鋼製枠の補修構造は、立設されるH形鋼の支柱と、前記支柱間に架設される水平フレームとを有する鋼製枠の補修構造であって、上枠及び下枠と、左右一対の縦枠とを有するパネル枠と、前記パネル枠の上枠に取り付けられ、前記水平フレームに掛止されるズレ防止金具と、前記パネル枠の縦枠にそれぞれ取り付けられ、前記支柱のフランジを挟持する挟持部を有するパネル取付金具とを備えることを特徴とする。
【0009】
第2発明に係る鋼製枠の補修構造は、第1発明において、一の前記パネル枠の下枠に上枠が連結された他の前記パネル枠をさらに備えることを特徴とする。
【0010】
第3発明に係る鋼製枠の補修構造は、第1発明において、前記パネル枠は、枠内に金網、エキスパンドメタル、形鋼のうちの何れかが嵌め込まれることを特徴とする。
(【0011】以降は省略されています)
この特許をJ-PlatPat(特許庁公式サイト)で参照する
関連特許
日鉄建材株式会社
成形装置
4日前
日鉄建材株式会社
屋根構造
1か月前
日鉄建材株式会社
金属管支柱
11日前
日鉄建材株式会社
外壁通気工法用ラス
5日前
日鉄建材株式会社
屋根部材の接合構造
25日前
日鉄建材株式会社
屋根部材の接合構造
25日前
日鉄建材株式会社
デッキプレート構造
11日前
日鉄建材株式会社
床付き布枠の掴み金具
25日前
日鉄建材株式会社
掩体及び掩体の構築方法
2か月前
日鉄建材株式会社
胴縁の設計方法および胴縁
2か月前
日鉄建材株式会社
鉄骨造の乾式屋根の設計方法
11日前
日鉄建材株式会社
モールドパウダーの製造方法
7日前
日鉄建材株式会社
屋根部材の接合構造の設計方法
25日前
日鉄建材株式会社
解析システム、および解析方法
7日前
日鉄建材株式会社
構造物用補強リング及び構造物
12日前
日鉄建材株式会社
吊り材で支持された足場用床パネル
4日前
日鉄建材株式会社
砂防構造体のアンカーボルト保護構造
7日前
日鉄建材株式会社
鋼製枠の補修構造及び鋼製枠の補修方法
4日前
日鉄建材株式会社
鋼製枠の補修構造及び鋼製枠の補修方法
4日前
日鉄建材株式会社
スラリー及びモールドパウダーの製造方法
5日前
日鉄建材株式会社
乾式屋根の設計システム、及び乾式屋根の設計方法
11日前
日鉄建材株式会社
排水パイプ、排水パイプ用端末材、及び擁壁排水構造
1か月前
日鉄建材株式会社
門型波形鋼板の立設方法、及び門型波形鋼板の立設治具
4日前
日鉄建材株式会社
コルゲートセクションの接合構造及びコルゲート構造物
1か月前
日鉄建材株式会社
補強壁部材の継手構造および補強壁部材ならびに壁構造体
4日前
日鉄建材株式会社
ライナープレート用補強材、及びライナープレート補強構造
4日前
日鉄建材株式会社
防音壁ユニット、防音壁ユニットの交換方法及び防音壁の構築方法
4日前
日鉄建材株式会社
上下の柱部材の溶接接合構造および溶接接合工法ならびに上下の柱部材
26日前
日鉄建材株式会社
上下の柱部材の溶接接合構造および溶接接合工法ならびに上下の柱部材
26日前
日鉄建材株式会社
水平構面構造、水平構面構造の設計方法、および水平構面構造の施工方法
2か月前
東日本旅客鉄道株式会社
深礎基礎および深礎基礎の施工方法
12日前
鉄建建設株式会社
立坑の構築装置、及び立坑の構築方法
1か月前
鉄建建設株式会社
立坑の構築装置、及び立坑の構築方法
1か月前
FKS株式会社
擁壁
15日前
鈴健興業株式会社
敷板部材
11日前
株式会社クボタ
作業車
13日前
続きを見る
他の特許を見る