TOP
|
特許
|
意匠
|
商標
特許ウォッチ
Twitter
他の特許を見る
10個以上の画像は省略されています。
公開番号
2025153789
公報種別
公開特許公報(A)
公開日
2025-10-10
出願番号
2024056425
出願日
2024-03-29
発明の名称
鋼製枠の補修構造及び鋼製枠の補修方法
出願人
日鉄建材株式会社
代理人
個人
主分類
E02B
3/10 20060101AFI20251002BHJP(水工;基礎;土砂の移送)
要約
【課題】低コストで容易に鋼製枠を補修することが可能な鋼製枠の補修構造及び鋼製枠の補修方法を提供する。
【解決手段】鋼製枠の補修構造は、立設される支柱と、前記支柱間に架設される水平フレームとを有する鋼製枠の補修構造であって、前記支柱の立設方向に延び、前記支柱にそれぞれ取り付けられる取付ブラケットと、前記取付ブラケット間に2以上の新設スクリーン材と、を備えることを特徴とする。
【選択図】図1
特許請求の範囲
【請求項1】
立設される支柱と、前記支柱間に架設される水平フレームとを有する鋼製枠の補修構造であって、
前記支柱の立設方向に延び、前記支柱にそれぞれ取り付けられる取付ブラケットと、
前記取付ブラケット間に2以上の新設スクリーン材と、を備えること
を特徴とする鋼製枠の補修構造。
続きを表示(約 800 文字)
【請求項2】
立設される支柱と、前記支柱間に架設される水平フレームとを有する鋼製枠の補修構造であって、
前記支柱の立設方向に延び、前記水平フレーム間に架設される取付ブラケットと、
前記取付ブラケット間に2以上の新設スクリーン材と、を備えること
を特徴とする鋼製枠の補修構造。
【請求項3】
前記取付ブラケットは、ボルトを介して前記支柱に取り付けられ、
前記新設スクリーン材は、ボルトを介して前記取付ブラケットに取り付けられること
を特徴とする請求項1に記載の鋼製枠の補修構造。
【請求項4】
前記取付ブラケットは、ボルトを介して前記水平フレームに取り付けられ、
前記新設スクリーン材は、ボルトを介して前記取付ブラケットに取り付けられること
を特徴とする請求項2に記載の鋼製枠の補修構造。
【請求項5】
前記取付ブラケットは、H形鋼の前記支柱のフランジの内側に差し込まれるフランジ取り付け部を有すること
を特徴とする請求項1に記載の鋼製枠の補修構造。
【請求項6】
前記取付ブラケットは、前記支柱の立設方向の断面形状において、前記フランジ取り付け部から前記フランジの外側へ折り返され、前記新設スクリーン材が取り付けられる固定部を有すること
を特徴とする請求項4に記載の鋼製枠の補修構造。
【請求項7】
立設される支柱と、前記支柱間に架設される水平フレームとを有する鋼製枠の補修方法であって、
前記支柱の立設方向に延びる取付ブラケットを、前記支柱にそれぞれ取り付けるブラケット取付ステップと、
前記取付ブラケット間に2以上の新設スクリーン材を並設させるスクリーン取付ステップと、を有すること
を特徴とする鋼製枠の補修方法。
発明の詳細な説明
【技術分野】
【0001】
本発明は、鋼製枠の補修構造及び鋼製枠の補修方法に関する。
続きを表示(約 1,300 文字)
【背景技術】
【0002】
従来、堰堤や擁壁、あるいは護岸等として、鋼製の枠組の中に石材などの中詰材を充填した鋼製枠が知られている。鋼製枠は、柱材(支柱)、水平材(水平フレーム)及び繋ぎ材(繋ぎフレーム)により骨組みが形成され、前面側(下流側)等外側に位置する面にスクリーン材を設け、石材等の中詰材を充填して構築している。鋼製枠は、鋼製枠本体及び中詰材の重量により背面からの土圧などに抵抗する。
【0003】
しかし、鋼製枠は長年の使用によりスクリーン材が破損したり、経年劣化により腐食したりすることによりスクリーン材が外れてしまうことがある。スクリーン材が外れてしまうと鋼製枠内に充填した中詰材の流出が想定されるため、既設の鋼製枠への補修が必要とされていた。この既設の鋼製枠への補修の技術として、例えば下記に示す特許文献1が公開されている。
【0004】
特許文献1では、フランジにクリップナットを取付け、これを介してスクリーン材を1本単位で取り換える壁体構造物が開示されている。
【先行技術文献】
【特許文献】
【0005】
特開2016-223191号公報
【発明の概要】
【発明が解決しようとする課題】
【0006】
一方、特許文献1に記載された壁体構造物では、既存のスクリーン材が破損している場合に、既存のスクリーン材を取り外す必要があった。しかしながら、既存のスクリーン材を外したときに、中詰材が流出する可能性があった。また、既存のスクリーン材が複数破損している場合、破損しているスクリーン材に対して一本ずつ補修を行う必要がある。これらのため、特許文献1に記載された壁体構造物では、施工に必要なコストが大きくなるという問題点があった。
【0007】
そこで本発明は、上述した問題点に鑑みて案出されたものであり、その目的とするところは、低コストで容易に鋼製枠を補修することが可能な鋼製枠の補修構造及び鋼製枠の補修方法を提供することにある。
【課題を解決するための手段】
【0008】
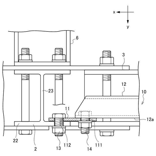
第1発明に係る鋼製枠の補修構造は、立設される支柱と、前記支柱間に架設される水平フレームとを有する鋼製枠の補修構造であって、前記支柱の立設方向に延び、前記支柱にそれぞれ取り付けられる取付ブラケットと、前記取付ブラケット間に2以上の新設スクリーン材と、を備えることを特徴とする。
【0009】
第2発明に係る鋼製枠の補修構造は、立設される支柱と、前記支柱間に架設される水平フレームとを有する鋼製枠の補修構造であって、前記支柱の立設方向に延び、前記水平フレーム間に架設される取付ブラケットと、前記取付ブラケット間に2以上の新設スクリーン材と、を備えることを特徴とする。
【0010】
第3発明に係る鋼製枠の補修構造は、第1発明において、前記取付ブラケットは、ボルトを介して前記支柱に取り付けられ、前記新設スクリーン材は、ボルトを介して前記取付ブラケットに取り付けられることを特徴とする。
(【0011】以降は省略されています)
この特許をJ-PlatPat(特許庁公式サイト)で参照する
関連特許
日鉄建材株式会社
成形装置
25日前
日鉄建材株式会社
金属管支柱
1か月前
日鉄建材株式会社
屋根部材の接合構造
1か月前
日鉄建材株式会社
デッキプレート構造
1か月前
日鉄建材株式会社
外壁通気工法用ラス
26日前
日鉄建材株式会社
鉄骨造の乾式屋根の設計方法
1か月前
日鉄建材株式会社
モールドパウダーの製造方法
28日前
日鉄建材株式会社
構造物用補強リング及び構造物
1か月前
日鉄建材株式会社
解析システム、および解析方法
28日前
日鉄建材株式会社
吊り材で支持された足場用床パネル
25日前
日鉄建材株式会社
砂防構造体のアンカーボルト保護構造
28日前
日鉄建材株式会社
鋼製枠の補修構造及び鋼製枠の補修方法
25日前
日鉄建材株式会社
鋼製枠の補修構造及び鋼製枠の補修方法
25日前
日鉄建材株式会社
スラリー及びモールドパウダーの製造方法
26日前
日鉄建材株式会社
乾式屋根の設計システム、及び乾式屋根の設計方法
1か月前
日鉄建材株式会社
デッキ合成スラブ構造及びデッキ合成スラブ施工方法
7日前
日鉄建材株式会社
門型波形鋼板の立設方法、及び門型波形鋼板の立設治具
25日前
日鉄建材株式会社
補強壁部材の継手構造および補強壁部材ならびに壁構造体
25日前
日鉄建材株式会社
ライナープレート用補強材、及びライナープレート補強構造
25日前
日鉄建材株式会社
斜面対策構造
20日前
日鉄建材株式会社
防音壁ユニット、防音壁ユニットの交換方法及び防音壁の構築方法
25日前
東日本旅客鉄道株式会社
深礎基礎および深礎基礎の施工方法
1か月前
個人
バケット
5日前
個人
建物の不同沈下の修正方法
12日前
株式会社大林組
操縦装置
8日前
千代田工営株式会社
回転貫入杭
19日前
株式会社富田製作所
継手部構造
5日前
株式会社熊谷組
山留壁用親杭
25日前
日本車輌製造株式会社
建設機械
21日前
日立建機株式会社
作業車両
21日前
日立建機株式会社
作業機械
19日前
日立建機株式会社
作業機械
25日前
ヤンマーホールディングス株式会社
作業機械
18日前
ヤンマーホールディングス株式会社
作業機械
18日前
日立建機株式会社
作業機械
25日前
日立建機株式会社
作業機械
25日前
続きを見る
他の特許を見る