TOP
|
特許
|
意匠
|
商標
特許ウォッチ
Twitter
他の特許を見る
10個以上の画像は省略されています。
公開番号
2025152410
公報種別
公開特許公報(A)
公開日
2025-10-09
出願番号
2024054285
出願日
2024-03-28
発明の名称
トイレシステム、表示方法及び表示プログラム
出願人
TOTO株式会社
代理人
弁理士法人iX
主分類
G16H
10/40 20180101AFI20251002BHJP(特定の用途分野に特に適合した情報通信技術)
要約
【課題】女性の生理現象の時期がずれる可能性があることを表示できるトイレシステム、表示方法及び表示プログラムを提供することを目的とする。
【解決手段】トイレ装置を使用する使用者の生体情報を測定する測定部と、測定部の測定結果を日付情報とともに記憶する記憶手段と、測定部が測定した生体情報に基づいて、女性の生理現象の次回の時期を推定する時期推定手段と、を備え、時期推定手段の推定結果を表示する表示手段が、時期推定手段によって推定される次回の時期と、使用者の過去の生理現象の時期に基づいて推定される生理現象の次回の時期と、のずれを表示することを特徴とするトイレシステムが提供される。
【選択図】図1
特許請求の範囲
【請求項1】
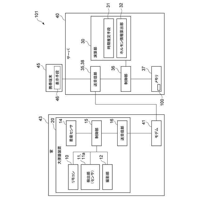
トイレ装置を使用する使用者の生体情報を測定する測定部と、
前記測定部の測定結果を日付情報とともに記憶する記憶手段と、
前記測定部が測定した前記生体情報に基づいて、女性の生理現象の次回の時期を推定する時期推定手段と、
を備え、
前記時期推定手段の推定結果を表示する表示手段が、前記時期推定手段によって推定される前記次回の時期と、前記使用者の過去の前記生理現象の時期に基づいて推定される前記生理現象の次回の時期と、のずれを表示することを特徴とするトイレシステム。
続きを表示(約 1,400 文字)
【請求項2】
前記生体情報は、ホルモン情報であることを特徴とする請求項1に記載のトイレシステム。
【請求項3】
前記測定部は、前記使用者の体液由来成分に基づいて前記ホルモン情報を測定することを特徴とする請求項2に記載のトイレシステム。
【請求項4】
前記ホルモン情報は、エストロゲン、プロゲステロン、黄体化ホルモン及び卵胞刺激ホルモンの少なくとも1つの情報を含み、
前記体液由来成分は、尿、尿の揮発成分、血液、汗、及び汗の揮発成分の少なくとも1つを含むことを特徴とする請求項3に記載のトイレシステム。
【請求項5】
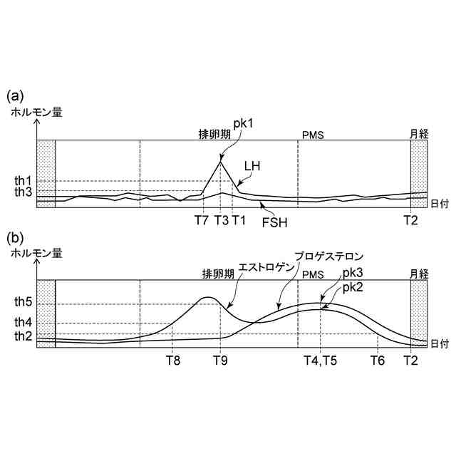
前記表示手段は、前記ホルモン情報の今回の時系列グラフと、前記ホルモン情報の過去の時系列グラフと、を重ねて表示し、
前記今回の時系列グラフは、前回の前記生理現象の時期以降における前記ホルモン情報を表し、
前記過去の時系列グラフは、所定長さの期間における前記ホルモン情報に基づき、前回の前記生理現象の前記時期より前における前記ホルモン情報を表すことを特徴とする請求項2~4のいずれか1つに記載のトイレシステム。
【請求項6】
前記表示手段は、前記ホルモン情報の今回の時系列グラフと、前記ホルモン情報の過去の時系列グラフと、を重ねて表示し、
前記今回の時系列グラフは、前回の前記生理現象の時期以降における前記ホルモン情報を表し、
前記過去の時系列グラフは、前回の前記生理現象の前記時期と前々回の前記生理現象の時期との間における前記ホルモン情報を表すことを特徴とする請求項2~4のいずれか1つに記載のトイレシステム。
【請求項7】
前記使用者の個人情報、生活情報、及び生体情報の少なくとも1つを含む使用者情報を受け付ける受付手段をさらに備え、
前記時期推定手段は、前記使用者情報と前記測定部が測定した前記ホルモン情報とに基づいて、前記次回の時期を推定することを特徴とする請求項2~4のいずれか1つに記載のトイレシステム。
【請求項8】
前記使用者が前記トイレ装置の便座に着座したことを検知する着座センサの検知結果に基づいて、前記ホルモン情報の分析が開始されることを特徴とする請求項2~4のいずれか1つに記載のトイレシステム。
【請求項9】
前記時期推定手段は、前回の前記生理現象の後の第1時刻に測定した前記生体情報に基づいて推定した前記次回の時期を、前記第1時刻の後の第2時刻に測定した前記生体情報に基づいて推定した前記次回の時期に更新することを特徴とする請求項1~4のいずれか1つに記載のトイレシステム。
【請求項10】
測定部によってトイレ装置を使用する使用者の生体情報を測定し、
記憶手段によって、前記測定部の測定結果を日付情報とともに記録し、
時期推定手段によって、前記測定部が測定した前記生体情報に基づいて、女性の生理現象の次回の時期を推定し、
前記時期推定手段の推定結果を表示する表示手段によって、前記時期推定手段によって推定される前記次回の時期と、前記使用者の過去の前記生理現象の時期に基づいて推定される前記生理現象の次回の時期と、のずれを表示することを特徴とする表示方法。
(【請求項11】以降は省略されています)
発明の詳細な説明
【技術分野】
【0001】
本発明の態様は、一般的に、トイレシステム、表示方法及び表示プログラムに関する。
続きを表示(約 1,200 文字)
【背景技術】
【0002】
トイレ使用の際に女性ホルモンの分泌量などの生体情報を測定し、測定した生体情報に基づいて、次の月経の時期を推定するシステムが提案されている。
トイレ使用の際に測定された生体情報に基づいて推定される次回の生理現象(例えば月経)の時期は、使用者の過去の生理現象の時期から推定される次回の生理現象の時期からずれる可能性がある。このような時期のずれは、例えば使用者のホルモンバランスが崩れ、月経などの生理現象の周期が乱れると生じる可能性がある。従来のシステムでは、時期のずれの可能性を知ることが困難な場合がある。
【先行技術文献】
【特許文献】
【0003】
国際公開第2023/203963号
【発明の概要】
【発明が解決しようとする課題】
【0004】
本発明は、かかる課題の認識に基づいてなされたものであり、女性の生理現象の時期がずれる可能性があることを表示できるトイレシステム、表示方法及び表示プログラムを提供することを目的とする。
【課題を解決するための手段】
【0005】
第1の発明は、トイレ装置を使用する使用者の生体情報を測定する測定部と、前記測定部の測定結果を日付情報とともに記憶する記憶手段と、前記測定部が測定した前記生体情報に基づいて、女性の生理現象の次回の時期を推定する時期推定手段と、を備え、前記時期推定手段の推定結果を表示する表示手段が、前記時期推定手段によって推定される前記次回の時期と、前記使用者の過去の前記生理現象の時期に基づいて推定される前記生理現象の次回の時期と、のずれを表示することを特徴とするトイレシステムである。
【0006】
このトイレシステムによれば、使用者の生体情報に基づいて推定される次回の生理現象の時期が、過去の生理現象の時期から推定される次回の生理現象の時期からずれることが表示できる。すなわち、女性の生理現象の時期がずれる可能性があることを表示できる。
【0007】
第2の発明は、第1の発明において、前記生体情報は、ホルモン情報であることを特徴とするトイレシステムである。
【0008】
このトイレシステムによれば、ホルモン情報に基づいて次回の生理現象の時期を推定することにより、生体情報に基づいて推定される生理現象の時期の推定精度を高くすることができる。
【0009】
第3の発明は、第2の発明において、前記測定部は、前記使用者の体液由来成分に基づいて前記ホルモン情報を測定することを特徴とするトイレシステムである。
【0010】
このトイレシステムによれば、ホルモン情報に基づいて次回の生理現象の時期を推定することにより、生体情報に基づいて推定される生理現象の時期の推定精度を高くすることができる。
(【0011】以降は省略されています)
この特許をJ-PlatPat(特許庁公式サイト)で参照する
関連特許
TOTO株式会社
浴室
1か月前
TOTO株式会社
浴室
1か月前
TOTO株式会社
洗面器
8日前
TOTO株式会社
洗面器
8日前
TOTO株式会社
吐水装置
2日前
TOTO株式会社
水栓装置
22日前
TOTO株式会社
吐水装置
2日前
TOTO株式会社
水栓装置
22日前
TOTO株式会社
構造部材
2日前
TOTO株式会社
構造部材
2日前
TOTO株式会社
水栓装置
22日前
TOTO株式会社
水栓装置
22日前
TOTO株式会社
水栓装置
22日前
TOTO株式会社
水栓装置
22日前
TOTO株式会社
複合材料
23日前
TOTO株式会社
便器装置
1か月前
TOTO株式会社
水栓装置
22日前
TOTO株式会社
水栓装置
22日前
TOTO株式会社
水栓装置
22日前
TOTO株式会社
吐水装置
2日前
TOTO株式会社
トイレ装置
4日前
TOTO株式会社
トイレ装置
8日前
TOTO株式会社
水洗大便器
1日前
TOTO株式会社
水洗大便器
1日前
TOTO株式会社
水洗大便器
1日前
TOTO株式会社
水洗大便器
1か月前
TOTO株式会社
水洗大便器
1日前
TOTO株式会社
水洗大便器
1か月前
TOTO株式会社
浴室システム
12日前
TOTO株式会社
静電チャック
12日前
TOTO株式会社
静電チャック
12日前
TOTO株式会社
静電チャック
12日前
TOTO株式会社
静電チャック
12日前
TOTO株式会社
浴室システム
1か月前
TOTO株式会社
静電チャック
12日前
TOTO株式会社
浴室システム
1か月前
続きを見る
他の特許を見る