TOP
|
特許
|
意匠
|
商標
特許ウォッチ
Twitter
他の特許を見る
公開番号
2025152113
公報種別
公開特許公報(A)
公開日
2025-10-09
出願番号
2024053857
出願日
2024-03-28
発明の名称
本人認証システム、端末装置、コンピュータプログラムおよび本人認証方法
出願人
大日本印刷株式会社
代理人
個人
,
個人
,
個人
,
個人
,
個人
主分類
G06F
21/32 20130101AFI20251002BHJP(計算;計数)
要約
【課題】端末装置を操作するユーザが、携帯型記憶媒体の所有者かどうかを確認でき、更に、端末装置を操作するユーザが端末装置の正当な所有者かどうかを確認できる本人認証システム及び本人認証方法を提供する。
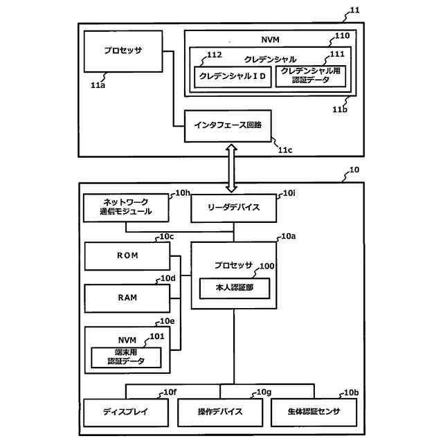
【解決手段】本人認証システムにおいて、端末装置10は、ユーザの生体認証で使用する認証データとして、端末装置の所有者の生体データである端末用認証データ101を記憶する。携帯型記憶媒体11が記憶するクレデンシャル110は、クレデンシャル110で識別される人の生体データであるクレデンシャル用認証データ111を記憶する。端末装置10の本人認証部100は、端末装置10を操作するユーザの本人認証を行う際、生体認証センサ10bが取得した生体データと端末用認証データ101を照合する第1生体認証と、生体認証センサ10bが取得した生体データとクレデンシャル用認証データ111を照合する第2生体認証と、を実行する。
【選択図】図2
特許請求の範囲
【請求項1】
携帯型記憶媒体と端末装置から少なくとも構成され、
前記携帯型記憶媒体は、前記携帯型記憶媒体を所有するユーザの生体データであるクレデンシャル用認証データを含むクレデンシャルを記憶する第1メモリを備え、
前記端末装置は、前記端末装置を所有するユーザの生体データである端末用認証データを記憶する第2メモリと、生体データを取得する生体認証センサと、前記生体認証センサが取得した生体データと前記第2メモリから読み出した前記端末用認証データを照合する第1生体認証、および、前記生体認証センサが取得した生体データと前記携帯型記憶媒体から読み出した前記クレデンシャルに含まれる前記クレデンシャル用認証データを照合する第2生体認証をそれぞれ実行する本人認証部を備える、
ことを特徴とする本人認証システム。
続きを表示(約 1,000 文字)
【請求項2】
前記携帯型記憶媒体が記憶する前記クレデンシャルは、前記クレデンシャルの識別に用いるクレデンシャルIDを含み、
前記端末装置の前記本人認証部は、前記第1生体認証および前記第2生体認証それぞれに成功すると、前記携帯型記憶媒体から読み出した前記クレデンシャルに含まれる前記クレデンシャルIDを使用して、所定のサービスサーバにアクセスする、
ことを特徴とする、請求項1に記載した本人認証システム。
【請求項3】
請求項1または2に記載した本人認証システムを構成する端末装置。
【請求項4】
請求項1または2に記載した本人認証システムを構成する端末装置が備える本人認証部として、プロセッサを機能させるコンピュータプログラム。
【請求項5】
端末装置が、前記端末装置を操作するユーザが所持する携帯型記憶媒体から、前記携帯型記憶媒体を所有するユーザの生体データであるクレデンシャル用認証データを含むクレデンシャルを読み出すステップa、
前記端末装置が、生体データを取得する生体認証センサを使用して、前記端末装置を操作するユーザの生体データを取得するステップb、
前記端末装置が、前記ステップbで前記生体認証センサが取得した生体データと、前記端末装置に登録された生体データで、前記端末装置を所有するユーザの生体データである端末用認証データを照合する第1生体認証を行うステップc、
前記端末装置が、前記ステップbで前記生体認証センサが取得した生体データと前記携帯型記憶媒体から読み出した前記クレデンシャルに含まれる前記クレデンシャル用認証データを照合する第2生体認証を行うステップd、
を含むことを特徴とする本人認証方法。
【請求項6】
前記携帯型記憶媒体が記憶する前記クレデンシャルは、前記クレデンシャルの識別に用いるクレデンシャルIDを含み、
前記端末装置が、前記ステップcで行った前記第1生体認証に成功し、かつ、前記ステップdで行った前記第2生体認証に成功すると、前記携帯型記憶媒体から読み出した前記クレデンシャルに含まれる前記クレデンシャルIDを使用して、所定のサービスサーバにアクセスするステップeを含む、
ことを特徴とする請求項5に記載した本人認証方法。
発明の詳細な説明
【技術分野】
【0001】
本願は、スマートフォンなどの端末装置を操作するユーザを本人認証する技術に関する。
続きを表示(約 2,400 文字)
【背景技術】
【0002】
以前から、ユーザのクレデンシャルを使用して、サービスやシステムを利用するユーザの本人認証を行っている。クレデンシャルは、サービスやシステムを利用するユーザの身元確認に使用するデータで、クレデンシャルには、身元確認で使用する様々なデータが含まれる。例えば、クレデンシャルには、クレデンシャルが発行されたユーザを識別するためのクレデンシャルID、および、認証情報(パスワード、生体的特徴を示す生体データなど)を含ませることができる。
【0003】
特許文献1で開示されたシステムは、ユーザの顔画像を本人認証に使用するシステムである。特許文献1で開示されたシステムにおいて、端末装置は、所有者の顔画像を含む個人情報(クレデンシャルに相当)とこれの電子署名を携帯型記憶媒体(ICカード)から取得する。端末装置は、携帯型記憶媒体から取得したこれらのデータに加えて、端末装置が撮影した対象者の撮影画像をサーバへ送信し、サーバは、電子署名を用いた個人情報の正当性検証と、個人情報に含まれる顔画像と撮影画像を照合する顔認証を行い、これらの結果に基づいて、ユーザの本人認証を行う。
【先行技術文献】
【特許文献】
【0004】
特開2015-88080号公報
【発明の概要】
【発明が解決しようとする課題】
【0005】
特許文献1で開示された発明では、ユーザの生体データとなる顔写真を携帯型記憶媒体に記憶させ、携帯型記憶媒体から取得した生体データを使用して、端末装置を操作するユーザを本人認証している。しかし、上述した従来の技術では、端末装置を操作するユーザが、携帯型記憶媒体の所有者かどうかを確認できるが、端末装置を操作するユーザが端末装置の正当な所有者かどうかを確認できない。
【0006】
そこで、本願では、端末装置を操作するユーザが、携帯型記憶媒体の所有者かどうかを確認でき、更に、端末装置を操作するユーザが端末装置の正当な所有者かどうかを確認できるようにすることを目的とする。
【課題を解決するための手段】
【0007】
上述した課題を解決する第1発明はシステムに係る発明である。第1発明に係る本人認証システムは、携帯型記憶媒体と端末装置から少なくとも構成される。第1発明に係る前記携帯型記憶媒体は、前記携帯型記憶媒体を所有するユーザの生体データであるクレデンシャル用認証データを含むクレデンシャルを記憶する第1メモリを備える。また、第1発明に係る前記端末装置は、前記端末装置を所有するユーザの生体データである端末用認証データを記憶する第2メモリと、生体データを取得する生体認証センサと、前記生体認証センサが取得した生体データと前記第2メモリから読み出した前記端末用認証データを照合する第1生体認証、および、前記生体認証センサが取得した生体データと前記携帯型記憶媒体から読み出した前記クレデンシャルに含まれる前記クレデンシャル用認証データを照合する第2生体認証をそれぞれ実行する本人認証部を備える。第1発明では、前記携帯型記憶媒体が記憶する前記クレデンシャルは、前記クレデンシャルの識別に用いるクレデンシャルIDを含み、前記端末装置の前記本人認証部は、前記第1生体認証および前記第2生体認証それぞれに成功すると、前記携帯型記憶媒体から読み出した前記クレデンシャルに含まれる前記クレデンシャルIDを使用して、所定のサービスサーバにアクセスすることが好適である。
【0008】
第2発明は、端末装置に係る発明で、第3発明は、コンピュータプログラムに係る発明である。第2発明は、第1発明に記載した本人認証システムを構成する端末装置である。第3発明は、第1発明に記載した本人認証システムを構成する端末装置が備える本人認証部として、プロセッサを機能させるコンピュータプログラムである。
【0009】
第4発明は、方法に係る発明である。第4発明は、前記端末装置を操作するユーザが所持する携帯型記憶媒体から、前記携帯型記憶媒体を所有するユーザの生体データであるクレデンシャル用認証データを含むクレデンシャルを読み出すステップa、前記端末装置が、生体データを取得する生体認証センサを使用して、前記端末装置を操作するユーザの生体データを取得するステップb、前記端末装置が、前記ステップbで前記生体認証センサが取得した生体データと、前記端末装置に登録された生体データで、前記端末装置を所有するユーザの生体データである端末用認証データを照合する第1生体認証を行うステップc、前記端末装置が、前記ステップbで前記生体認証センサが取得した生体データと前記携帯型記憶媒体から読み出した前記クレデンシャルに含まれる前記クレデンシャル用認証データを照合する第2生体認証を行うステップdを含むことを特徴とする本人認証方法である。第4発明に係る本人認証方法では、前記携帯型記憶媒体が記憶する前記クレデンシャルは、前記クレデンシャルの識別に用いるクレデンシャルIDを含み、前記端末装置が、前記ステップcで行った前記第1生体認証に成功し、かつ、前記ステップdで行った前記第2生体認証に成功すると、前記携帯型記憶媒体から読み出した前記クレデンシャルに含まれる前記クレデンシャルIDを使用して、所定のサービスサーバにアクセスするステップeを含むことが好適である。
【発明の効果】
【0010】
本願で開示する発明では、端末装置を操作するユーザが、携帯型記憶媒体の所有者かどうかを確認でき、更に、端末装置を操作するユーザが端末装置の正当な所有者かどうかを確認できる。
【図面の簡単な説明】
(【0011】以降は省略されています)
この特許をJ-PlatPat(特許庁公式サイト)で参照する
関連特許
大日本印刷株式会社
床構成体
8日前
大日本印刷株式会社
積層シート
6日前
大日本印刷株式会社
床用化粧材
2日前
大日本印刷株式会社
積層体および包装容器
2日前
大日本印刷株式会社
積層体および包装容器
6日前
大日本印刷株式会社
再配線層及びその製造方法
1日前
大日本印刷株式会社
加飾シート及び樹脂成形品
2日前
大日本印刷株式会社
情報処理装置及びプログラム
7日前
大日本印刷株式会社
学習支援装置及びプログラム
8日前
大日本印刷株式会社
水素センサおよび水素検知システム
7日前
大日本除蟲菊株式会社
薬剤揮散装置
9日前
大日本印刷株式会社
位相差板、光学部材、及び、表示装置
2日前
大日本印刷株式会社
熱転写シートと中間転写媒体との組合せ
6日前
大日本印刷株式会社
情報処理装置、情報処理方法及びプログラム
7日前
大日本印刷株式会社
情報処理装置、情報処理方法及びプログラム
7日前
大日本印刷株式会社
プログラム、情報処理方法、及び情報処理装置
9日前
大日本印刷株式会社
加飾積層体、転写シート、加飾部材、及び移動体
6日前
大日本印刷株式会社
測定システム、測定方法、測定プログラム、物体
今日
大日本印刷株式会社
加飾シート、外装部材の製造方法および外装部材
6日前
大日本印刷株式会社
化粧シート、化粧材、及び、化粧シートの製造方法
2日前
大日本印刷株式会社
化粧シート、化粧材、及び、化粧シートの製造方法
2日前
大日本印刷株式会社
化粧シート、化粧シートの製造方法および化粧部材
9日前
大日本印刷株式会社
熱転写シートの洗浄方法およびリサイクル原料の製造方法
6日前
大日本印刷株式会社
熱転写シートの洗浄方法およびリサイクル原料の製造方法
6日前
大日本印刷株式会社
デュアルインターフェースICカードおよびICモジュール
9日前
大日本印刷株式会社
デュアルインターフェースICカードおよびICモジュール
9日前
大日本印刷株式会社
薬剤一包化外部委託システム,分包管理装置およびその制御プログラム
7日前
大日本印刷株式会社
本人認証システム、端末装置、コンピュータプログラムおよび本人認証方法
7日前
大日本印刷株式会社
包装材料並びに袋及び包装体
13日前
大日本印刷株式会社
プリフォーム及びその製造方法、並びにプラスチックボトル及びその製造方法
8日前
大日本印刷株式会社
プリフォーム及びその製造方法、並びにプラスチックボトル及びその製造方法
8日前
大日本印刷株式会社
ブロー成形機のヒーター出力推論装置,方法およびプログラム,ならびに学習装置
6日前
大日本印刷株式会社
ベーパーチャンバおよび電子機器
13日前
大日本印刷株式会社
空中入力装置、空中入力表示装置
1日前
大日本印刷株式会社
電子情報記憶媒体、ICチップ、ICカード、初期応答データ出力方法、及びプログラム
7日前
大日本印刷株式会社
蒸着フィルム、積層体、包装材料及び包装容器
2日前
続きを見る
他の特許を見る