TOP
|
特許
|
意匠
|
商標
特許ウォッチ
Twitter
他の特許を見る
公開番号
2025147941
公報種別
公開特許公報(A)
公開日
2025-10-07
出願番号
2024048465
出願日
2024-03-25
発明の名称
デュアルインターフェースICカードおよびICモジュール
出願人
大日本印刷株式会社
代理人
個人
,
個人
,
個人
,
個人
,
個人
主分類
G06K
19/077 20060101AFI20250930BHJP(計算;計数)
要約
【課題】ICカードとしての耐久性を確保しながら構成が簡略化できるデュアルインターフェースICカード及びこれに使用するICモジュールを提供する。
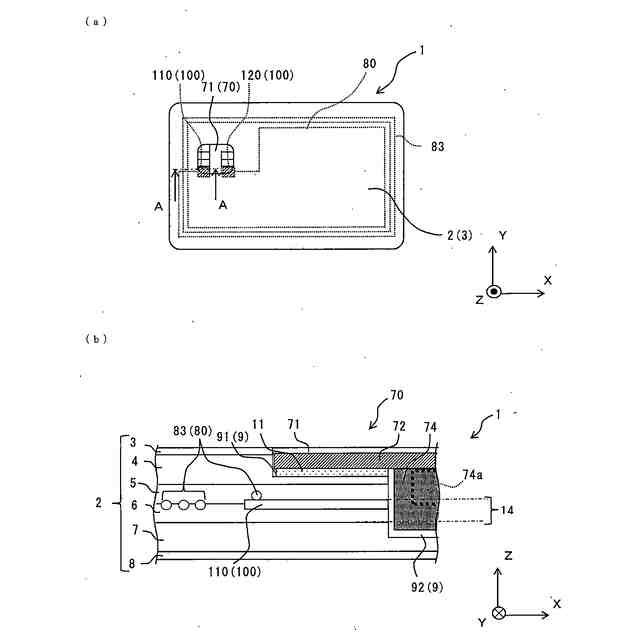
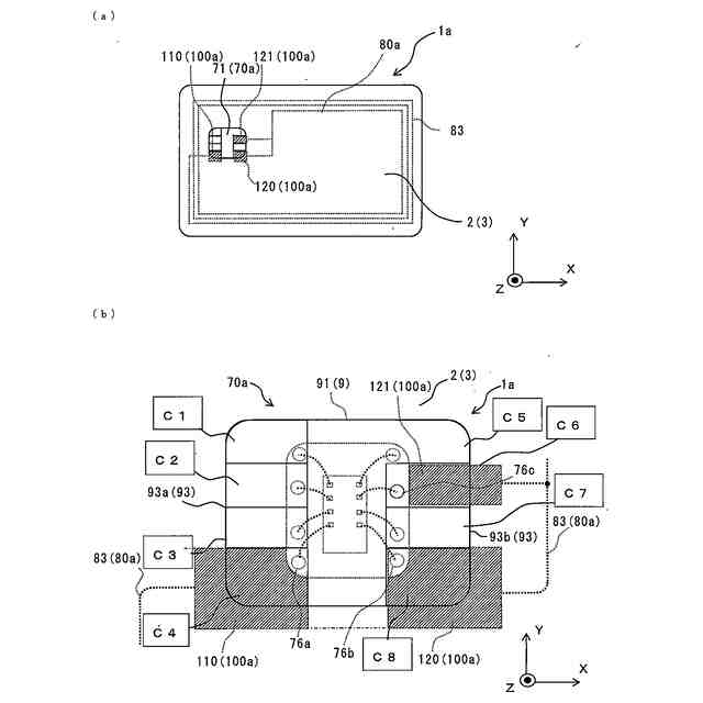
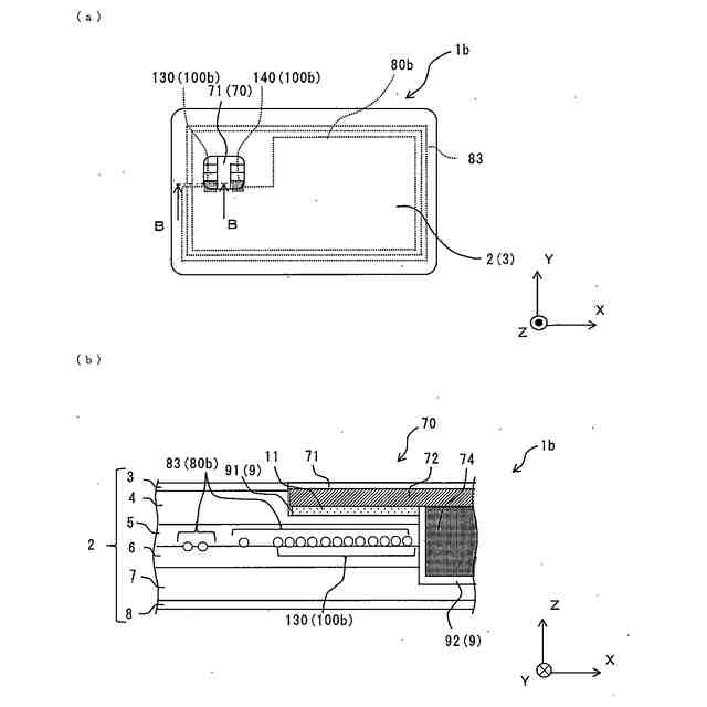
【解決手段】ICカード1は、凹部9が形成されたカード基体2とICモジュール70とアンテナ80と、を備える。ICモジュール70は、基板72と、ICチップ74aと、接触通信に使用する第1の端子及び非接触通信に使用する第2の端子から構成された外部接続端子71と、を備える。アンテナ80は、アンテナ線83と、先端に配置され当該アンテナ線83と電気的に接続された容量形成部である導電プレート100と、を備える。第2の端子と容量形成部とがそれぞれ容量結合することよってICチップ74aとアンテナ80とが閉回路を形成し、外部接続端子71は、カード基体2の凹部9が形成された面に露出し、容量形成部は第2の端子と少なくとも部分的に重畳し、かつ、第1の端子とは重畳しない。
【選択図】図1
特許請求の範囲
【請求項1】
外部機器との接触通信および非接触通信が可能なデュアルインターフェースICカードであって、
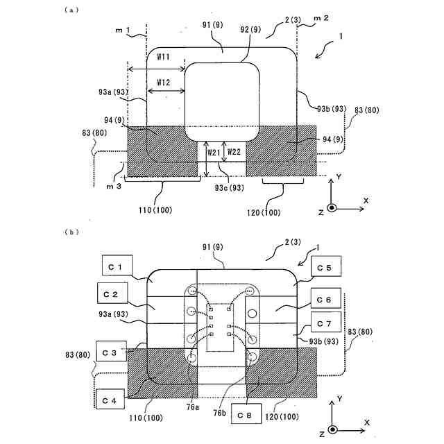
凹部が形成されたカード基体と、
前記凹部に埋設されたICモジュールと、
前記カード基体の内部に配置されたアンテナと、を備え、
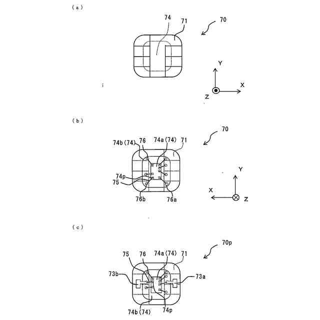
前記ICモジュールは、基板と、当該基板の一方の面側に配置されたICチップと、当該基板の他方の面側に配置され、前記ICチップと電気的に接続され、前記接触通信に使用する複数の第1の端子、および前記非接触通信に使用する複数の第2の端子から構成された外部接続端子と、を備え、
前記アンテナは、アンテナ線と、当該アンテナ線の先端に配置され、当該アンテナ線と電気的に接続された複数の容量形成部と、を備え、
前記複数の第2の端子と前記複数の容量形成部とが、それぞれ容量結合することよって前記ICチップと前記アンテナとが閉回路を形成し、
前記外部接続端子は、前記カード基体の前記凹部が形成された面に露出しており、
前記面から平面視したときに、前記容量形成部は前記第2の端子と少なくとも部分的に重畳しかつ前記第1の端子とは重畳しない、デュアルインターフェースICカード。
続きを表示(約 950 文字)
【請求項2】
前記第2の端子は、ISO/IEC7816-2に規定されるC4端子、C8端子またはC6端子のいずれかである、請求項1に記載のデュアルインターフェースICカード。
【請求項3】
前記容量形成部は、導電プレートである、請求項1に記載のデュアルインターフェースICカード。
【請求項4】
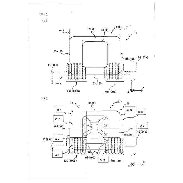
前記容量形成部は、前記アンテナ線の先端が繰り返しの折り返し構造となる蛇腹配線部である、請求項1に記載のデュアルインターフェースICカード。
【請求項5】
前記導電プレートは、前記アンテナ線の一方の先端に配置され、当該アンテナ線と電気的に接続された第1導電プレートと、前記アンテナ線の他方が分岐した先端にそれぞれ配置され、当該アンテナ線と電気的に接続された第2導電プレートおよび第3導電プレートと、から構成され、
前記面から平面視したときに、前記第1導電プレート、前記第2導電プレートおよび前記第3導電プレートは、前記第2の端子であってISO/IEC7816-2に規定されるC4端子、C8端子およびC6端子のうち、互いに異なるいずれかひとつと少なくとも部分的に重畳する、請求項3に記載のデュアルインターフェースICカード。
【請求項6】
外部機器との接触通信および非接触通信が可能なデュアルインターフェースICカードに用いられるICモジュールであって、
前記ICモジュールは、基板と、当該基板の一方の面側に配置されたICチップと、当該基板の他方の面側に配置され、前記ICチップと電気的に接続され、前記接触通信に使用する複数の第1の端子、および前記非接触通信に使用する複数の第2の端子から構成された外部接続端子と、を備え、
前記他方の面から平面視したときに、前記第2の端子と少なくとも部分的に重畳しかつ前記第1の端子とは重畳しない領域に前記第2の端子に対応する複数の容量形成部を配置し、当該複数の容量形成部同士をアンテナ線で電気的に接続したアンテナを配置した場合に、前記複数の第2の端子と前記複数の容量形成部とが、それぞれ容量結合することよって前記ICチップと前記アンテナとが閉回路を形成する、ICモジュール。
発明の詳細な説明
【技術分野】
【0001】
本発明は、外部機器との接触通信および非接触通信が可能なデュアルインターフェースICカードおよびこれに使用するICモジュールに関する。
続きを表示(約 2,300 文字)
【背景技術】
【0002】
従来、ICカードとして、カード表面の外部接続端子を通じて電気信号の入出力を行う接触ICカードや、アンテナを介して電磁誘導等により電気信号の入出力を行う非接触ICカードが用いられている。また、これらに加えて、カードが備える単一のICチップにより、接触ICカードの機能と非接触ICカードの機能とのいずれをも実現できる接触および非接触共用ICカード、すなわちデュアルインターフェースICカードも用いられている。中でも、デュアルインターフェースICカードは、金融決済時には入出力データの外部漏洩の抑制に効果的な接触ICカードとして使用でき、部屋への入退室時や駅の改札機等に対しては近接状態でデータのやり取りを行う利便性の高い非接触ICカードとして使用できる。このため、デュアルインターフェースICカードについても、市場での普及が進んでいる。
【0003】
ところで、従来の典型的なデュアルインターフェースICカードは、例えば以下の特許文献1や特許文献2として例示される。特許文献1には、外部装置接続端子とカード基体内部に埋設されたアンテナコイルとアンテナコイル接続端子とを有する接触型非接触型共用ICカードが記載されている。当該接触型非接触型共用ICカードにおいて、カード基体に形成されたICモジュール装着用凹部のICモジュールとの接触面は、当該アンテナコイル接続端子が露出するように切削される。また、基体外部から当該凹部に嵌合して装着されるICモジュール側アンテナコイル接続端子と基体側アンテナコイル接続端子との接続およびICモジュールの接触面への接着とが導電性接着材料のみを用いてされている。
【0004】
このようにICモジュール側アンテナコイル接続端子と基体側アンテナコイル接続端子との接続が導電性接着材料で行われると、ICカードを繰り返し曲げた場合等の外力により導電性接着材料の接続部分が破断したり接着の界面で剥離したりすることがある。このような外力に対する耐久性を向上するため、ICモジュールとカード基体側のアンテナとの物理的接続を介さずに両者の電気的接続を図るブースターアンテナの技術が用いられることがある。これはICモジュール側のICチップと接続するコイルとカード基体側のアンテナと接続するコイルとを互いに離間するように対向配置して電気的な接続を図るものである。
【0005】
このような例として、特許文献2には通信端子を有したICチップと第1結合コイルとを備える所定のICモジュールと、第2結合コイルと当該第2結合コイルと直列に接続されたアンテナとを備えてICモジュールが搭載された基体と、を備える通信媒体が記載されている。ICチップは通信端子を有した非接触通信部および接触通信部を備える。第2結合コイルは、第1結合コイルとの電磁結合が可能に当該第1結合コイルの外側に配置されている。
【0006】
特許文献2に記載のICカードは、特許文献1と比較して曲げ等の外力に対する耐久性や信頼性の向上が期待できる。しかし、特許文献2のようなブースターアンテナ方式のICカードでは、ICモジュール側にも非接触通信用のコイルを設ける必要がある等、ICモジュールの構造が複雑となる。さらにはカード基体側のアンテナに対してもICモジュール側のコイルと対向するコイルが必要となる等、アンテナ構成も複雑となり、ICカード全体として部品コストや製造コストの増加を招く可能性がある。
【先行技術文献】
【特許文献】
【0007】
特開2000-182017号公報
特開2016-12255号公報
【発明の概要】
【発明が解決しようとする課題】
【0008】
本開示はこのような状況に鑑みてなされたものであり、ICカードとしての耐久性を確保しながら、従来技術と比べてICモジュールやカード基体の構成が簡略化できるデュアルインターフェースICカードおよび当該ICカードに使用するICモジュールを提供することを課題とする。
【課題を解決するための手段】
【0009】
本実施の形態による、外部機器との接触通信および非接触通信が可能なデュアルインターフェースICカードの第1の構成は、凹部が形成されたカード基体と、前記凹部に埋設されたICモジュールと、前記カード基体の内部に配置されたアンテナと、を備え、前記ICモジュールは、基板と、当該基板の一方の面側に配置されたICチップと、当該基板の他方の面側に配置され、前記ICチップと電気的に接続され、前記接触通信に使用する複数の第1の端子、および前記非接触通信に使用する複数の第2の端子から構成された外部接続端子と、を備え、 前記アンテナは、アンテナ線と、当該アンテナ線の先端に配置され、当該アンテナ線と電気的に接続された複数の容量形成部と、を備え、前記複数の第2の端子と前記複数の容量形成部とが、それぞれ容量結合することよって前記ICチップと前記アンテナとが閉回路を形成し、前記外部接続端子は、前記カード基体の前記凹部が形成された面に露出しており、前記面から平面視したときに、前記容量形成部は前記第2の端子と少なくとも部分的に重畳しかつ前記第1の端子とは重畳しない。
【0010】
また、本実施の別の形態による、デュアルインターフェースICカードの第2の構成は、上記の第1の構成において、前記第2の端子は、ISO/IEC7816-2に規定されるC4端子、C8端子またはC6端子のいずれかであってもよい。
(【0011】以降は省略されています)
この特許をJ-PlatPat(特許庁公式サイト)で参照する
関連特許
大日本印刷株式会社
印刷物
9日前
大日本印刷株式会社
印刷物
9日前
大日本印刷株式会社
太陽電池
5日前
大日本印刷株式会社
旅行記作成システム
2日前
大日本印刷株式会社
調光部材及び合わせ板
2日前
大日本印刷株式会社
再配線層及びその製造方法
11日前
大日本印刷株式会社
情報処理システム、装着装置及びプログラム
2日前
大日本印刷株式会社
測定システム、測定方法、測定プログラム、物体
10日前
大日本印刷株式会社
金属板の測定装置、測定方法、及び金属板の製造方法
2日前
大日本印刷株式会社
動画再生装置、装着装置、動画再生システム及びプログラム
9日前
大日本印刷株式会社
積層体及び包装材料
9日前
大日本印刷株式会社
空中入力装置、空中入力表示装置
11日前
大日本印刷株式会社
発泡性接着シートおよび物品の製造方法
4日前
大日本印刷株式会社
発泡性接着シートおよび物品の製造方法
4日前
大日本印刷株式会社
蒸着フィルム、積層体、包装材料及び包装容器
12日前
大日本印刷株式会社
真贋判定システム、真贋判定方法、真贋判定装置、コンピュータプログラム及び対象媒体撮影方法
3日前
大日本印刷株式会社
ポリエチレン多層基材、印刷基材、積層体及び包装材料
12日前
大日本印刷株式会社
ベーパーチャンバ用のウィックシート、ベーパーチャンバおよび電子機器
11日前
大日本印刷株式会社
仕切り部材用外装材、仕切り部材用外装材の製造方法、仕切り部材、及び構造体
4日前
大日本印刷株式会社
仕切り部材用外装材、仕切り部材用外装材の製造方法、仕切り部材、及び構造体
4日前
大日本印刷株式会社
加飾表皮材、加飾部材、表示システム、加飾表皮材の製造方法及び加飾部材の製造方法
4日前
大日本印刷株式会社
光学積層体、並びに、前記光学積層体を用いた偏光板、表面板、パネル及び画像表示装置、並びに、光学積層体の製造方法、並びに、光学積層体の選定方法
9日前
大日本印刷株式会社
金属端子用接着性フィルム及びその製造方法、金属端子用接着性フィルム付き金属端子、蓄電デバイス用外装材、蓄電デバイス用外装材と金属端子用接着性フィルムを備えるキット、並びに、蓄電デバイス及びその製造方法
11日前
大日本印刷株式会社
金属端子用接着性フィルム及びその製造方法、金属端子用接着性フィルム付き金属端子、蓄電デバイス用外装材、蓄電デバイス用外装材と金属端子用接着性フィルムを備えるキット、並びに、蓄電デバイス及びその製造方法
4日前
ハウス食品株式会社
スパウトパウチ入りゼリー飲料及びその製造方法、並びにスパウトパウチ入りゼリー飲料の摂取時における糸ひき性を改善する方法
3日前
個人
詐欺保険
12日前
個人
縁伊達ポイン
12日前
個人
QRコードの彩色
16日前
個人
地球保全システム
25日前
個人
為替ポイント伊達夢貯
1か月前
個人
冷凍食品輸出支援構造
1か月前
個人
農作物用途分配システム
11日前
個人
表変換編集支援システム
1か月前
個人
残土処理システム
18日前
個人
タッチパネル操作指代替具
5日前
個人
知的財産出願支援システム
19日前
続きを見る
他の特許を見る