TOP
|
特許
|
意匠
|
商標
特許ウォッチ
Twitter
他の特許を見る
公開番号
2025160374
公報種別
公開特許公報(A)
公開日
2025-10-22
出願番号
2025126693,2025508544
出願日
2025-07-29,2024-07-16
発明の名称
金属端子用接着性フィルム及びその製造方法、金属端子用接着性フィルム付き金属端子、蓄電デバイス用外装材、蓄電デバイス用外装材と金属端子用接着性フィルムを備えるキット、並びに、蓄電デバイス及びその製造方法
出願人
大日本印刷株式会社
代理人
個人
,
個人
主分類
H01M
50/193 20210101AFI20251015BHJP(基本的電気素子)
要約
【課題】蓄電デバイス用外装材の熱融着性樹脂層と接着性フィルムとが熱融着された際に高い接着強度を発揮できる金属端子用接着性フィルムを提供する。
【解決手段】蓄電デバイス用外装材は、蓄電デバイス素子側の最表面に配置される熱融着性樹脂層を備えており、金属端子用接着性フィルムは、一方側の表面を構成する樹脂層Aを備え、金属端子用接着性フィルムと金属端子とを、温度200℃、圧力0.25MPa、16秒間の条件で熱融着させて、樹脂層Aが表面に位置するように配置された金属端子用接着性フィルム付き金属端子を取得し、金属端子用接着性フィルム付き金属端子の樹脂層Aについて測定した配向度Pと、配向度が0.000~0.100の熱融着性樹脂層の配向度Qとの差の絶対値|P-Q|が、0.200以下である、金属端子用接着性フィルム。
【選択図】図2
特許請求の範囲
【請求項1】
蓄電デバイス素子の電極に電気的に接続された金属端子と、前記蓄電デバイス素子を封止する蓄電デバイス用外装材との間に介在される、金属端子用接着性フィルムであって、
前記蓄電デバイス用外装材は、前記蓄電デバイス素子側の最表面に配置される熱融着性樹脂層を備えており、
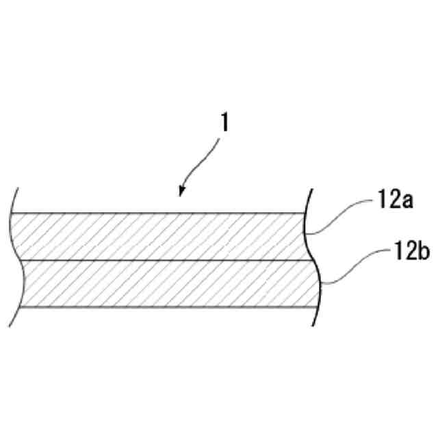
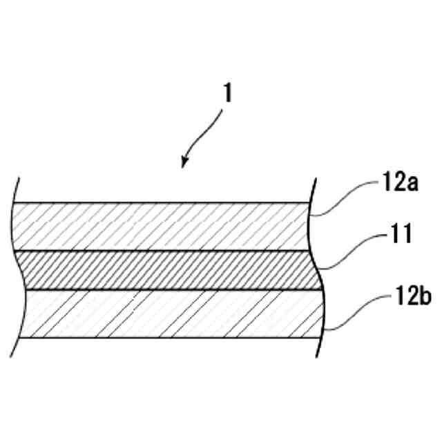
前記金属端子用接着性フィルムは、一方側の表面を構成する樹脂層Aを備え、
前記金属端子用接着性フィルムと前記金属端子とを、温度200℃、圧力0.25MPa、16秒間の条件で熱融着させて、前記樹脂層Aが表面に位置するように配置された金属端子用接着性フィルム付き金属端子を取得し、前記金属端子用接着性フィルム付き金属端子の前記樹脂層Aについて測定した配向度Pと、配向度が0.000~0.100の前記熱融着性樹脂層の配向度Qとの差の絶対値|P-Q|が、0.200以下である、金属端子用接着性フィルム。
続きを表示(約 1,500 文字)
【請求項2】
ポリオレフィン骨格を含む、請求項1に記載の金属端子用接着性フィルム。
【請求項3】
多層構造である、請求項1または2に記載の金属端子用接着性フィルム。
【請求項4】
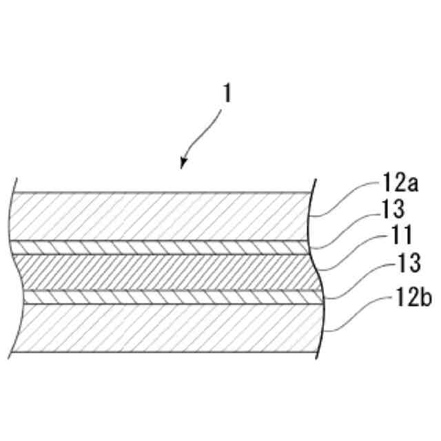
前記金属端子用接着性フィルムは、前記金属端子側に配される第1樹脂層と、中間層と、前記蓄電デバイス用外装材側に配される第2樹脂層とをこの順に備える積層体から構成されている、請求項1または2に記載の金属端子用接着性フィルム。
【請求項5】
前記蓄電デバイス用外装材側に配される前記第2樹脂層が前記樹脂層Aである、請求項4に記載の金属端子用接着性フィルム。
【請求項6】
前記樹脂層Aの25体積%融解温度が、102℃以下である、請求項1または2に記載の金属端子用接着性フィルム。
【請求項7】
厚みが100μm以上である、請求項1または2に記載の金属端子用接着性フィルム。
【請求項8】
蓄電デバイス素子の電極に電気的に接続された金属端子と、前記蓄電デバイス素子を封止する蓄電デバイス用外装材との間に介在される、金属端子用接着性フィルムの製造方法であって、
前記蓄電デバイス用外装材は、前記蓄電デバイス素子側の最表面に配置される熱融着性樹脂層を備えており、
前記金属端子用接着性フィルムの一方側の表面を構成する樹脂層Aと、前記金属端子とを、温度200℃、圧力0.25MPa、16秒間の条件で熱融着させて、前記樹脂層Aが表面に位置するように配置された金属端子用接着性フィルム付き金属端子を取得し、前記金属端子用接着性フィルム付き金属端子の前記樹脂層Aについて測定した配向度Pと、配向度が0.000~0.100の熱融着性樹脂層の配向度Qとの差の絶対値|P-Q|が、0.200以下である、金属端子用接着性フィルムの製造方法。
【請求項9】
金属端子に、金属端子用接着性フィルムが取り付けられてなる、金属端子用接着性フィルム付き金属端子であって、
前記金属端子は、蓄電デバイス素子の電極に電気的に接続されるようにして用いられ、
前記金属端子用接着性フィルムは、前記金属端子と、前記蓄電デバイス素子を封止する蓄電デバイス用外装材との間に介在されるようにして用いられ、
前記蓄電デバイス用外装材は、前記蓄電デバイス素子側の最表面に配置される熱融着性樹脂層を備えており、
金属端子用接着性フィルム付き金属端子の前記金属端子用接着性フィルムの表面を構成する樹脂層Aについて測定した配向度Pと、配向度が0.000~0.100の熱融着性樹脂層の配向度Qとの差の絶対値|P-Q|が、0.200以下である、金属端子用接着性フィルム付き金属端子。
【請求項10】
少なくとも、正極、負極、及び電解質を備えた蓄電デバイス素子と、当該蓄電デバイス素子を封止する蓄電デバイス用外装材と、前記正極及び前記負極のそれぞれに電気的に接続され、前記蓄電デバイス用外装材の外側に突出した金属端子とを備える蓄電デバイスであって、
前記蓄電デバイス用外装材は、少なくとも、基材層、バリア層、及び熱融着性樹脂層をこの順に備える積層体から構成されており、前記熱融着性樹脂層の配向度はQであり、
前記金属端子と前記蓄電デバイス用外装材の前記熱融着性樹脂層との間に、金属端子用接着性フィルムが介在されてなり、
前記金属端子用接着性フィルムの一方側の表面を構成する樹脂層Aについて測定した配向度Pと、前記熱融着性樹脂層の配向度Qとの差の絶対値|P-Q|が、0.200以下である、蓄電デバイス。
(【請求項11】以降は省略されています)
発明の詳細な説明
【技術分野】
【0001】
本開示は、金属端子用接着性フィルム及びその製造方法、金属端子用接着性フィルム付き金属端子、蓄電デバイス用外装材、蓄電デバイス用外装材と金属端子用接着性フィルムを備えるキット、並びに、蓄電デバイス及びその製造方法に関する。
続きを表示(約 2,000 文字)
【背景技術】
【0002】
従来、様々なタイプの蓄電デバイスが開発されているが、あらゆる蓄電デバイスにおいて電極や電解質等の蓄電デバイス素子を封止するために蓄電デバイス用外装材が不可欠な部材になっている。従来、蓄電デバイス用外装材として金属製の蓄電デバイス用外装材が多用されていたが、近年、電気自動車、ハイブリッド電気自動車、パソコン、カメラ、携帯電話等の高性能化に伴い、蓄電デバイスには、多様な形状が要求されると共に、薄型化や軽量化が求められている。しかしながら、従来多用されていた金属製の蓄電デバイス用外装材では、形状の多様化に追従することが困難であり、しかも軽量化にも限界があるという欠点がある。
【0003】
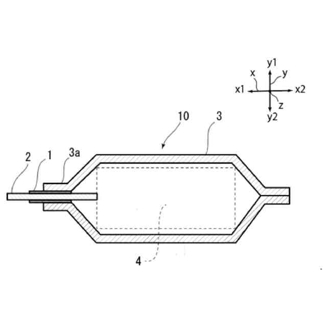
そこで、近年、多様な形状に加工が容易で、薄型化や軽量化を実現し得る蓄電デバイス用外装材として、基材層/接着層/バリア層/熱融着性樹脂層が順次積層された積層シートが提案されている。このような積層フィルム状の蓄電デバイス用外装材を用いる場合、蓄電デバイス用外装材の最内層に位置する熱融着性樹脂層同士を対向させた状態で、蓄電デバイス用外装材の周縁部をヒートシールにて熱融着させることにより、蓄電デバイス用外装材によって蓄電デバイス素子が封止される。
【0004】
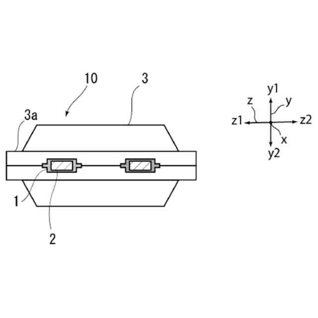
蓄電デバイス用外装材のヒートシール部分からは、金属端子が突出しており、蓄電デバイス用外装材によって封止された蓄電デバイス素子は、蓄電デバイス素子の電極に電気的に接続された金属端子によって外部と電気的に接続される。すなわち、蓄電デバイス用外装材がヒートシールされた部分のうち、金属端子が存在する部分は、金属端子が熱融着性樹脂層に挟持された状態でヒートシールされている。金属端子と熱融着性樹脂層とは、互いに異種材料により構成されているため、金属端子と熱融着性樹脂層との界面において、密着性が低下しやすい。
【0005】
このため、金属端子と熱融着性樹脂層との間には、これらの密着性を高めることなどを目的として、接着性フィルムが配されることがある。このような接着性フィルムとしては、例えば特許文献1に記載されたものが挙げられる。
【先行技術文献】
【特許文献】
【0006】
特開2015-79638号公報
【発明の概要】
【発明が解決しようとする課題】
【0007】
前記の通り、蓄電デバイス用外装材の熱融着性樹脂層と金属端子とは、互いに異種材料により構成されているため、金属端子と熱融着性樹脂層との界面において、密着性が低下しやすい。このため、金属端子と熱融着性樹脂層との間には、これらの密着性を高めることなどを目的として、接着性フィルムが配されることがある。
【0008】
接着性フィルムを用いる場合であっても、接着性フィルムと蓄電デバイス用外装材の熱融着性樹脂層とが熱融着された際の接着強度を高めることができれば、蓄電装置の密封性をさらに高めることが可能となる。
【0009】
本開示は、蓄電デバイス素子の電極に電気的に接続された金属端子と、前記蓄電デバイス素子を封止する蓄電デバイス用外装材との間に介在される、金属端子用接着性フィルムであって、接着性フィルムと蓄電デバイス用外装材の熱融着性樹脂層とが熱融着された際に高い接着強度を発揮できる、金属端子用接着性フィルムを提供することを主な目的とする。さらに、本開示は、当該金属端子用接着性フィルムの製造方法、金属端子用接着性フィルム付き金属端子、蓄電デバイス用外装材、蓄電デバイス用外装材と当該金属端子用接着性フィルムを備えるキット、蓄電デバイス及び当該蓄電デバイスの製造方法を提供することも目的とする。
【課題を解決するための手段】
【0010】
本開示の発明者等は、上記の課題を解決すべく鋭意検討を行った。その結果、蓄電デバイス素子の電極に電気的に接続された金属端子と、前記蓄電デバイス素子を封止する蓄電デバイス用外装材との間に介在される、金属端子用接着性フィルムにおいて、蓄電デバイス用外装材は、蓄電デバイス素子側の最表面に配置される熱融着性樹脂層を備えており、金属端子用接着性フィルムは、一方側の表面を構成する樹脂層Aを備え、金属端子用接着性フィルムと金属端子とを、温度200℃、圧力0.25MPa、16秒間の条件で熱融着させて、前記樹脂層Aが表面に位置するように配置された金属端子用接着性フィルム付き金属端子を取得し、金属端子用接着性フィルム付き金属端子の前記樹脂層Aについて測定した配向度Pと、配向度が0.000~0.100の熱融着性樹脂層の配向度Qとの差の絶対値|P-Q|が、所定値以下であると、接着性フィルムと蓄電デバイス用外装材の熱融着性樹脂層とが熱融着された際に高い接着強度を発揮できることを見出した。
(【0011】以降は省略されています)
この特許をJ-PlatPat(特許庁公式サイト)で参照する
関連特許
東ソー株式会社
絶縁電線
3日前
APB株式会社
蓄電セル
1日前
個人
フレキシブル電気化学素子
15日前
日本発條株式会社
積層体
26日前
ローム株式会社
半導体装置
17日前
ローム株式会社
半導体装置
24日前
個人
防雪防塵カバー
26日前
ローム株式会社
半導体装置
22日前
株式会社ユーシン
操作装置
15日前
ローム株式会社
半導体装置
2日前
ローム株式会社
半導体装置
24日前
ローム株式会社
半導体装置
24日前
日新イオン機器株式会社
イオン源
11日前
株式会社ホロン
冷陰極電子源
9日前
太陽誘電株式会社
全固体電池
22日前
株式会社GSユアサ
蓄電装置
22日前
個人
半導体パッケージ用ガラス基板
25日前
株式会社GSユアサ
蓄電装置
26日前
太陽誘電株式会社
コイル部品
15日前
株式会社ホロン
冷陰極電子源
22日前
株式会社GSユアサ
蓄電設備
15日前
株式会社GSユアサ
蓄電設備
15日前
オムロン株式会社
電磁継電器
16日前
ノリタケ株式会社
熱伝導シート
15日前
日本特殊陶業株式会社
保持装置
4日前
トヨタ自動車株式会社
蓄電装置
15日前
日東電工株式会社
積層体
16日前
トヨタ自動車株式会社
バッテリ
1日前
日本特殊陶業株式会社
保持装置
24日前
日本特殊陶業株式会社
保持装置
22日前
サクサ株式会社
電池の固定構造
15日前
トヨタ自動車株式会社
冷却構造
3日前
TDK株式会社
電子部品
22日前
トヨタ自動車株式会社
バッテリ
16日前
日本特殊陶業株式会社
保持装置
26日前
北道電設株式会社
配電具カバー
1日前
続きを見る
他の特許を見る