TOP
|
特許
|
意匠
|
商標
特許ウォッチ
Twitter
他の特許を見る
公開番号
2025151808
公報種別
公開特許公報(A)
公開日
2025-10-09
出願番号
2024053398
出願日
2024-03-28
発明の名称
電子情報記憶媒体、ICチップ、ICカード、初期応答データ出力方法、及びプログラム
出願人
大日本印刷株式会社
代理人
弁理士法人インテクト国際特許事務所
,
個人
主分類
G06K
19/073 20060101AFI20251002BHJP(計算;計数)
要約
【課題】外部からの攻撃が検知された場合の対応動作によって攻撃者を攪乱させることが可能な電子情報記憶媒体、ICチップ、ICカード、初期応答データ出力方法及びプログラムを提供する。
【解決手段】ICチップ1は、外部からの攻撃が検知された際のリセット処理において正規の初期応答データと、非正規の初期応答データとのうち、何れか1つを所定の出力アルゴリズムにしたがって出力する。
【選択図】図3
特許請求の範囲
【請求項1】
外部からの攻撃を検知することが可能な電子情報記憶媒体であって、
前記攻撃が検知された際のリセット処理において出力される正規の初期応答データを記憶する記憶手段と、
前記リセット処理において前記正規の初期応答データと、前記正規の初期応答データとは異なる非正規の初期応答データとのうち、何れか1つを所定の出力アルゴリズムにしたがって出力する出力制御手段と、
を備えることを特徴とする電子情報記憶媒体。
続きを表示(約 1,200 文字)
【請求項2】
前記出力制御手段は、前記正規の初期応答データよりも低い確率で前記非正規の初期応答データを出力することを特徴とする請求項1に記載の電子情報記憶媒体。
【請求項3】
乱数を生成する乱数生成手段を更に備え、
前記出力アルゴリズムは、前記乱数生成手段により生成された乱数に基づいて初期応答データを出力するためのアルゴリズムであり、
前記出力制御手段は、前記乱数に基づいて、前記正規の初期応答データと、前記非正規の初期応答データとのうち、何れか1つを出力することを特徴とする請求項1に記載の電子情報記憶媒体。
【請求項4】
前記初期応答データが出力された回数を保持するカウンタを更に備え、
前記出力アルゴリズムは、前記カウンタの値に基づいて初期応答データを出力するためのアルゴリズムであり、
前記出力制御手段は、前記カウンタの値に基づいて、前記正規の初期応答データと、前記非正規の初期応答データとのうち、何れか1つを出力することを特徴とする請求項1に記載の電子情報記憶媒体。
【請求項5】
前記記憶手段は、前記正規の初期応答データとともに、前記非正規の初期応答データを予め記憶することを特徴とする請求項1乃至4の何れか一項に記載の電子情報記憶媒体。
【請求項6】
前記非正規の初期応答データは、前記正規の初期応答データに基づいて生成されることを特徴とする請求項1乃至4の何れか一項に記載の電子情報記憶媒体。
【請求項7】
前記正規の初期応答データのデータフォーマットと、前記非正規の初期応答データのデータとデータフォーマットとは同一であり、
前記正規の初期応答データ中の所定バイト目の値と、前記非正規の初期応答データ中の前記所定バイト目の値とが互いに異なることを特徴とする請求項1乃至4の何れか一項に記載の電子情報記憶媒体。
【請求項8】
前記所定バイト目の値は、乱数に基づいて算出された値であることを特徴とする請求項7に記載の電子情報記憶媒体。
【請求項9】
前記出力制御手段は、前記乱数に基づいて、前記正規の初期応答データと、互いに異なる複数の前記非正規の初期応答データとのうち、何れか1つを出力することを特徴とする請求項3に記載の電子情報記憶媒体。
【請求項10】
前記正規の初期応答データのデータフォーマットと、前記複数の前記非正規の初期応答データのデータとデータフォーマットとは同一であり、
前記正規の初期応答データ中の所定バイト目の値と、前記複数の前記非正規の初期応答データ中のそれぞれの前記所定バイト目の値とが互いに異なり、且つ前記複数の前記非正規の初期応答データ中のそれぞれの前記所定バイト目の値が互いに異なることを特徴とする請求項9に記載の電子情報記憶媒体。
(【請求項11】以降は省略されています)
発明の詳細な説明
【技術分野】
【0001】
本発明は、外部からの攻撃を検知することが可能なIC(Integrated Circuit)カード等の技術分野に関する。
続きを表示(約 1,500 文字)
【背景技術】
【0002】
クレジットカードなどのICカードは、内部に秘密情報を保持していながら、攻撃者が直接触ることができるという特徴を持つ。その特徴によりサイバー攻撃とは異なるフォールトインジェクション攻撃(パータベーションアタックともいう)と呼ばれる手法が知られている。フォールトインジェクション攻撃では、攻撃者がICカード上の異なる箇所に異なるタイミングで電磁波やレーザーを繰り返し照射することで誤動作を誘発し脆弱な箇所を特定する。特許文献1には、外部からの攻撃による異常が検知された際に割り込み処理(エラー処理やロギング処理)を実行し、その後、リセット処理を実行するICカードが開示されている。
【先行技術文献】
【特許文献】
【0003】
特開2022-67721号公報
【発明の概要】
【発明が解決しようとする課題】
【0004】
しかしながら、従来のICカードでは、外部からの攻撃が検知された場合の対応動作によって攻撃者を攪乱することはできなかった。
【0005】
そこで、本発明は、このような点を課題の一例として鑑みてなされたものであり、外部からの攻撃が検知された場合の対応動作によって攻撃者を攪乱させることが可能な電子情報記憶媒体、ICチップ、ICカード、初期応答データ出力方法及びプログラムを提供することを目的とする。
【課題を解決するための手段】
【0006】
上記課題を解決するために、請求項1に記載の発明は、外部からの攻撃を検知することが可能な電子情報記憶媒体であって、前記攻撃が検知された際のリセット処理において出力される正規の初期応答データを記憶する記憶手段と、前記リセット処理において前記正規の初期応答データと、前記正規の初期応答データとは異なる非正規の初期応答データとのうち、何れか1つを所定の出力アルゴリズムにしたがって出力する出力制御手段と、を備えることを特徴とする。
【0007】
請求項2に記載の発明は、請求項1に記載の電子情報記憶媒体において、前記出力制御手段は、前記正規の初期応答データよりも低い確率で前記非正規の初期応答データを出力することを特徴とする。
【0008】
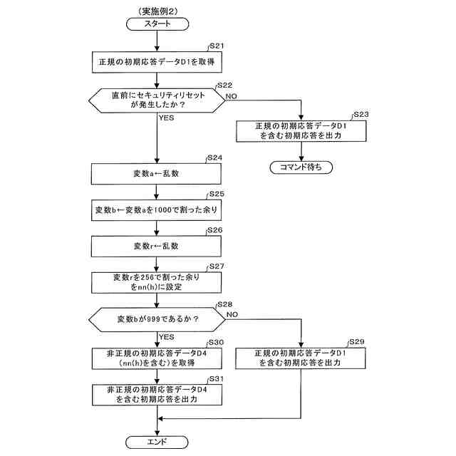
請求項3に記載の発明は、請求項1に記載の電子情報記憶媒体において、乱数を生成する乱数生成手段を更に備え、前記出力アルゴリズムは、前記乱数生成手段により生成された乱数に基づいて初期応答データを出力するためのアルゴリズムであり、前記出力制御手段は、前記乱数に基づいて、前記正規の初期応答データと、前記非正規の初期応答データとのうち、何れか1つを出力することを特徴とする。
【0009】
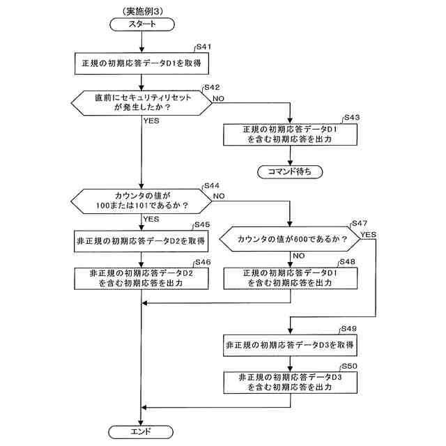
請求項4に記載の発明は、請求項1に記載の電子情報記憶媒体において、前記初期応答データが出力された回数を保持するカウンタを更に備え、前記出力アルゴリズムは、前記カウンタの値に基づいて初期応答データを出力するためのアルゴリズムであり、前記出力制御手段は、前記カウンタの値に基づいて、前記正規の初期応答データと、前記非正規の初期応答データとのうち、何れか1つを出力することを特徴とする。
【0010】
請求項5に記載の発明は、請求項1乃至4の何れか一項に記載の電子情報記憶媒体において、前記記憶手段は、前記正規の初期応答データとともに、前記非正規の初期応答データを予め記憶することを特徴とする。
(【0011】以降は省略されています)
この特許をJ-PlatPat(特許庁公式サイト)で参照する
関連特許
個人
地球保全システム
10日前
個人
QRコードの彩色
1日前
個人
工程設計支援装置
1か月前
個人
フラワーコートA
2か月前
個人
冷凍食品輸出支援構造
1か月前
個人
介護情報提供システム
2か月前
個人
為替ポイント伊達夢貯
1か月前
個人
携帯情報端末装置
1か月前
個人
残土処理システム
3日前
個人
表変換編集支援システム
1か月前
個人
知的財産出願支援システム
4日前
個人
結婚相手紹介支援システム
1か月前
個人
知財出願支援AIシステム
1か月前
個人
パスワード管理支援システム
1か月前
個人
AIによる情報の売買の仲介
1か月前
個人
行動時間管理システム
1か月前
日本精機株式会社
施工管理システム
1か月前
株式会社アジラ
進入判定装置
1か月前
個人
パスポートレス入出国システム
1か月前
個人
食品レシピ生成システム
9日前
個人
AIキャラクター制御システム
1か月前
個人
アンケート支援システム
2か月前
株式会社キーエンス
受発注システム
9日前
個人
海外支援型農作物活用システム
22日前
株式会社キーエンス
受発注システム
9日前
個人
システム及びプログラム
23日前
株式会社キーエンス
受発注システム
9日前
キヤノン株式会社
表示システム
9日前
個人
冷凍加工連携型農場運用システム
1か月前
大同特殊鋼株式会社
疵判定方法
16日前
個人
人格進化型対話応答制御システム
1か月前
個人
未来型家系図構築システム
22日前
大阪瓦斯株式会社
住宅設備機器
1か月前
個人
帳票自動生成型SaaSシステム
4日前
個人
食事受注会計処理システム
1か月前
個人
音声・通知・再配達UX制御構造
4日前
続きを見る
他の特許を見る