TOP
|
特許
|
意匠
|
商標
特許ウォッチ
Twitter
他の特許を見る
10個以上の画像は省略されています。
公開番号
2025149384
公報種別
公開特許公報(A)
公開日
2025-10-08
出願番号
2024049997
出願日
2024-03-26
発明の名称
プリフォーム及びその製造方法、並びにプラスチックボトル及びその製造方法
出願人
大日本印刷株式会社
代理人
個人
,
個人
,
個人
主分類
B29C
49/22 20060101AFI20251001BHJP(プラスチックの加工;可塑状態の物質の加工一般)
要約
【課題】ブロー成形を行いやすい、プリフォーム及びその製造方法、並びにプラスチックボトル及びその製造方法を提供する。
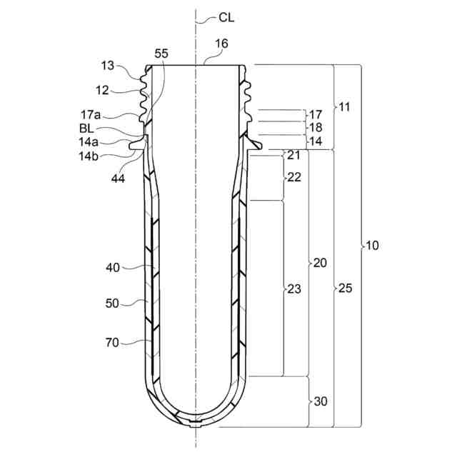
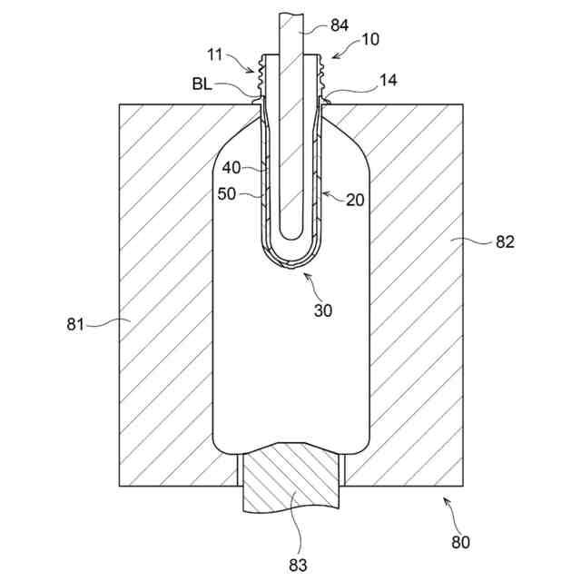
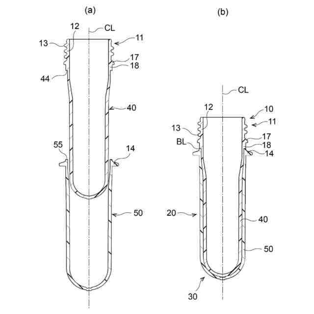
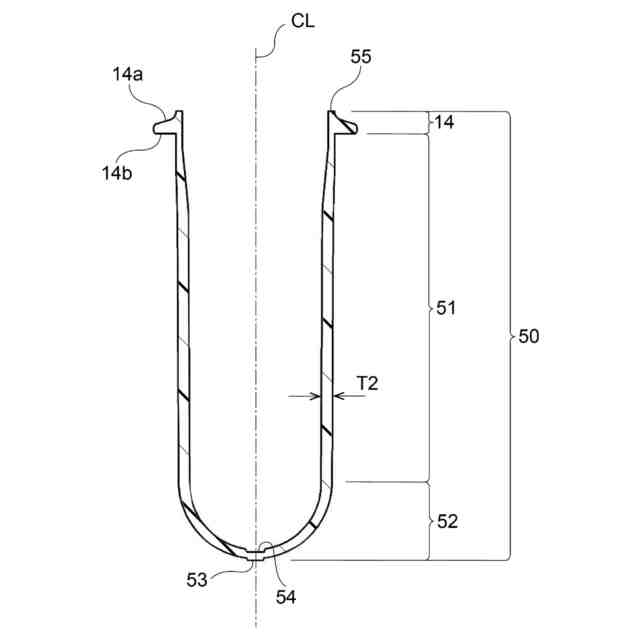
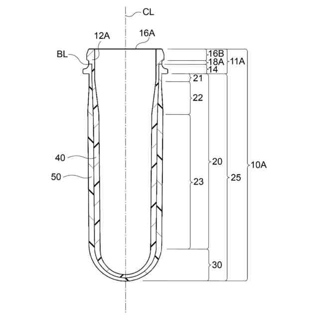
【解決手段】内層部材40と、外層部材50と、内層部材40と外層部材50との間に位置する中間層70とを有するプリフォーム10は、ねじ部13と、ねじ部13の下方に位置するカブラ17と、カブラ17の下方に位置するサポートリング14と、カブラ17とサポートリング14との間の外面に形成された環状溝部18とを有する口栓部11と、口栓部11に連結されたプリフォーム本体25と、を備える。ねじ部13及びカブラ17は、内層部材40に形成され、サポートリング14は、外層部材50に形成され、プリフォーム本体25は、内層部材40と外層部材50と中間層70とから形成される。
【選択図】図9
特許請求の範囲
【請求項1】
内層部材と、外層部材と、前記内層部材と前記外層部材との間に位置する中間層とを有するプリフォームにおいて、
ねじ部と、前記ねじ部の下方に位置するカブラと、前記カブラの下方に位置するサポートリングと、前記カブラと前記サポートリングとの間の外面に形成された環状溝部とを有する口栓部と、
前記口栓部に連結されたプリフォーム本体と、を備え、
前記ねじ部及び前記カブラは、前記内層部材に形成され、
前記サポートリングは、前記外層部材に形成され、
前記プリフォーム本体は、前記内層部材と前記外層部材と前記中間層とから形成される、プリフォーム。
続きを表示(約 1,300 文字)
【請求項2】
前記内層部材と前記外層部材との境界線が、前記環状溝部に位置する、請求項1に記載のプリフォーム。
【請求項3】
前記境界線が、前記環状溝部の下端に位置する、請求項2に記載のプリフォーム。
【請求項4】
前記環状溝部は、前記内層部材に形成され、前記内層部材は、前記環状溝部から半径方向内方に凹む段部を有し、前記外層部材の上端が前記内層部材の前記段部に収容される、請求項1に記載のプリフォーム。
【請求項5】
前記内層部材に、前記中間層を収容する収容凹部が形成されている、請求項1に記載のプリフォーム。
【請求項6】
前記内層部材は、エチレンビニルアルコール共重合体のフィルム又はMXD6のフィルムである、請求項1に記載のプリフォーム。
【請求項7】
内層部材と、外層部材と、前記内層部材と前記外層部材との間に位置する中間層とを有するプリフォームにおいて、
環状凸部と、前記環状凸部の下方に位置するサポートリングと、前記環状凸部と前記サポートリングとの間の外面に形成された環状溝部とを有する口栓部と、
前記口栓部に連結されたプリフォーム本体と、を備え、
前記環状凸部は、前記内層部材に形成され、
前記サポートリングは、前記外層部材に形成され、
前記プリフォーム本体は、前記内層部材と前記外層部材と前記中間層とから形成される、プリフォーム。
【請求項8】
内層部材と、外層部材と、前記内層部材と前記外層部材との間に位置する中間層とを有するプラスチックボトルにおいて、
ねじ部と、前記ねじ部の下方に位置するカブラと、前記カブラの下方に位置するサポートリングと、前記カブラと前記サポートリングとの間の外面に形成された環状溝部とを有する口栓部と、
前記口栓部に連結されたボトル本体と、を備え、
前記ねじ部及び前記カブラは、前記内層部材に形成され、
前記サポートリングは、前記外層部材に形成され、
前記ボトル本体は、前記内層部材と前記外層部材と前記中間層とから形成される、プラスチックボトル。
【請求項9】
内層部材と、外層部材と、前記内層部材と前記外層部材との間に位置する中間層とを有するプラスチックボトルにおいて、
環状凸部と、前記環状凸部の下方に位置するサポートリングと、前記環状凸部と前記サポートリングとの間の外面に形成された環状溝部とを有する口栓部と、
前記口栓部に連結されたボトル本体と、を備え、
前記環状凸部は、前記内層部材に形成され、
前記サポートリングは、前記外層部材に形成され、
前記ボトル本体は、前記内層部材と前記外層部材と前記中間層とから形成される、プラスチックボトル。
【請求項10】
請求項1乃至7のいずれか一項に記載のプリフォームの製造方法において、
前記内層部材及び前記外層部材をそれぞれ準備する工程と、
前記内層部材の周囲に前記中間層を設ける工程と、
前記外層部材の内側に前記内層部材を挿入する工程と、を備えた、プリフォームの製造方法。
(【請求項11】以降は省略されています)
発明の詳細な説明
【技術分野】
【0001】
本開示は、プリフォーム及びその製造方法、並びにプラスチックボトル及びその製造方法に関する。
続きを表示(約 1,200 文字)
【背景技術】
【0002】
近時、飲食品等の内容液を収容するボトルとして、プラスチック製のものが一般化してきており、このようなプラスチックボトルには内容液が収容される。プラスチックボトルは、金型内にプリフォームを挿入し、2軸延伸ブロー成形することにより製造される。
【0003】
このようなプリフォームとしては、外層部材と内層部材の2種類の材料を含むものが存在する。2種類の材料を含むプリフォームを作製する方法として、例えば2色成形法が知られている。しかしながら、2色成形法を用いる場合、2色成形機を用いる必要があり、設備が高価になるという課題がある。
【0004】
また、射出成形によって作製された外層体と内層体との2層からなるプリフォームも知られている(特許文献1)。しかしながら、雄ねじ部が外層体側にある場合、例えば衛生面の理由から、外層体としてリサイクル樹脂を用いることが難しくなるおそれがある。一方、ネックリングが内層体側にある場合、ブロー成形時に外層体が内層体から脱落するおそれがある。
【0005】
また、特許文献1のプリフォームにおいて、外層体と内層体との間に中間層を設け、これらを一体化している。しかしながら、外層体の内部に内層体を挿入する際、外層体と内層体との寸法差(隙間)が大きければ、これらを一体化した後に中間層が外れやすい。逆に外層体と内層体との寸法差(隙間)が小さければ、外層体の内部に内層体を挿入することが困難である。
【先行技術文献】
【特許文献】
【0006】
特開2019-42995号公報
【発明の概要】
【発明が解決しようとする課題】
【0007】
本実施の形態は、ブロー成形を行いやすい、プリフォーム及びその製造方法、並びにプラスチックボトル及びその製造方法を提供する。
【課題を解決するための手段】
【0008】
本開示の実施の形態は、以下の[1]~[14]に関する。
【0009】
[1]内層部材と、外層部材と、前記内層部材と前記外層部材との間に位置する中間層とを有するプリフォームにおいて、ねじ部と、前記ねじ部の下方に位置するカブラと、前記カブラの下方に位置するサポートリングと、前記カブラと前記サポートリングとの間の外面に形成された環状溝部とを有する口栓部と、前記口栓部に連結されたプリフォーム本体と、を備え、前記ねじ部及び前記カブラは、前記内層部材に形成され、前記サポートリングは、前記外層部材に形成され、前記プリフォーム本体は、前記内層部材と前記外層部材と前記中間層とから形成される、プリフォーム。
【0010】
[2]前記内層部材と前記外層部材との境界線が、前記環状溝部に位置する、[1]に記載のプリフォーム。
(【0011】以降は省略されています)
この特許をJ-PlatPat(特許庁公式サイト)で参照する
関連特許
大日本印刷株式会社
床構成体
2日前
大日本印刷株式会社
積層シート
今日
大日本印刷株式会社
発電モジュール
11日前
大日本印刷株式会社
パネルの固定方法
8日前
大日本印刷株式会社
積層体及び包装容器
9日前
大日本印刷株式会社
積層体および包装容器
今日
大日本印刷株式会社
積層体および包装容器
11日前
大日本印刷株式会社
積層体および包装容器
11日前
大日本印刷株式会社
積層体および包装容器
11日前
大日本印刷株式会社
積層体および包装容器
11日前
大日本印刷株式会社
情報処理装置及びプログラム
11日前
大日本印刷株式会社
学習支援装置及びプログラム
2日前
大日本印刷株式会社
情報処理装置及びプログラム
1日前
大日本印刷株式会社
クランプ装置及びウェブ搬送装置
11日前
大日本印刷株式会社
ウェブ搬送装置及びウェブ搬送方法
7日前
大日本印刷株式会社
作業装置、作業システム、作業方法
7日前
大日本印刷株式会社
水素センサおよび水素検知システム
1日前
大日本除蟲菊株式会社
薬剤揮散装置
3日前
大日本印刷株式会社
熱転写シートと中間転写媒体との組合せ
今日
大日本印刷株式会社
バリア性フィルム、積層体および包装容器
11日前
大日本印刷株式会社
バリア性フィルム、積層体および包装容器
11日前
大日本印刷株式会社
サーバ装置、動画配信方法及びプログラム
11日前
大日本印刷株式会社
バリア性フィルム、積層体および包装容器
11日前
大日本印刷株式会社
情報処理装置、情報処理方法及びプログラム
1日前
大日本印刷株式会社
情報処理装置、情報処理方法及びプログラム
1日前
大日本印刷株式会社
転写シート、成形品の製造方法および成形品
7日前
大日本印刷株式会社
プログラム、情報処理方法、及び情報処理装置
3日前
大日本印刷株式会社
ボビン、熱転写シートリボン及び熱転写印画装置
11日前
大日本印刷株式会社
加飾積層体、転写シート、加飾部材、及び移動体
今日
大日本印刷株式会社
加飾シート、外装部材の製造方法および外装部材
今日
大日本印刷株式会社
化粧シート、化粧シートの製造方法および化粧部材
3日前
大日本印刷株式会社
熱転写シートの洗浄方法およびリサイクル原料の製造方法
今日
大日本印刷株式会社
熱転写シートの洗浄方法およびリサイクル原料の製造方法
今日
大日本印刷株式会社
デュアルインターフェースICカードおよびICモジュール
3日前
大日本印刷株式会社
デュアルインターフェースICカードおよびICモジュール
3日前
大日本印刷株式会社
光学素子、前記光学素子を含む装置、及び光学素子の製造方法
8日前
続きを見る
他の特許を見る