TOP
|
特許
|
意匠
|
商標
特許ウォッチ
Twitter
他の特許を見る
10個以上の画像は省略されています。
公開番号
2025143672
公報種別
公開特許公報(A)
公開日
2025-10-02
出願番号
2024043020
出願日
2024-03-19
発明の名称
光学素子、前記光学素子を含む装置、及び光学素子の製造方法
出願人
大日本印刷株式会社
代理人
弁理士法人大谷特許事務所
主分類
G02B
5/30 20060101AFI20250925BHJP(光学)
要約
【課題】回折角度を大きくできるとともに、斜め方向からの光漏れを抑制し得る光学素子を提供する。
【解決手段】第1の面と前記第1の面とは反対側の第2の面とを有し、かつ、前記第1の面から前記第2の面に向けて、第1の液晶層及び第2の液晶層をこの順に有し、前記第1の液晶層は、面内の所定の方向に沿って、液晶分子の配列方向が段階的に180度変化する配向領域を複数有し、前記第2の液晶層は、面内の所定の方向に沿って、液晶分子の配列方向が段階的に180度変化する配向領域を複数有し、前記第1の液晶層と前記第2の液晶層との間にポジティブC層を有する、光学素子。
【選択図】図1
特許請求の範囲
【請求項1】
光学素子であって、
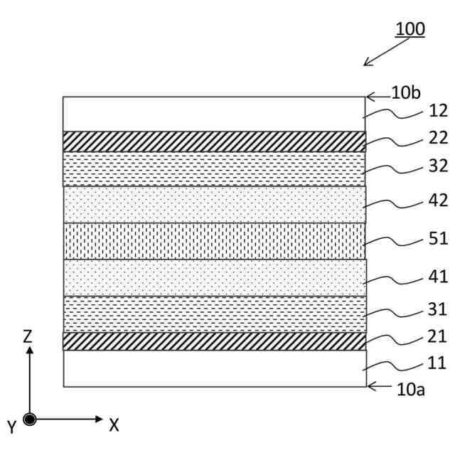
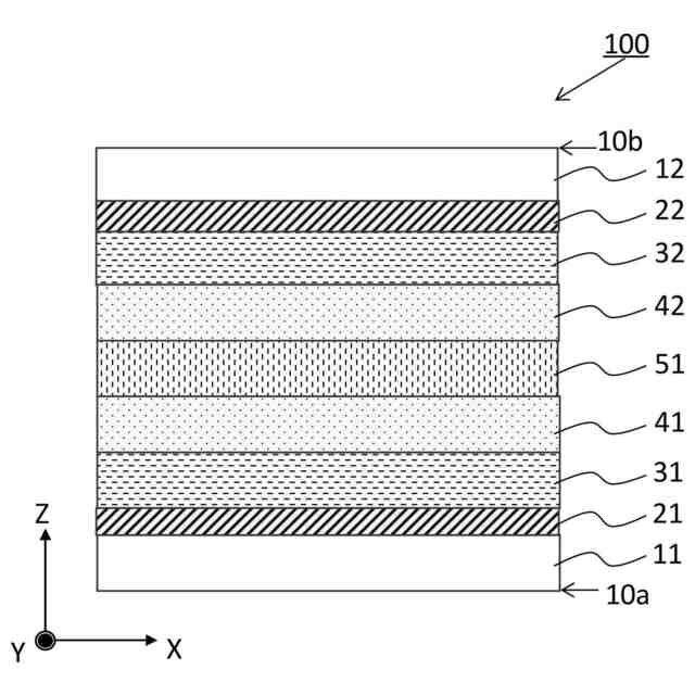
前記光学素子は、第1の面と前記第1の面とは反対側の第2の面とを有し、かつ、前記第1の面から前記第2の面に向けて、第1の液晶層及び第2の液晶層をこの順に有し、
前記第1の液晶層は、面内の所定の方向に沿って、液晶分子の配列方向が段階的に180度変化する配向領域を複数有し、
前記第2の液晶層は、面内の所定の方向に沿って、液晶分子の配列方向が段階的に180度変化する配向領域を複数有し、
前記第1の液晶層と前記第2の液晶層との間にポジティブC層を有する、光学素子。
続きを表示(約 1,300 文字)
【請求項2】
前記第1の液晶層の前記所定の方向は、前記第1の液晶層の特定の一方向であり、前記第2の液晶層の前記所定の方向は、前記第2の液晶層の特定の一方向であり、前記第1の液晶層の前記特定の一方向及び前記第2の液晶層の前記特定の一方向が略同一の方向である、請求項1に記載の光学素子。
【請求項3】
前記第1の液晶層の前記配向領域における、前記液晶分子の配列方向が段階的に180度変化するまでの長さをP1と定義した際に、前記特定の一方向の一方の端部の配向領域から前記特定の一方向の他方の端部の配向領域に向けてP1が段階的に短くなり、
前記第2の液晶層の前記配向領域における、前記液晶分子の配列方向が段階的に180度変化するまでの長さをP2と定義した際に、前記特定の一方向の一方の端部の配向領域から前記特定の一方向の他方の端部の配向領域に向けてP2が段階的に短くなる、請求項2に記載の光学素子。
【請求項4】
前記第1の液晶層の前記所定の方向は、前記液晶分子の配列パターンの中心を基準とした放射状の多方向であり、前記第2の液晶層の前記所定の方向は、前記液晶分子の配列パターンの中心を基準とした放射状の多方向である、請求項1に記載の光学素子。
【請求項5】
前記第1の液晶層の前記配向領域における、前記液晶分子の配列方向が段階的に180度変化するまでの長さをP1と定義した際に、前記中心の配向領域から外側の配向領域に向けてP1が段階的に短くなり、
前記第2の液晶層の前記配向領域における、前記液晶分子の配列方向が段階的に180度変化するまでの長さをP2と定義した際に、前記中心の配向領域から外側の配向領域に向けてP2が段階的に短くなる、請求項4に記載の光学素子。
【請求項6】
前記第1の液晶層と前記第2の液晶層との間に、さらに、ポジティブA層、ネガティブA層、ポジティブB層及びネガティブB層から選ばれる1以上の層を有する、請求項1に記載の光学素子。
【請求項7】
前記第1の液晶層の前記第1の面側に第1の基材を有し、前記第2の液晶層の前記第2の面側に第2の基材を有する、請求項1に記載の光学素子。
【請求項8】
前記第1の基材と前記第1の液晶層との間に第1の配向層を有し、前記第2の基材と前記第2の液晶層との間に第2の配向層を有する、請求項7に記載の光学素子。
【請求項9】
さらに第3の液晶層を有し、前記第1の面から前記第2の面に向けて、前記第1の液晶層、前記第2の液晶層及び前記第3の液晶層をこの順に有し、
前記第3の液晶層は、面内の所定の方向に沿って、液晶分子の配列方向が段階的に180度変化する配向領域を複数有し、
前記第2の液晶層と前記第3の液晶層との間にポジティブC層を有する、請求項1に記載の光学素子。
【請求項10】
前記光学素子は、第1の面から前記第2の面までの各層が密着して一体化されている、請求項1に記載の光学素子。
(【請求項11】以降は省略されています)
発明の詳細な説明
【技術分野】
【0001】
本開示は、光学素子、前記光学素子を含む装置、及び光学素子の製造方法に関する。
続きを表示(約 2,200 文字)
【背景技術】
【0002】
光の偏光状態を変化させたり、光の進行方向を変化させたりするため、光学素子が用いられる技術分野がある。
【0003】
上述した光学素子は、例えば、調光装置に用いられている。
また、近年、個人認証及び車両の自動運転において、光センサーを備えた装置の開発が進んでいる。光センサーを備えた装置としては、顔認証装置、LiDAR(light detection and ranging)等が挙げられる。このような光センサーを備えた装置にも、光学素子が用いられる場合がある。
また、近年、仮想現実 (VR:Virtual Reality)、拡張現実 (AR:Augmented Reality)、混合現実 (MR:Mixed Reality)を表示するための表示装置が発売されている。本明細書において、VR、AR及びMR等の現実にはないものを表示する技術のことを、「クロスリアリティ(XR:X Reality)」と称する。クロスリアリティ用の表示装置においても、表示素子が用いられる場合がある。
【0004】
上述した光学素子の中でも、光の回折を利用する光学素子がある。光の回折を利用する光学素子では、回折作用を備える液晶層を複数積層した光学素子が提案されている(特許文献1及び2)。
【先行技術文献】
【特許文献】
【0005】
国際公開第2020/066429号
特表2019-536101号公報
【発明の概要】
【発明が解決しようとする課題】
【0006】
特許文献1及び2のように回折作用を備える液晶層を複数積層した光学素子は、回折角度を大きくすることができる。しかし、回折作用を備える液晶層を複数積層した光学素子を備えた装置は、コントラストが低下したり、二重像が生じたりする問題が頻発した。
【課題を解決するための手段】
【0007】
本発明者らは、前記課題を解決するために鋭意検討した。そして、本発明者らは、前記課題が、光学素子に斜め方向から光を入射した際に光漏れが多くなることにより生じることを特定した。そして、本発明者らはさらに検討した結果、回折作用を備える液晶層の間にポジティブC層を配置することにより、前記課題を解決し得ることを突き止めた。
【0008】
本開示は、以下の<1>~<3>の光学素子、前記光学素子を含む装置、及び光学素子の製造方法を提供する。
<1> 光学素子であって、
前記光学素子は、第1の面と前記第1の面とは反対側の第2の面とを有し、かつ、前記第1の面から前記第2の面に向けて、第1の液晶層及び第2の液晶層をこの順に有し、
前記第1の液晶層は、面内の所定の方向に沿って、液晶分子の配列方向が段階的に180度変化する配向領域を複数有し、
前記第2の液晶層は、面内の所定の方向に沿って、液晶分子の配列方向が段階的に180度変化する配向領域を複数有し、
前記第1の液晶層と前記第2の液晶層との間にポジティブC層を有する、光学素子。
<2> <1>に記載の光学素子を含む装置。
<3> 下記の第1~第3の工程を有する、<1>に記載の光学素子の製造方法。
第1の工程:第1の基材上に第1の液晶層を有する第1の積層体、及び、第2の基材上に第2の液晶層を有する第2の積層体を準備する工程。前記第1の液晶層は、面内の所定の方向に沿って、液晶分子の配列方向が段階的に180度変化する配向領域を複数有する。前記第2の液晶層は、面内の所定の方向に沿って、液晶分子の配列方向が段階的に180度変化する配向領域を複数有する。
第2の工程:前記第1の積層体の前記第1の液晶層上に、第1の接着剤層、ポジティブC層及び第2の接着剤層を積層した、第1’の積層体を得る工程。
第3の工程:前記第1’の積層体の前記第2の接着剤層側の面と、前記第2の積層体の第2の液晶層側の面とを対向して貼り合わせることにより、前記第1’の積層体と前記第2の積層体とを一体化する工程。
【発明の効果】
【0009】
本開示の光学素子及び前記光学素子を含む装置は、回折角度を大きくできるとともに、斜め方向からの光漏れを抑制することができる。本開示の光学素子の製造方法は、前述した特性を備えた光学素子を効率よく製造することができる。
【図面の簡単な説明】
【0010】
本開示の光学素子の一実施形態を示す断面図である。
第1の液晶層、ポジティブC層及び第2の液晶層の状態を説明するための模式的な平面図である。
第1の液晶層及び第2の液晶層の液晶分子の配列方向を説明するための模式的な平面図である。
液晶層の面内で、放射状の多方向に液晶分子が配列した状態を示す模式的な平面図である。
配向層の一実施形態である、パターン層の凹部の配置パターンの一実施形態を示す平面図である。
光漏れ及び回折効率の測定方法を説明するための模式図である。
【発明を実施するための形態】
(【0011】以降は省略されています)
この特許をJ-PlatPat(特許庁公式サイト)で参照する
関連特許
東レ株式会社
積層フィルム
3日前
アイカ工業株式会社
反射防止フィルム
9日前
スタンレー電気株式会社
照明装置
4日前
日本電気株式会社
光集積回路素子
1日前
住友化学株式会社
積層体
1日前
日東電工株式会社
調光フィルム
2日前
日本精機株式会社
ヘッドアップディスプレイ装置
2日前
旭化成株式会社
成形体
8日前
旭化成株式会社
成形体
8日前
日本分光株式会社
赤外顕微鏡
8日前
キヤノン株式会社
画像表示装置
8日前
住友ベークライト株式会社
積層体の製造方法
2日前
キヤノン株式会社
レンズ装置および撮像装置
10日前
キヤノン株式会社
レンズ装置および撮像装置
2日前
レーザーテック株式会社
検査装置及び検査方法
12日前
Orbray株式会社
MEMS光スイッチの制御方法
2日前
古河電気工業株式会社
光モジュール、光接続構造
2日前
住友化学株式会社
偏光板及び画像表示装置
3日前
キヤノン株式会社
表示装置
15日前
京セラ株式会社
走査装置及び制御装置
1日前
住友ベークライト株式会社
光学シート
1日前
京セラ株式会社
走査装置及び制御装置
1日前
日東電工株式会社
積層光学部材及び光学装置
1日前
キヤノン株式会社
光学系及び撮像装置
16日前
TDK株式会社
メタサーフェスレンズ
1日前
住友化学株式会社
複合偏光板及び画像表示装置
10日前
日本カーバイド工業株式会社
微小球型再帰反射シート
1日前
日本カーバイド工業株式会社
微小球型再帰反射シート
1日前
国立大学法人徳島大学
光共振器、及び光周波数コム発生装置
2日前
セイコーエプソン株式会社
虚像表示装置
12日前
国立大学法人徳島大学
光共振器、及び光周波数コム発生装置
2日前
KDDI株式会社
光増幅器
9日前
KDDI株式会社
光増幅器
9日前
住友化学株式会社
積層体および表示装置
1日前
株式会社精工技研
光コネクタプラグおよびロック工具
3日前
住友ベークライト株式会社
光学性積層体
1日前
続きを見る
他の特許を見る