TOP
|
特許
|
意匠
|
商標
特許ウォッチ
Twitter
他の特許を見る
10個以上の画像は省略されています。
公開番号
2025147041
公報種別
公開特許公報(A)
公開日
2025-10-03
出願番号
2025130200,2019099695
出願日
2025-08-04,2019-05-28
発明の名称
包装材料並びに袋及び包装体
出願人
大日本印刷株式会社
代理人
個人
,
個人
,
個人
主分類
B32B
27/32 20060101AFI20250926BHJP(積層体)
要約
【課題】熱によって剥離したラミネート強度調整層の部分を介して蒸気を袋又は包装体の外部に逃がすことができる包装材料を提供する。
【解決手段】包装材料は、二軸延伸プラスチックフィルムとシーラント層との間に部分的に位置するラミネート強度調整層を備える。包装材料のうちラミネート強度調整層を備える領域を第1領域と称し、包装材料のうちラミネート強度調整層を備えない領域を第2領域と称し、包装材料の第2領域における破断伸度を第2破断伸度と称する場合、包装材料の流れ方向において、第2領域を80℃の環境に1分間保持した後に80℃の環境で測定された第2破断伸度が、第2領域を25℃の環境に1分間保持した後に25℃の環境で測定された第2破断伸度よりも低い。
【選択図】図1
特許請求の範囲
【請求項1】
外面側から内面側へ順に、1つ又は2つの二軸延伸プラスチックフィルム及びシーラント層を少なくとも備える包装材料であって、
前記シーラント層は、ポリエチレンを主成分として含み、
前記包装材料は、前記二軸延伸プラスチックフィルムと前記シーラント層との間に部分的に位置するラミネート強度調整層を更に備え、
前記包装材料のうち前記ラミネート強度調整層を備える領域を第1領域と称し、前記包装材料のうち前記ラミネート強度調整層を備えない領域を第2領域と称し、前記包装材料の前記第2領域における破断伸度を第2破断伸度と称する場合、前記包装材料の流れ方向において、前記第2領域を80℃の環境に1分間保持した後に80℃の環境で測定された前記第2破断伸度が、前記第2領域を25℃の環境に1分間保持した後に25℃の環境で測定された前記第2破断伸度よりも低い、包装材料。
続きを表示(約 1,800 文字)
【請求項2】
外面側から内面側へ順に、第1の二軸延伸プラスチックフィルム、第2の二軸延伸プラスチックフィルム及びシーラント層を少なくとも備え、
前記包装材料に含まれる二軸延伸プラスチックフィルムは、前記第1の二軸延伸プラスチックフィルム及び前記第2の二軸延伸プラスチックフィルムのみであり、
前記第1の二軸延伸プラスチックフィルム及び前記第2の二軸延伸プラスチックフィルムは、ポリエステルを主成分として含む、請求項1に記載の包装材料。
【請求項3】
外面側から内面側へ順に、第1の二軸延伸プラスチックフィルム、第2の二軸延伸プラスチックフィルム及びシーラント層を少なくとも備え、
前記包装材料に含まれる二軸延伸プラスチックフィルムは、前記第1の二軸延伸プラスチックフィルム及び前記第2の二軸延伸プラスチックフィルムのみであり、
前記第1の二軸延伸プラスチックフィルム及び前記第2の二軸延伸プラスチックフィルムの一方は、ポリエステルを主成分として含み、前記第1の二軸延伸プラスチックフィルム及び前記第2の二軸延伸プラスチックフィルムの他方は、ポリアミドを主成分として含む、請求項1に記載の包装材料。
【請求項4】
外面側から内面側へ順に、二軸延伸プラスチックフィルム及びシーラント層を少なくとも備え、
前記包装材料に含まれる前記二軸延伸プラスチックフィルムは1つのみであり、
前記二軸延伸プラスチックフィルムは、ポリエステルを主成分として含む、請求項1に記載の包装材料。
【請求項5】
前記第1の二軸延伸プラスチックフィルム及び前記第2の二軸延伸プラスチックフィルムは、ポリエチレンテレフタレートを主成分として含む、請求項2に記載の包装材料。
【請求項6】
前記二軸延伸プラスチックフィルムは、ポリエチレンテレフタレートを主成分として含む、請求項4に記載の包装材料。
【請求項7】
前記シーラント層のポリエチレンは、低密度ポリエチレン、または/および、α-オレフィンがブテンである直鎖状低密度ポリエチレンを含む、請求項1乃至6のいずれか一項に記載の包装材料。
【請求項8】
前記ラミネート強度調整層は、ポリアミドと、セルロースと、エチレン-酢酸ビニル系共重合体樹脂またはポリオレフィンワックスと、を含む樹脂組成物で構成されている、請求項1乃至7のいずれか一項に記載の包装材料。
【請求項9】
請求項1乃至7のいずれか一項に記載の包装材料により形成され、表面及び裏面を有する袋であって、
前記袋は、
前記袋の第1端部において前記表面を構成する前記包装材料の前記内面と前記裏面を構成する前記包装材料の内面とを接合する第1端部シール部と、
前記第1端部と対向する第2端部において前記表面を構成する前記包装材料の前記内面と前記裏面を構成する前記包装材料の内面とを接合する第2端部シール部と、
前記第1端部シール部から前記第2端部シール部まで延び、前記表面側において前記包装材料の内面同士を接合する合掌シール部と、を備え、
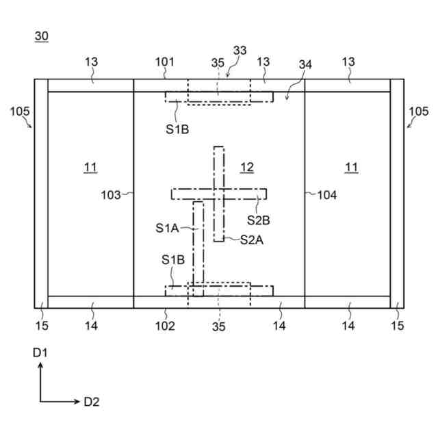
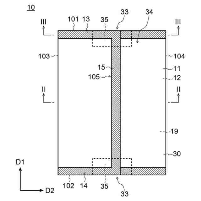
前記ラミネート強度調整層は、前記合掌シール部には重なるが前記第1端部シール部及び前記第2端部シール部には重ならないように配置されている、袋。
【請求項10】
請求項1乃至7のいずれか一項に記載の包装材料により形成され、三角形状の第1パネル、第2パネル、第3パネル及び第4パネルを少なくとも含む四面体形状の包装体であって、
前記包装体は、
前記包装材料のうち前記第1パネルの辺に連設されている部分の前記内面と前記第3パネルに連設されている部分の前記内面とを接合する第1端部シール部と、
前記包装材料のうち前記第2パネルの辺に連設されている部分の前記内面と前記第4パネルに連設されている部分の前記内面とを接合する第2端部シール部と、
前記第1端部シール部から前記第2端部シール部まで延び、前記包装材料の内面同士を接合する合掌シール部と、を備え、
前記ラミネート強度調整層は、前記第1端部シール部と合掌シール部とが交わる部分、及び前記第2端部シール部と合掌シール部とが交わる部分に配置されている、包装体。
(【請求項11】以降は省略されています)
発明の詳細な説明
【技術分野】
【0001】
本発明は、ラミネート強度調整層を備える包装材料に関する。また、本発明は、ラミネート強度調整層を備える包装材料により形成された袋及び包装体に関する。
続きを表示(約 2,500 文字)
【背景技術】
【0002】
従来、内容物を、プラスチック製の積層体から構成された容器に収容したものが多く市場に出回っている。容器においては、積層体同士が接合されていない非シール部が、内容物が収容される収容部を構成している。また、積層体同士が接合されているシール部が、収容部を密封している。内容物は、例えば冷凍された状態で容器に収容されている。内容物は、容器に収容された状態で電子レンジなどによって加熱される。
【0003】
ところで、密封された状態の容器に収容された内容物を、電子レンジを利用して加熱すると、加熱に伴って内容物に含まれる水分が蒸発して収容部の圧力が高まっていく。収容部の圧力が高まると、容器が破裂して内容物が飛散し電子レンジ内を汚してしまうおそれがある。このような課題を考慮し、例えば特許文献1は、収容部の圧力が高まると収容部と外部とを自動的に連通させて収容部内の蒸気を外部に逃がすための機構を設けることを提案している。引用文献1に開示されている機構は、基材層と熱可塑性樹脂層との間に位置するラミネート強度調整層を含んでいる。ラミネート強度調整層とは、高温の環境温度下で強度が低下する性質を有する層である。このような層を設けることにより、熱によって剥離したラミネート強度調整層の部分を介して蒸気を容器の外部に逃がすことができる。引用文献1において、このようなラミネート強度調整層は、例えばピロー型の容器において端部シール部と合掌シール部とが交わる部分に配置されている。
【先行技術文献】
【特許文献】
【0004】
特開2008-1394号公報
【発明の概要】
【発明が解決しようとする課題】
【0005】
本発明は、ラミネート強度調整層を備え、改善された特性を有する包装材料を提供することを目的とする。また、本発明は、ラミネート強度調整層を備える包装材料により形成された袋及び包装体を提供することを目的とする。
【課題を解決するための手段】
【0006】
本発明は、外面側から内面側へ順に、1つ又は2つの二軸延伸プラスチックフィルム及びシーラント層を少なくとも備える包装材料であって、
前記シーラント層は、ポリエチレンを主成分として含み、
前記包装材料は、前記二軸延伸プラスチックフィルムと前記シーラント層との間に部分的に位置するラミネート強度調整層を更に備え、
前記包装材料のうち前記ラミネート強度調整層を備える領域を第1領域と称し、前記包装材料のうち前記ラミネート強度調整層を備えない領域を第2領域と称し、前記包装材料の前記第2領域における破断伸度を第2破断伸度と称する場合、前記包装材料の流れ方向において、前記第2領域を80℃の環境に1分間保持した後に80℃の環境で測定された前記第2破断伸度が、前記第2領域を25℃の環境に1分間保持した後に25℃の環境で測定された前記第2破断伸度よりも低い、包装材料である。
【0007】
本発明による包装材料は、外面側から内面側へ順に、第1の二軸延伸プラスチックフィルム、第2の二軸延伸プラスチックフィルム及びシーラント層を少なくとも備えてもよく、前記包装材料に含まれる二軸延伸プラスチックフィルムは、前記第1の二軸延伸プラスチックフィルム及び前記第2の二軸延伸プラスチックフィルムのみであってもよく、前記第1の二軸延伸プラスチックフィルム及び前記第2の二軸延伸プラスチックフィルムは、ポリエステルを主成分として含んでもよい。
【0008】
本発明による包装材料は、外面側から内面側へ順に、第1の二軸延伸プラスチックフィルム、第2の二軸延伸プラスチックフィルム及びシーラント層を少なくとも備えてもよく、前記包装材料に含まれる二軸延伸プラスチックフィルムは、前記第1の二軸延伸プラスチックフィルム及び前記第2の二軸延伸プラスチックフィルムのみであってもよく、前記第1の二軸延伸プラスチックフィルム及び前記第2の二軸延伸プラスチックフィルムの一方は、ポリエステルを主成分として含み、前記第1の二軸延伸プラスチックフィルム及び前記第2の二軸延伸プラスチックフィルムの他方は、ポリアミドを主成分として含んでもよい。
【0009】
本発明による包装材料は、外面側から内面側へ順に、二軸延伸プラスチックフィルム及びシーラント層を少なくとも備えてもよく、前記包装材料に含まれる前記二軸延伸プラスチックフィルムは1つのみであってもよく、前記二軸延伸プラスチックフィルムは、ポリエステルを主成分として含んでもよい。
【0010】
本発明は、外面側から内面側へ順に、第1の二軸延伸プラスチックフィルム、第2の二軸延伸プラスチックフィルム及びシーラント層を少なくとも備える包装材料であって、
前記包装材料に含まれる二軸延伸プラスチックフィルムは、前記第1の二軸延伸プラスチックフィルム及び前記第2の二軸延伸プラスチックフィルムのみであり、
前記第1の二軸延伸プラスチックフィルム及び前記第2の二軸延伸プラスチックフィルムは、ポリエステルを主成分として含み、
前記シーラント層は、ポリエチレンを主成分として含み、
前記包装材料は、前記第2の二軸延伸プラスチックフィルムと前記シーラント層との間に部分的に位置するラミネート強度調整層を更に備え、
前記包装材料のうち前記ラミネート強度調整層を備える領域を第1領域と称し、前記包装材料のうち前記ラミネート強度調整層を備えない領域を第2領域と称し、前記包装材料の前記第2領域における破断伸度を第2破断伸度と称する場合、少なくとも一方向において、前記第2領域を80℃の環境に1分間保持した後に80℃の環境で測定された前記第2破断伸度が180%以下である、包装材料である。
(【0011】以降は省略されています)
この特許をJ-PlatPat(特許庁公式サイト)で参照する
関連特許
大日本印刷株式会社
額縁
26日前
大日本印刷株式会社
移動体
17日前
大日本印刷株式会社
移動体
17日前
大日本印刷株式会社
写真撮影装置
18日前
大日本印刷株式会社
反射型マスク
1か月前
大日本印刷株式会社
熱転写システム
27日前
大日本印刷株式会社
熱転写システム
27日前
大日本印刷株式会社
発電モジュール
7日前
大日本印刷株式会社
パネルの固定方法
4日前
大日本印刷株式会社
積層体及び包装容器
5日前
大日本印刷株式会社
積層体および包装容器
7日前
大日本印刷株式会社
積層体および包装容器
7日前
大日本印刷株式会社
積層体および包装容器
7日前
大日本印刷株式会社
積層体および包装容器
7日前
大日本印刷株式会社
包装装置および包装方法
19日前
大日本印刷株式会社
レンズアレイ及び表示装置
27日前
大日本印刷株式会社
シール型熱転写受像シート
25日前
大日本印刷株式会社
シール型熱転写受像シート
25日前
大日本印刷株式会社
シール型熱転写受像シート
25日前
大日本印刷株式会社
情報処理装置及びプログラム
7日前
大日本印刷株式会社
撮影システム及び画像提供方法
1か月前
大日本印刷株式会社
類似文書検索装置及びプログラム
26日前
大日本印刷株式会社
リードフレーム及びその製造方法
19日前
大日本印刷株式会社
リードフレーム及びその製造方法
19日前
大日本印刷株式会社
再封機能を有する蓋付き紙カップ
1か月前
大日本印刷株式会社
熱転写シートおよび中間転写媒体
25日前
大日本印刷株式会社
ポリエステルフィルム及び積層体
17日前
大日本印刷株式会社
クランプ装置及びウェブ搬送装置
7日前
大日本印刷株式会社
作業装置、作業システム、作業方法
3日前
大日本印刷株式会社
ウェブ搬送装置及びウェブ搬送方法
3日前
大日本印刷株式会社
光学部材、ヘッドマウントディスプレイ
26日前
大日本印刷株式会社
バリア性フィルム、積層体および包装容器
7日前
大日本印刷株式会社
バリア性フィルム、積層体および包装容器
7日前
大日本印刷株式会社
電子部品包装用カバーテープおよび包装体
1か月前
大日本印刷株式会社
バリア性フィルム、積層体および包装容器
7日前
大日本印刷株式会社
サーバ装置、動画配信方法及びプログラム
7日前
続きを見る
他の特許を見る