TOP
|
特許
|
意匠
|
商標
特許ウォッチ
Twitter
他の特許を見る
10個以上の画像は省略されています。
公開番号
2025134241
公報種別
公開特許公報(A)
公開日
2025-09-17
出願番号
2024032022
出願日
2024-03-04
発明の名称
包装装置および包装方法
出願人
大日本印刷株式会社
代理人
個人
,
個人
主分類
B65B
25/14 20060101AFI20250909BHJP(運搬;包装;貯蔵;薄板状または線条材料の取扱い)
要約
【課題】比較的単純な構成で、円筒状物への包装用シートの安定包装ができる包装装置を提供する。
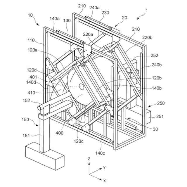
【解決手段】包装装置1は、フレーム110と、移動可能に固定されたスライド片140およびこれに固定され、集約プレートを有する4箇所以上の集約パーツ120と、いずれかの集約パーツ120を移動させる駆動部130と、押込部150と、を備える。集約プレートは集約パーツ120の移動方向に対して傾斜し、いずれかの集約パーツ120の移動時、他の集約パーツは、隣接集約パーツの集約プレートから押されて異なる方向に移動し、集約プレートは第1状態と集約領域の容積が小さい第2状態とに移動できる。集約パーツ120を第1状態から第2状態に移動させ包装用シート410を集約領域に集約し、押込部150を包装用シート410を押し込むように移動させて円筒状物400を包装用シート410で包装できる。
【選択図】図1
特許請求の範囲
【請求項1】
フレームと、
前記フレームに対して第1平面に沿う各々の所定方向に沿って移動可能に固定されたスライド片および前記スライド片に固定され、前記第1平面と交差する方向に延びる集約プレートを有する、少なくとも4箇所に設けられた集約パーツと、
いずれかの前記集約パーツを前記所定方向に移動させる駆動部と、
前記第1平面と交差する方向に沿って移動可能な押込部と、を備え、
前記第1平面の法線方向からの平面視において、各々の前記集約パーツの前記集約プレートは、前記集約パーツの移動方向に対して傾斜して設けられ、
前記いずれかの前記集約パーツが移動するとき、他の前記集約パーツは、隣接する前記集約パーツの前記集約プレートから押されることによって、押される方向とは異なる方向に沿って移動し、
各々の前記集約プレートに囲まれた空間領域を集約領域とするとき、前記集約プレートは、第1状態と、当該第1状態よりも前記集約領域の容積が小さい第2状態と、に移動でき、
包装用シートを被せた円筒状物を、その側面が前記第1平面に沿い、かつ当該側面の孔の少なくとも一部が前記集約領域と重畳する位置に配置したとき、
前記駆動部が、前記集約パーツを前記第1状態から前記第2状態に変化するように移動させて前記包装用シートの余剰分を前記集約領域に集約し、かつ前記押込部を前記孔の内部に向けて、集約された前記包装用シートを押し込むように移動させることによって、前記円筒状物を前記包装用シートで包装できる、包装装置。
続きを表示(約 2,400 文字)
【請求項2】
前記フレームと、
前記フレームに対して少なくとも4箇所に設けられた前記集約パーツと、
前記駆動部と、
前記押込部と、が前記配置した前記円筒状物の両端面側にそれぞれ一対で設けられる、請求項1に記載の包装装置。
【請求項3】
前記押込部は、その先端に吸引部をさらに備え、
前記押込部を前記孔の内部に向けて集約された前記包装用シートを押し込むように移動させる前、移動中、または移動後に、前記吸引部によって前記包装用シートに囲まれた領域の空気を吸引できる、請求項1に記載の包装装置。
【請求項4】
前記第1平面の法線方向からの平面視において、各々の前記集約パーツの前記集約プレートは、当該集約パーツの移動方向に対して30°以上、60°以下に傾斜して設けられる、請求項1に記載の包装装置。
【請求項5】
前記第1平面の法線方向からの平面視において、前記第1状態における前記集約領域の前記配置した前記円筒状物側の輪郭が、角丸の多角形または五角形以上の多角形に沿っている、請求項1に記載の包装装置。
【請求項6】
前記集約領域を囲う前記各集約プレートは、前記集約領域の前記配置した前記円筒状物側の輪郭を形成する縁部に、曲率を有する曲面または傾斜面を有する、請求項1に記載の包装装置。
【請求項7】
前記第1平面の法線方向からの平面視において、前記第1状態における前記集約領域の前記配置した前記円筒状物側の輪郭が、角丸の多角形または五角形以上の多角形に沿っており、かつ、
前記集約領域を囲う前記各集約プレートは、前記集約領域の前記配置した前記円筒状物側の輪郭を形成する縁部に、曲率を有する曲面または傾斜面を有する、請求項1に記載の包装装置。
【請求項8】
前記第1平面の法線方向からの平面視において、前記第2状態における前記集約領域の前記配置した前記円筒状物側の輪郭が、円形に沿っている、請求項1に記載の包装装置。
【請求項9】
フレームと、
前記フレームに対して第1平面に沿う各々の所定方向に沿って移動可能に固定されたスライド片および前記スライド片に固定され、前記第1平面と交差する方向に延びる集約プレートを有する、3箇所に設けられた集約パーツと、
いずれかの前記集約パーツを前記所定方向に移動させる駆動部と、
前記第1平面と交差する方向に沿って移動可能な押込部と、を備え、
前記第1平面の法線方向からの平面視において、各々の前記集約パーツの前記集約プレートは、前記集約パーツの移動方向に対して傾斜して設けられ、
前記いずれかの前記集約パーツが移動するとき、他の前記集約パーツは、隣接する前記集約パーツの前記集約プレートから押されることによって、押される方向とは異なる方向に沿って移動し、
各々の前記集約プレートに囲まれた空間領域を集約領域とするとき、前記集約プレートは、第1状態と、当該第1状態よりも前記集約領域の容積が小さい第2状態と、に移動でき、
包装用シートを被せた円筒状物を、その側面が前記第1平面に沿い、かつ当該側面の孔の少なくとも一部が前記集約領域と重畳する位置に配置したとき、
前記駆動部が、前記集約パーツを前記第1状態から前記第2状態に変化するように移動させて前記包装用シートの余剰分を前記集約領域に集約し、かつ前記押込部を前記孔の内部に向けて、集約された前記包装用シートを押し込むように移動させることによって、前記円筒状物を前記包装用シートで包装でき、
前記第1平面の法線方向からの平面視において、前記第1状態における前記集約領域の前記配置した前記円筒状物側の輪郭が、角丸の多角形または五角形以上の多角形に沿っている、包装装置。
【請求項10】
フレームと、
前記フレームに対して第1平面に沿う各々の所定方向に沿って移動可能に固定されたスライド片および前記スライド片に固定され、前記第1平面と交差する方向に延びる集約プレートを有する、3箇所に設けられた集約パーツと、
いずれかの前記集約パーツを前記所定方向に移動させる駆動部と、
前記第1平面と交差する方向に沿って移動可能な押込部と、を備え、
前記第1平面の法線方向からの平面視において、各々の前記集約パーツの前記集約プレートは、前記集約パーツの移動方向に対して傾斜して設けられ、
前記いずれかの前記集約パーツが移動するとき、他の前記集約パーツは、隣接する前記集約パーツの前記集約プレートから押されることによって、押される方向とは異なる方向に沿って移動し、
各々の前記集約プレートに囲まれた空間領域を集約領域とするとき、前記集約プレートは、第1状態と、当該第1状態よりも前記集約領域の容積が小さい第2状態と、に移動でき、
包装用シートを被せた円筒状物を、その側面が前記第1平面に沿い、かつ当該側面の孔の少なくとも一部が前記集約領域と重畳する位置に配置したとき、
前記駆動部が、前記集約パーツを前記第1状態から前記第2状態に変化するように移動させて前記包装用シートの余剰分を前記集約領域に集約し、かつ前記押込部を前記孔の内部に向けて、集約された前記包装用シートを押し込むように移動させることによって、前記円筒状物を前記包装用シートで包装でき、
前記集約領域を囲う前記各集約プレートは、前記集約領域の前記配置した前記円筒状物側の輪郭を形成する縁部に、曲率を有する曲面または傾斜面を有する、包装装置。
(【請求項11】以降は省略されています)
発明の詳細な説明
【技術分野】
【0001】
本発明は、円筒状物を包装用シートで包装する包装装置および包装方法に関する。
続きを表示(約 3,500 文字)
【背景技術】
【0002】
従来から、長尺の帯状の機能性フィルムや金属板、紙材等をロール状に巻き取った円筒状物を、保護用の包装用シートで包装することが行われている。ここで、円筒状物を包装するとは、円筒状物の外周部分と、耳部とも呼ばれる円筒状物の端面とを、包装用シートで覆うことである。このとき、包装用シートを円筒状物の外周に巻き付けることにより、円筒状物の外周部分への包装は容易にできるが、円筒状物の端面を覆うために円筒状物の端面からはみ出した包装用シートを、端面に沿うように均等に集約させて包装することは容易ではない。このような作業を人手で行う場合、熟練者とそうでない者とで仕上がり品質に大きな差が出てしまい、外観の差だけではなく、円筒状物の保護効果や品質にも差が出る可能性がある。
【0003】
一方、このような円筒状物を包装用シートで包装する作業を自動化する装置が検討されており、例えば下記の特許文献1、特許文献2、特許文献3および特許文献4を挙げることができる。いずれも、円筒状物の端面からはみ出した包装用シートを、端面に沿うように均等に集約させる部分の装置構成に特色を持たせている。特許文献1は、折込ロールを、円筒物の側端面の中心を通る放射線と同円筒物の外周線との交点を中心にして包装材の送り方向へπ/n角度傾斜させて配設し、耳折りの折目を放射状に折るように耳折するものである。特許文献2は、芯管にシート状長尺物を巻取った筒体を包装材料によって被覆し、該包装材料全体を芯管の両側端部で絞り込んで、この絞り込み部分を固定する包装装置である。被覆状態における包装材料の筒状側端部より大径の開口部を有する環状フレームと、該環状フレームに揺動自在に枢支されてなる複数枚のシャッタ羽根を備えている。
【0004】
また、特許文献3は、梱包用シートで線材コイル外周面を覆い、コイル端面方向のシートはみ出し部をコイル内筒部へ折り込む線材コイル梱包方法が記載される。該コイル端面方向のシートはみ出し部をコイル内筒部へ折り込む際に該線材コイルと該はみ出し部の相対位置を周方向にずらすものである。さらに、特許文献4は、予め設定の余裕部Saを有する包装シート体Sを円筒状物品Aの端面を包み込み、その後、中空芯Dの周囲を熱溶着する、円筒状物品の端面の後処理方法を記載するものである。
【先行技術文献】
【特許文献】
【0005】
特開昭58-134825号公報
特開平4―87917号公報
特開平5-270516号公報
特開2001-58615号公報
【発明の概要】
【発明が解決しようとする課題】
【0006】
このような装置は、いずれも円筒状物の端面からはみ出した包装用シートを端面に沿うように均等に集約させるため、装置構成や動作が複雑であり、条件出しの調整に手間が掛かったり、包装用シートの状態のばらつきの影響を受け、包装品質が不安定となるおそれがあった。
【0007】
本開示はこのような状況に鑑みてなされたものであり、比較的単純な構成で、円筒状物への包装用シートの包装を安定してできる包装装置および包装方法を提供することを課題とする。
【課題を解決するための手段】
【0008】
本開示の一実施形態は、フレームと、前記フレームに対して第1平面に沿う各々の所定方向に沿って移動可能に固定されたスライド片および前記スライド片に固定され、前記第1平面と交差する方向に延びる集約プレートを有する、少なくとも4箇所に設けられた集約パーツと、いずれかの前記集約パーツを前記所定方向に移動させる駆動部と、前記第1平面と交差する方向に沿って移動可能な押込部と、を備え、前記第1平面の法線方向からの平面視において、各々の前記集約パーツの前記集約プレートは、前記集約パーツの移動方向に対して傾斜して設けられ、前記いずれかの前記集約パーツが移動するとき、他の前記集約パーツは、隣接する前記集約パーツの前記集約プレートから押されることによって、押される方向とは異なる方向に沿って移動し、各々の前記集約プレートに囲まれた空間領域を集約領域とするとき、前記集約プレートは、第1状態と、当該第1状態よりも前記集約領域の容積が小さい第2状態と、に移動でき、包装用シートを被せた円筒状物を、その側面が前記第1平面に沿い、かつ当該側面の孔の少なくとも一部が前記集約領域と重畳する位置に配置したとき、前記駆動部が、前記集約パーツを前記第1状態から前記第2状態に変化するように移動させて前記包装用シートの余剰分を前記集約領域に集約し、かつ前記押込部を前記孔の内部に向けて、集約された前記包装用シートを押し込むように移動させることによって、前記円筒状物を前記包装用シートで包装できる、包装装置を提供する。
【0009】
本開示の一実施形態は、フレームと、前記フレームに対して第1平面に沿う各々の所定方向に沿って移動可能に固定されたスライド片および前記スライド片に固定され、前記第1平面と交差する方向に延びる集約プレートを有する、3箇所に設けられた集約パーツと、いずれかの前記集約パーツを前記所定方向に移動させる駆動部と、前記第1平面と交差する方向に沿って移動可能な押込部と、を備え、前記第1平面の法線方向からの平面視において、各々の前記集約パーツの前記集約プレートは、前記集約パーツの移動方向に対して傾斜して設けられ、前記いずれかの前記集約パーツが移動するとき、他の前記集約パーツは、隣接する前記集約パーツの前記集約プレートから押されることによって、押される方向とは異なる方向に沿って移動し、各々の前記集約プレートに囲まれた空間領域を集約領域とするとき、前記集約プレートは、第1状態と、当該第1状態よりも前記集約領域の容積が小さい第2状態と、に移動でき、包装用シートを被せた円筒状物を、その側面が前記第1平面に沿い、かつ当該側面の孔の少なくとも一部が前記集約領域と重畳する位置に配置したとき、前記駆動部が、前記集約パーツを前記第1状態から前記第2状態に変化するように移動させて前記包装用シートの余剰分を前記集約領域に集約し、かつ前記押込部を前記孔の内部に向けて、集約された前記包装用シートを押し込むように移動させることによって、前記円筒状物を前記包装用シートで包装でき、前記第1平面の法線方向からの平面視において、前記第1状態における前記集約領域の前記配置した前記円筒状物側の輪郭が、角丸の多角形または五角形以上の多角形に沿っている、包装装置を提供する。
【0010】
本開示の一実施形態は、フレームと、前記フレームに対して第1平面に沿う各々の所定方向に沿って移動可能に固定されたスライド片および前記スライド片に固定され、前記第1平面と交差する方向に延びる集約プレートを有する、3箇所に設けられた集約パーツと、
いずれかの前記集約パーツを前記所定方向に移動させる駆動部と、前記第1平面と交差する方向に沿って移動可能な押込部と、を備え、前記第1平面の法線方向からの平面視において、各々の前記集約パーツの前記集約プレートは、前記集約パーツの移動方向に対して傾斜して設けられ、前記いずれかの前記集約パーツが移動するとき、他の前記集約パーツは、隣接する前記集約パーツの前記集約プレートから押されることによって、押される方向とは異なる方向に沿って移動し、各々の前記集約プレートに囲まれた空間領域を集約領域とするとき、前記集約プレートは、第1状態と、当該第1状態よりも前記集約領域の容積が小さい第2状態と、に移動でき、包装用シートを被せた円筒状物を、その側面が前記第1平面に沿い、かつ当該側面の孔の少なくとも一部が前記集約領域と重畳する位置に配置したとき、前記駆動部が、前記集約パーツを前記第1状態から前記第2状態に変化するように移動させて前記包装用シートの余剰分を前記集約領域に集約し、かつ前記押込部を前記孔の内部に向けて、集約された前記包装用シートを押し込むように移動させることによって、前記円筒状物を前記包装用シートで包装でき、前記集約領域を囲う前記各集約プレートは、前記集約領域の前記配置した前記円筒状物側の輪郭を形成する縁部に、曲率を有する曲面または傾斜面を有する、包装装置を提供する。
【発明の効果】
(【0011】以降は省略されています)
この特許をJ-PlatPat(特許庁公式サイト)で参照する
関連特許
大日本印刷株式会社
移動体
19日前
大日本印刷株式会社
移動体
19日前
大日本印刷株式会社
床構成体
今日
大日本印刷株式会社
写真撮影装置
20日前
大日本印刷株式会社
発電モジュール
9日前
大日本印刷株式会社
パネルの固定方法
6日前
大日本印刷株式会社
積層体及び包装容器
7日前
大日本印刷株式会社
積層体および包装容器
9日前
大日本印刷株式会社
積層体および包装容器
9日前
大日本印刷株式会社
積層体および包装容器
9日前
大日本印刷株式会社
積層体および包装容器
9日前
大日本印刷株式会社
学習支援装置及びプログラム
今日
大日本印刷株式会社
情報処理装置及びプログラム
9日前
大日本印刷株式会社
リードフレーム及びその製造方法
21日前
大日本印刷株式会社
クランプ装置及びウェブ搬送装置
9日前
大日本印刷株式会社
ポリエステルフィルム及び積層体
19日前
大日本印刷株式会社
作業装置、作業システム、作業方法
5日前
大日本印刷株式会社
ウェブ搬送装置及びウェブ搬送方法
5日前
大日本除蟲菊株式会社
薬剤揮散装置
1日前
大日本印刷株式会社
バリア性フィルム、積層体および包装容器
9日前
大日本印刷株式会社
バリア性フィルム、積層体および包装容器
9日前
大日本印刷株式会社
サーバ装置、動画配信方法及びプログラム
9日前
大日本印刷株式会社
バリア性フィルム、積層体および包装容器
9日前
大日本印刷株式会社
転写シート、成形品の製造方法および成形品
5日前
大日本印刷株式会社
サーバ装置、注目度算出方法及びプログラム
19日前
大日本印刷株式会社
サーバ装置、仮想空間制御方法及びプログラム
19日前
大日本印刷株式会社
プログラム、情報処理方法、及び情報処理装置
1日前
大日本印刷株式会社
ボビン、熱転写シートリボン及び熱転写印画装置
9日前
大日本印刷株式会社
化粧シート、化粧シートの製造方法および化粧部材
1日前
大日本印刷株式会社
デュアルインターフェースICカードおよびICモジュール
1日前
大日本印刷株式会社
デュアルインターフェースICカードおよびICモジュール
1日前
大日本印刷株式会社
光学素子、前記光学素子を含む装置、及び光学素子の製造方法
6日前
大日本印刷株式会社
ゴルフボールスタンド、ゴルフボールパッケージおよびブランクシート
19日前
大日本印刷株式会社
プリフォーム及びその製造方法、並びにプラスチックボトル及びその製造方法
今日
大日本印刷株式会社
プリフォーム及びその製造方法、並びにプラスチックボトル及びその製造方法
今日
大日本印刷株式会社
包装材料並びに袋及び包装体
5日前
続きを見る
他の特許を見る