TOP
|
特許
|
意匠
|
商標
特許ウォッチ
Twitter
他の特許を見る
10個以上の画像は省略されています。
公開番号
2025146982
公報種別
公開特許公報(A)
公開日
2025-10-03
出願番号
2025127282,2024128191
出願日
2025-07-30,2020-05-27
発明の名称
ベーパーチャンバおよび電子機器
出願人
大日本印刷株式会社
代理人
個人
,
個人
,
個人
主分類
F28D
15/02 20060101AFI20250926BHJP(熱交換一般)
要約
【課題】熱輸送効率を向上させる。
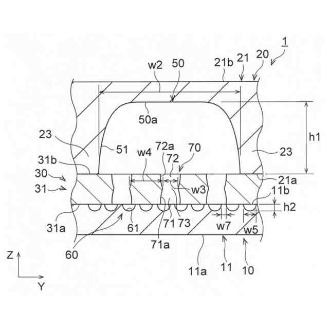
【解決手段】本発明によるベーパーチャンバは、作動流体が封入されたベーパーチャンバである。ベーパーチャンバは、第1シートと、第1シートに積層された第2シートと、第1シートと第2シートとの間に介在された第3シートと、作動流体の蒸気が通る蒸気流路部と、液状の作動流体が通る液流路部と、を備えている。蒸気流路部は、第1シートに設けられることなく、第2シートの第3シートの側の面に設けられている。液流路部は、第1シートと第3シートとの間に設けられている。また、第3シートに、第3シートを貫通し、蒸気流路部と液流路部とを連通する複数の貫通孔が設けられている。
【選択図】図3
特許請求の範囲
【請求項1】
作動流体が封入されたベーパーチャンバであって、
第1シートと、
前記第1シートに積層された第2シートと、
前記第1シートと前記第2シートとの間に介在された第3シートと、
前記作動流体の蒸気が通る蒸気流路部と、
液状の前記作動流体が通る液流路部と、を備え、
前記蒸気流路部は、前記第2シートの前記第3シートの側の面に設けられ、
前記液流路部は、前記第1シートと前記第3シートとの間に設けられ、
前記第3シートに、前記第3シートを貫通し、前記蒸気流路部と前記液流路部とを連通する複数の貫通孔が設けられ、
前記蒸気流路部に、前記第3シートに向かって突出した突出部が設けられ、
前記突出部は、前記第3シートの前記第2シートの側の面に当接している、ベーパーチャンバ。
発明の詳細な説明
【技術分野】
【0001】
本発明は、ベーパーチャンバおよび電子機器に関する。
続きを表示(約 1,500 文字)
【背景技術】
【0002】
携帯端末やタブレット端末といったモバイル端末等で使用される中央演算処理装置(CPU)や発光ダイオード(LED)、パワー半導体等の発熱を伴うデバイスは、ヒートパイプ等の放熱用部材によって冷却されている(例えば、特許文献1参照)。近年では、モバイル端末等の薄型化のために、放熱用部材の薄型化も求められており、ヒートパイプより薄型化を図ることができるベーパーチャンバの開発が進められている。ベーパーチャンバ内には、作動流体が封入されており、この作動流体がデバイスの熱を吸収、拡散することで、デバイスの冷却を行っている。
【0003】
より具体的には、ベーパーチャンバ内の作動流体は、デバイスに近接した部分(蒸発領域)でデバイスから熱を受けて蒸発して蒸気(作動蒸気)になる。その作動蒸気は、蒸気流路部内で蒸発領域から離れる方向に拡散して冷却され、凝縮して液状になる。ベーパーチャンバ内には、毛細管構造(ウィック)としての液流路部が設けられており、凝縮して液状になった作動流体(作動液)は、蒸気流路部から液流路部に入り込み、液流路部を流れて蒸発領域に向かって輸送される。そして、作動液は、再び蒸発領域で熱を受けて蒸発する。このようにして、作動流体が、相変化、すなわち蒸発と凝縮とを繰り返しながらベーパーチャンバ内を還流することによりデバイスの熱を移動させ、放熱効率を高めている。
【先行技術文献】
【特許文献】
【0004】
特開2019-143960号公報
【発明の概要】
【発明が解決しようとする課題】
【0005】
しかしながら、液流路部の毛細管作用が十分でない場合、作動液の輸送量が低減し、熱輸送効率が低下するおそれがある。
【0006】
本発明は、このような点を考慮してなされたものであり、熱輸送効率を向上させることができるベーパーチャンバおよび電子機器を提供することを目的とする。
【課題を解決するための手段】
【0007】
本発明は、
作動流体が封入されたベーパーチャンバであって、
第1シートと、
前記第1シートに積層された第2シートと、
前記第1シートと前記第2シートとの間に介在された第3シートと、
前記作動流体の蒸気が通る蒸気流路部と、
液状の前記作動流体が通る液流路部と、を備え、
前記蒸気流路部は、前記第1シートに設けられることなく、前記第2シートの前記第3シートの側の面に設けられ、
前記液流路部は、前記第1シートと前記第3シートとの間に設けられ、
前記第3シートに、前記第3シートを貫通し、前記蒸気流路部と前記液流路部とを連通する複数の貫通孔が設けられている、ベーパーチャンバ、
を提供する。
【0008】
上述したベーパーチャンバにおいて、
前記液流路部は、前記第1シートの前記第3シートの側の面に設けられている、
ようにしてもよい。
【0009】
また、上述したベーパーチャンバにおいて、
前記液流路部は、前記第3シートの前記第1シートの側の面に設けられている、
ようにしてもよい。
【0010】
また、上述したベーパーチャンバにおいて、
前記第3シートにおける前記貫通孔の開口率は、20%以上60%以下である、
ようにしてもよい。
(【0011】以降は省略されています)
この特許をJ-PlatPat(特許庁公式サイト)で参照する
関連特許
個人
排熱回収装置
2か月前
個人
熱交換装置
4か月前
ホーコス株式会社
熱交換ユニット
8か月前
住友精密工業株式会社
熱交換器
12か月前
三恵技研工業株式会社
熱交換器
6か月前
三恵技研工業株式会社
熱交換器
6か月前
アンリツ株式会社
検査装置
5か月前
アンリツ株式会社
検査装置
5か月前
株式会社パイオラックス
熱交換器
8か月前
株式会社ティラド
ラジエータ
8か月前
日産自動車株式会社
熱交換器
7か月前
新光電気工業株式会社
蓄熱装置
26日前
個人
熱交換器
10か月前
株式会社アイシン
水噴射冷却システム
8か月前
スズキ株式会社
熱交換器
11か月前
サンデン株式会社
熱交換器
6か月前
サンデン株式会社
熱交換器
8か月前
日新電機株式会社
化学蓄熱反応器
9か月前
サンデン株式会社
熱交換器
6か月前
サンデン株式会社
熱交換器
8か月前
栗田工業株式会社
冷却塔システム
8か月前
株式会社デンソー
熱交換器
4か月前
サンデン株式会社
熱交換器
8か月前
株式会社アイシン
熱交換器
4か月前
ZACROS株式会社
熱交換装置
6か月前
株式会社デンソー
熱交換器
4か月前
株式会社デンソー
熱交換器
3か月前
株式会社デンソー
熱交換器
4か月前
栗田工業株式会社
冷却塔システム
3か月前
株式会社デンソー
熱交換器
10か月前
株式会社神戸製鋼所
積層型熱交換器
4か月前
TPR株式会社
熱電発電機能付き熱交換器
6か月前
中部抵抗器株式会社
密閉構造体用冷却装置
9か月前
古河電気工業株式会社
ヒートパイプ
8か月前
個人
液冷放熱装置
11か月前
愛知製鋼株式会社
化学蓄熱装置
11か月前
続きを見る
他の特許を見る