TOP
|
特許
|
意匠
|
商標
特許ウォッチ
Twitter
他の特許を見る
公開番号
2025152081
公報種別
公開特許公報(A)
公開日
2025-10-09
出願番号
2024053814
出願日
2024-03-28
発明の名称
感知装置
出願人
日本電波工業株式会社
代理人
弁理士法人弥生特許事務所
主分類
G01N
5/02 20060101AFI20251002BHJP(測定;試験)
要約
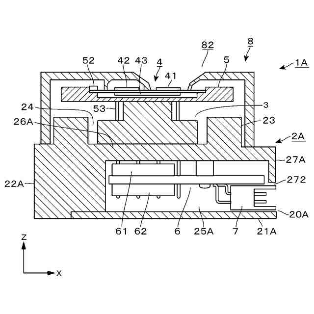
【課題】 感知装置の小型化を図る技術を提供すること。
【解決手段】気体である被感知物質を圧電振動子に吸着させ、圧電振動子の発振周波数の変化に基づいて、被感知物質を感知する感知装置において、仕切り板を挟んで、ペルチェ素子部の排熱面側の領域を収容する第1の凹部と、回路基板を収容する第2の凹部とが形成されたベース体を備え、ペルチェ素子部の温調面に、圧電振動子を保持したセンサ基板を接するように設ける。回路基板には、圧電振動子を発振させる発振回路が搭載されると共に、外部との接続を行うためのコネクタが表面実装され、コネクタは、ベース体の第2の凹部が形成された領域の側面側から外部との接続が行われる。コネクタは、感知装置の側面側から外部に接続されるように設けられているので、感知装置の小型化を図ることができる。
【選択図】 図3
特許請求の範囲
【請求項1】
気体である被感知物質を圧電振動子に吸着させ、当該圧電振動子の温度を変化させて被感知物質を脱離させ、圧電振動子の発振周波数の変化と前記温度との関係に基づいて、被感知物質を感知する感知装置において、
前記圧電振動子を保持したセンサ基板と、
前記センサ基板と接し、前記圧電振動子の温度を変化させるための温調面と、前記温調面の反対側の排熱面とを備えたペルチェ素子部と
前記圧電振動子に対して電気的に接続され、当該圧電振動子を発振させる発振回路が搭載されると共に、外部との接続を行うためのコネクタが表面実装された回路基板と、
仕切り板を挟んで、前記ペルチェ素子部の前記排熱面側の領域を収容する第1の凹部と、前記回路基板を収容する第2の凹部とが形成されたベース体と、
前記第1の凹部が形成されている領域の前記ベース体と、前記第1の凹部の外部に突出している前記ペルチェ素子部と、前記センサ基板とを収容し、前記被感知物質を吸着させる前記圧電振動子の配置領域に対応させて開口部が形成されたカバー体と、
前記第2の凹部を塞ぐベースカバーと、を備え、
前記コネクタは、前記ベース体の前記第2の凹部が形成された領域の側面側から外部との接続が行われることを特徴とする感知装置。
続きを表示(約 550 文字)
【請求項2】
前記ペルチェ素子は、前記排熱面が前記仕切り板と接するよう前記第1の凹部内に収容され、前記回路基板は、前記発振回路が前記仕切り板から離間するように前記第2の凹部内に収容されていることを特徴とする請求項1に記載の感知装置。
【請求項3】
前記発振回路と前記仕切り板との離間距離は、0.3~1.5mmの範囲内であることを特徴とする請求項2に記載の感知装置。
【請求項4】
前記感知装置は、真空雰囲気内で使用され、前第2の凹部と前記ベースカバーとの間の前記回路基板を収容する空間が真空雰囲気となることにより、前記仕切り板から離間して設けられた前記発振回路が、当該仕切り板に対して真空断熱されることを特徴とする請求項2に記載の感知装置。
【請求項5】
前記コネクタは、前記仕切り板と前記回路基板との間に配置され、前記仕切り板は、前記コネクタが配置されている領域よりも、前記発振回路が配置されている領域の方が、厚さ寸法が大きく構成されていることを特徴とする請求項1に記載の感知装置。
【請求項6】
前記発振回路が配置されている領域の前記仕切り板の厚さ寸法は、3~5mmの範囲内であることを特徴とする請求項4に記載の感知装置。
発明の詳細な説明
【技術分野】
【0001】
本開示は、圧電振動子の周波数変化により被感知物質を感知する感知装置に関する。
続きを表示(約 2,200 文字)
【背景技術】
【0002】
ガス中に含まれる物質を感知する感知装置として、水晶振動子を用いたQCM(Quartz crystal microbalance)が知られている。このようなQCMを利用した物質の分析手法の一つとして、水晶振動子にガスを付着させた後、当該水晶振動子の温度を低温の状態から徐々に上げて、当該水晶振動子に付着したガスを脱離させる手法が知られている。
【0003】
この手法は熱重量測定法の一種であり、ガスの脱離前後の周波数変化量を測定することで、ガスの付着量が取得され、ガスが脱離する際の温度を検出することで、ガスの成分が特定される。上記の水晶振動子の温度変更を能動的に行うためにペルチェ素子を内蔵した分析装置が知られており、このようにQCMとガスを離脱させるための温度調節手段とを組み合わせた感知装置は、TQCM(Thermoelectric QCM)とも呼ばれる(例えば後述の特許文献2)。
このようなTQCMは、温度調節部や水晶振動子の発振回路などを備え、構造が複雑化すると共に大型化しており、小型化を図ることが求められている。
【0004】
なお、特許文献1には、水晶振動子センサと、ペルチェ素子と、伝熱材とを上方からこの順で積層した構成が記載されている。また、特許文献2には、圧電振動子を備えた基板と、熱電素子部と、支持板とを一体化し、ベース部に着脱自在に設ける構成が記載されている。
しかしながら、これら特許文献1及び特許文献2では小型化には着目されておらず、本発明の課題を解決する構成は開示されていない。
【先行技術文献】
【特許文献】
【0005】
特開2005-257394号公報
特開2020-193846号公報
【発明の概要】
【発明が解決しようとする課題】
【0006】
本発明は、このような事情に基づいてなされたものであり、感知装置の小型化を図る技術を提供することにある。
【課題を解決するための手段】
【0007】
本開示は、
気体である被感知物質を圧電振動子に吸着させ、当該圧電振動子の温度を変化させて被感知物質を脱離させ、圧電振動子の発振周波数の変化と前記温度との関係に基づいて、被感知物質を感知する感知装置において、
前記圧電振動子を保持したセンサ基板と、
前記センサ基板と接し、前記圧電振動子の温度を変化させるための温調面と、前記温調面の反対側の排熱面とを備えたペルチェ素子部と、
前記圧電振動子に対して電気的に接続され、当該圧電振動子を発振させる発振回路が搭載されると共に、外部との接続を行うためのコネクタが表面実装された回路基板と、
仕切り板を挟んで、前記ペルチェ素子部の前記排熱面側の領域を収容する第1の凹部と、前記回路基板を収容する第2の凹部とが形成されたベース体と、
前記第1の凹部が形成されている領域の前記ベース体と、前記第1の凹部の外部に突出している前記ペルチェ素子部と、前記センサ基板とを収容し、前記被感知物質を吸着させる前記圧電振動子の配置領域に対応させて開口部が形成されたカバー体と、
前記第2の凹部を塞ぐベースカバーと、を備え、
前記コネクタは、前記ベース体の前記第2の凹部が形成された領域の側面側から外部との接続が行われることを特徴とする。
【発明の効果】
【0008】
本開示によれば、圧電振動子の発振周波数の変化に基づいて、圧電振動子に吸着させた被感知物質を感知する感知装置において、圧電振動子を発振させる発振回路が搭載される回路基板に、外部との接続を行うためのコネクタを表面実装している。この回路基板は、ベース体の第2の凹部に収容され、コネクタは感知装置の側面側から外部に接続されるように設けられているので、感知装置の小型化を図ることができる。
【図面の簡単な説明】
【0009】
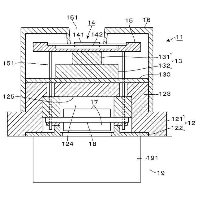
比較形態の感知装置を示す縦断側面図である。
比較形態の感知装置を示す外観斜視図である。
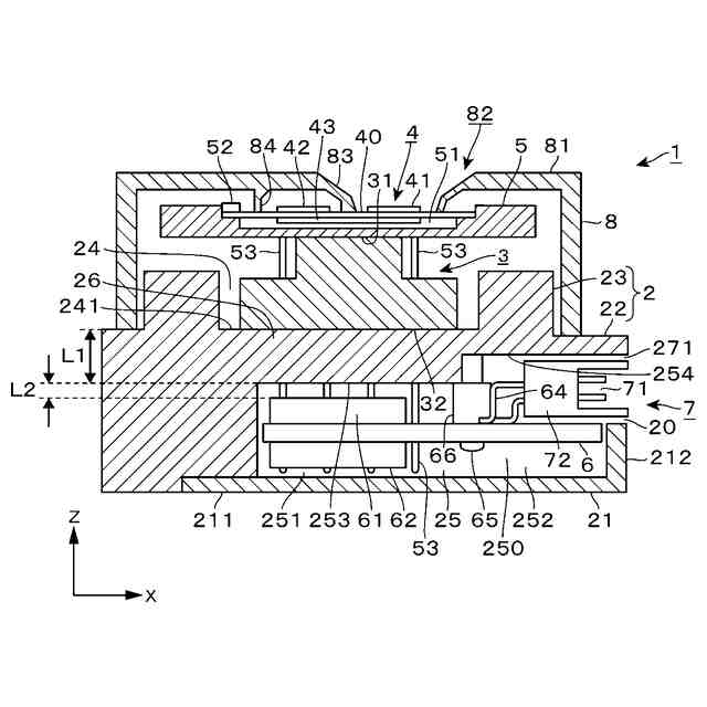
本発明の実施形態に係る感知装置を示す縦断側面図である。
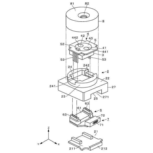
本発明の実施形態に係る感知装置を示す分解斜視図である。
本発明の実施形態に係る感知装置を示す外観斜視図である。
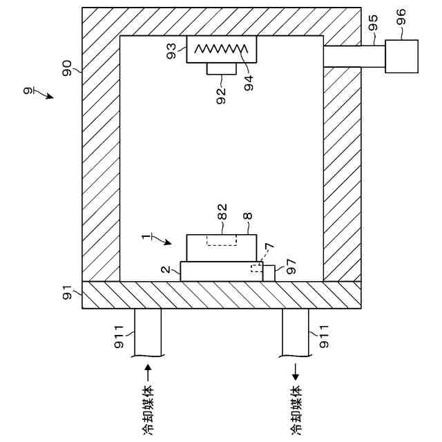
本発明の感知装置が設けられた感知システムの一例を示す縦断側面図である。
本発明の感知装置の他の例を示す縦断側面図である。
【発明を実施するための形態】
【0010】
本発明は、TQCMである感知装置に関するものであり、感知装置の小型化を図ることを目的としている。このため、本発明の説明に先立ち、比較形態として、従来型の感知装置の構成について簡単に説明する。
<比較形態>
図1は比較形態の感知装置11の縦断側面図、図2はその外観斜視図である。これらの図に示す感知装置11は、ベース本体121と裏蓋部122とからなるベース部12を備えている。ベース本体121は平面視円形のブロックにより構成され、その上面側の中央部に平面視円形の突起部123を備えている。
(【0011】以降は省略されています)
この特許をJ-PlatPat(特許庁公式サイト)で参照する
関連特許
日本電波工業株式会社
感知装置
7日前
日本電波工業株式会社
感知装置
7日前
日本電波工業株式会社
感知装置
7日前
日本電波工業株式会社
圧電振動片
6日前
日本電波工業株式会社
感知センサ
6日前
日本電波工業株式会社
感知センサ及び感知装置
7日前
日本電波工業株式会社
圧電デバイス用のベース及び圧電デバイス
1か月前
日本電波工業株式会社
感知センサモジュール及びセンサモジュール放熱構造
7日前
個人
メジャー文具
9日前
個人
アクセサリー型テスター
2日前
個人
高精度同時多点測定装置
1日前
日本精機株式会社
位置検出装置
15日前
ユニパルス株式会社
ロードセル
8日前
日本精機株式会社
位置検出装置
15日前
日本精機株式会社
位置検出装置
15日前
大和製衡株式会社
組合せ秤
20日前
大和製衡株式会社
組合せ秤
20日前
アズビル株式会社
圧力センサ
14日前
トヨタ自動車株式会社
検査装置
17日前
株式会社ヨコオ
ソケット
7日前
ダイキン工業株式会社
監視装置
6日前
株式会社チノー
放射光測温装置
8日前
株式会社東芝
センサ
20日前
トヨタ自動車株式会社
監視装置
7日前
株式会社ユーシン
操作検出装置
17日前
株式会社東芝
センサ
20日前
エイブリック株式会社
磁気センサ回路
14日前
株式会社ヨコオ
ソケット
8日前
TDK株式会社
ガスセンサ
8日前
TDK株式会社
磁気センサ
7日前
ローム株式会社
半導体装置
今日
ローム株式会社
半導体装置
今日
TDK株式会社
ガスセンサ
14日前
株式会社東芝
重量測定装置
13日前
TDK株式会社
ガスセンサ
13日前
長崎県
形状計測方法
2日前
続きを見る
他の特許を見る