TOP
|
特許
|
意匠
|
商標
特許ウォッチ
Twitter
他の特許を見る
10個以上の画像は省略されています。
公開番号
2025151627
公報種別
公開特許公報(A)
公開日
2025-10-09
出願番号
2024053153
出願日
2024-03-28
発明の名称
ローリングピストン型電動圧縮機
出願人
株式会社豊田自動織機
代理人
弁理士法人深見特許事務所
主分類
F04C
18/356 20060101AFI20251002BHJP(液体用容積形機械;液体または圧縮性流体用ポンプ)
要約
【課題】高い信頼性を有するローリングピストン型電動圧縮機を提供する。
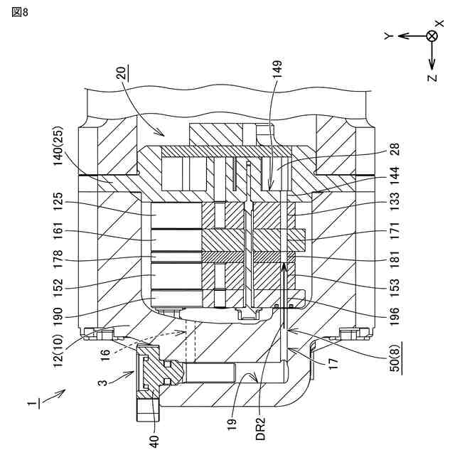
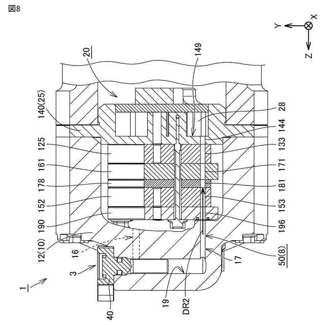
【解決手段】ローリングピストン型電動圧縮機1は、圧縮機構20を備える。圧縮機構20は、プレート部材25を含む。プレート部材25は、圧縮機構20の圧縮室と接する。プレート部材25には、内部が潤滑油を貯留可能な貯油室28となる凹部149が設けられている。吐出経路3から分岐し、オイルセパレータ40から分離された潤滑油を貯油室28に供給可能な第1供給経路50が形成されている。貯油室28から圧縮機構20の摺動位置に潤滑油を供給可能な第2供給経路が形成されている。
【選択図】図8
特許請求の範囲
【請求項1】
吸入経路および吐出経路が設けられたケースと、
前記ケースに収容される電動モータと、
前記ケースに収容され、前記電動モータと水平方向に並設されるとともに、前記吸入経路から吸入され前記電動モータを通過した冷媒を吸入し圧縮して前記吐出経路に吐出する圧縮機構と、
前記吐出経路上に設けられ、冷媒に混在した潤滑油を冷媒から分離するオイルセパレータとを備え、
前記圧縮機構は、
前記電動モータにより駆動されるとともに第1方向に延在する軸心を有する回転軸と、
前記回転軸の回転に伴って前記軸心に対して偏心した状態で回転可能なピストンと、
前記第1方向に交差する方向において前記ピストンに当接するベーンと、
前記ピストンおよび前記ベーンを収容し、前記ピストンおよび前記ベーンとの間において冷媒を圧縮する圧縮室が形成されるシリンダと、
前記第1方向において前記シリンダに当接し、前記圧縮室と接するプレート部材とを含み、
前記プレート部材には、内部が潤滑油を貯留可能な貯油室となる凹部が設けられており、
前記吐出経路から分岐し、前記オイルセパレータから分離された潤滑油を前記貯油室に供給可能な第1供給経路が形成されており、
前記貯油室から前記圧縮機構の摺動位置に潤滑油を供給可能な第2供給経路が形成されている、ローリングピストン型電動圧縮機。
続きを表示(約 1,200 文字)
【請求項2】
前記プレート部材は、
前記ケースの内部における吸入された冷媒が存在する吸入圧領域と、前記ケースの内周面と前記圧縮機構の外周面との間における前記圧縮室から吐出された冷媒が存在する吐出圧領域とを前記第1方向において並ぶように区画するフロントサイドプレートと、
前記第1方向において前記圧縮室を間に挟んで前記フロントサイドプレートに対向配置されるリアサイドプレートとを含み、
前記貯油室は、前記フロントサイドプレートに設けられた前記凹部の内部である、請求項1に記載のローリングピストン型電動圧縮機。
【請求項3】
前記第2供給経路は、前記フロントサイドプレートと前記回転軸との摺動箇所に潤滑油を供給可能に構成されている、請求項2に記載のローリングピストン型電動圧縮機。
【請求項4】
前記第2供給経路は、前記リアサイドプレートと前記回転軸との摺動箇所に潤滑油を供給可能に構成されている、請求項2または請求項3に記載のローリングピストン型電動圧縮機。
【請求項5】
前記第2供給経路は、前記ベーンと前記シリンダとの摺動箇所に潤滑油を供給可能に構成されている、請求項1または請求項2に記載のローリングピストン型電動圧縮機。
【請求項6】
前記第2供給経路は、前記プレート部材と前記ピストンとの摺動箇所に潤滑油を供給可能に構成されている、請求項1または請求項2に記載のローリングピストン型電動圧縮機。
【請求項7】
前記ピストンは、前記第1方向において互いに間隔をあけて配置される第1ピストンおよび第2ピストンを含み、
前記ベーンは、前記第1方向に交差する方向において前記第1ピストンに当接する第1ベーンと、前記第1方向に交差する方向において前記第2ピストンに当接する第2ベーンとを含み、
前記シリンダは、前記第1ピストンおよび前記第1ベーンを収容する第1シリンダと、前記第2ピストンおよび前記第2ベーンを収容する第2シリンダとを含み、
前記圧縮室は、前記第1ベーンおよび前記第1シリンダと前記第1ピストンとの間において冷媒を圧縮する第1圧縮室と、前記第2ベーンおよび第2シリンダと前記第2ピストンとの間において冷媒を圧縮する第2圧縮室とを含み、
前記プレート部材は、前記第1方向において前記第1圧縮室と前記第2圧縮室とを仕切るミドルサイドプレートを含み、
前記第2供給経路は、前記回転軸と前記ミドルサイドプレートとの間の封止箇所に潤滑油を供給可能に構成されている、請求項1または請求項2に記載のローリングピストン型電動圧縮機。
【請求項8】
前記第2供給経路の途中に、潤滑油の流路断面積が小さくなっている絞り部が設けられている、請求項1または請求項2に記載のローリングピストン型電動圧縮機。
発明の詳細な説明
【技術分野】
【0001】
本開示は、ローリングピストン型電動圧縮機に関する。
続きを表示(約 1,800 文字)
【背景技術】
【0002】
密閉型圧縮機を開示した先行技術文献として、特開昭58-20974号公報(特許文献1)がある。特許文献1に記載された密閉型圧縮機は、圧縮機部と、オイルセパレータとを備える。オイルセパレータは、圧縮機部より吐出された冷媒と冷媒に混在する潤滑油とを分離する。潤滑油を分離した冷媒は、オイルセパレータの上面に開口した放出口から放出される。オイルセパレータにより分離された潤滑油は、オイルセパレータの下部に貯まる。
【0003】
横型ロータリーコンプレッサを開示した先行技術文献として、特開2005-105985号公報(特許文献2)がある。特許文献2に記載された横型ロータリーコンプレッサは、回転圧縮機構部を収容する密閉容器を備える。密閉容器の底部には、回転圧縮機構部に供給するオイルを溜めるオイル溜めが設けられている。
【先行技術文献】
【特許文献】
【0004】
特開昭58-20974号公報
特開2005-105985号公報
【発明の概要】
【発明が解決しようとする課題】
【0005】
特許文献1に記載の密閉型圧縮機においては、冷媒の吐出経路近傍に潤滑油が貯まる部分が配置されているため、潤滑油が吐出経路から圧縮機外に持ち出される可能性がある。また、特許文献2に記載の横型ロータリーコンプレッサは、ケースの内部空間全体に潤滑油を貯める貯油室が形成されているため、潤滑油を吸い上げるなどにより圧縮機構へ供給する場合に潤滑油が吸い上げにくい可能性がある。このため、特許文献1および特許文献2においては、圧縮機構の摺動位置に潤滑油が十分に供給されないことによって、ローリングピストン型電動圧縮機の信頼性を低下させる可能性がある。
【0006】
本開示は、上記の課題を解決するためになされたものであって、高い信頼性を有するローリングピストン型電動圧縮機を提供することを目的とする。
【課題を解決するための手段】
【0007】
本開示に基づくローリングピストン型電動圧縮機は、ケースと、電動モータと、圧縮機構と、オイルセパレータとを備える。ケースは、吸入経路および吐出経路が設けられている。電動モータは、ケースに収容される。圧縮機構は、ケースに収容され、電動モータと水平方向に並設されるとともに、吸入経路から吸入され電動モータを通過した冷媒を吸入し圧縮して吐出経路に吐出する。オイルセパレータは、吐出経路上に設けられ、冷媒に混在した潤滑油を冷媒から分離する。圧縮機構は、回転軸と、ピストンと、ベーンと、シリンダと、プレート部材とを含む。回転軸は、電動モータにより駆動されるとともに第1方向に延在する軸心を有する。ピストンは、回転軸の回転に伴って軸心に対して偏心した状態で回転可能である。ベーンは、第1方向に交差する方向においてピストンに当接する。シリンダは、ピストンおよびベーンを収容し、ピストンおよびベーンとの間において冷媒を圧縮する圧縮室が形成される。プレート部材は、第1方向においてシリンダに当接し、圧縮室と接する。プレート部材には、内部が潤滑油を貯留可能な貯油室となる凹部が設けられている。吐出経路から分岐し、オイルセパレータから分離された潤滑油を貯油室に供給可能な第1供給経路が形成されている。貯油室から圧縮機構の摺動位置に潤滑油を供給可能な第2供給経路が形成されている。
【0008】
本開示の一形態においては、プレート部材は、フロントサイドプレートと、リアサイドプレートとを含む。フロントサイドプレートは、ケースの内部における吸入された冷媒が存在する吸入圧領域と、ケースの内周面と圧縮機構の外周面との間における圧縮室から吐出された冷媒が存在する吐出圧領域とを第1方向において並ぶように区画する。リアサイドプレートは、第1方向において圧縮室を間に挟んでフロントサイドプレートに対向配置される。貯油室は、フロントサイドプレートに設けられた凹部の内部である。
【0009】
本開示の一形態においては、第2供給経路は、フロントサイドプレートと回転軸との摺動箇所に潤滑油を供給可能に構成されている。
【0010】
本開示の一形態においては、第2供給経路は、リアサイドプレートと回転軸との摺動箇所に潤滑油を供給可能に構成されている。
(【0011】以降は省略されています)
特許ウォッチbot のツイートを見る
この特許をJ-PlatPat(特許庁公式サイト)で参照する
関連特許
株式会社豊田自動織機
排気管
9日前
株式会社豊田自動織機
産業車両
2日前
株式会社豊田自動織機
冷却装置
13日前
株式会社豊田自動織機
監視装置
13日前
株式会社豊田自動織機
制御装置
16日前
株式会社豊田自動織機
電力変換器
2日前
株式会社豊田自動織機
車両用機器
13日前
株式会社豊田自動織機
回転圧縮機
5日前
株式会社豊田自動織機
回転圧縮機
5日前
株式会社豊田自動織機
電力変換器
5日前
株式会社豊田自動織機
燃料噴射弁
17日前
株式会社豊田自動織機
自動運転車両
9日前
株式会社豊田自動織機
電力変換装置
2日前
株式会社豊田自動織機
荷役制御装置
9日前
株式会社豊田自動織機
インバータ装置
13日前
株式会社豊田自動織機
燃料電池システム
13日前
株式会社豊田自動織機
パレット検知装置
11日前
株式会社豊田自動織機
燃料電池システム
13日前
株式会社豊田自動織機
段積みケース構造
9日前
株式会社豊田自動織機
電磁ブレーキ装置
2日前
株式会社豊田自動織機
燃料電池システム
13日前
株式会社豊田自動織機
燃料電池モジュール
13日前
株式会社豊田自動織機
スクロール型圧縮機
9日前
株式会社豊田自動織機
トランスモジュール
23日前
株式会社豊田自動織機
スクロール型圧縮機
4日前
株式会社豊田自動織機
蓄電装置の製造方法
23日前
株式会社豊田自動織機
蓄電装置の製造方法
23日前
株式会社豊田自動織機
回転電機のステータ
9日前
株式会社豊田自動織機
スクロール型圧縮機
3日前
株式会社豊田自動織機
スクロール型圧縮機
2日前
株式会社豊田自動織機
エンジン式産業車両
3日前
株式会社豊田自動織機
スクロール型圧縮機
4日前
株式会社豊田自動織機
支持装置及び支持部材
23日前
株式会社豊田自動織機
車両のリアシート構造
4日前
株式会社豊田自動織機
屋外自動運転システム
9日前
株式会社豊田自動織機
インバータ一体型電動機
2日前
続きを見る
他の特許を見る