TOP
|
特許
|
意匠
|
商標
特許ウォッチ
Twitter
他の特許を見る
公開番号
2025151615
公報種別
公開特許公報(A)
公開日
2025-10-09
出願番号
2024053136
出願日
2024-03-28
発明の名称
マンコンベヤ欄干装置及びマンコンベヤ
出願人
フジテック株式会社
代理人
弁理士法人ユニアス国際特許事務所
主分類
B66B
29/08 20060101AFI20251002BHJP(巻上装置;揚重装置;牽引装置)
要約
【課題】 手摺ベルトの走行の駆動を用いて、動作部を動作させることができるマンコンベヤ欄干装置及びマンコンベヤを提供する。
【解決手段】 マンコンベヤ欄干装置は、回転して走行する環状の手摺ベルトと、手摺ベルトに接し、手摺ベルトが走行することによって回転する回転体と、回転体が回転することによって動作する動作部と、を備える。
【選択図】 図2
特許請求の範囲
【請求項1】
回転して走行する環状の手摺ベルトと、
前記手摺ベルトに接し、前記手摺ベルトが走行することによって回転する回転体と、
前記回転体が回転することによって動作する動作部と、を備える、マンコンベヤ欄干装置。
続きを表示(約 590 文字)
【請求項2】
前記動作部は、送風するために、前記回転体が回転することによって回転する羽根車を備える、請求項1に記載のマンコンベヤ欄干装置。
【請求項3】
前記羽根車は、前記回転体と一体となって回転するように、前記回転体に固定される、請求項2に記載のマンコンベヤ欄干装置。
【請求項4】
前記回転体は、筒状に形成され、
前記羽根車は、前記回転体の内部に配置される、請求項3に記載のマンコンベヤ欄干装置。
【請求項5】
前記手摺ベルトを下方から支持する支持部を備え、
前記支持部は、前記手摺ベルトと対面する上部が開放される支持本体部と、
前記回転体の一部及び前記羽根車は、前記支持本体部の内部に収容され、
前記回転体の上部は、前記支持本体部の上部から上方へ突出する、請求項2~4の何れか1項に記載のマンコンベヤ欄干装置。
【請求項6】
前記支持本体部の内部に収容され、前記羽根車を内部に収容する収容部を備え、
前記収容部は、
空気を内部へ流入するための流入口と、
空気を外部へ流出するための流出口と、を備える、請求項5に記載のマンコンベヤ欄干装置。
【請求項7】
請求項1~4の何れか1項に記載のマンコンベヤ欄干装置を備える、マンコンベヤ。
発明の詳細な説明
【技術分野】
【0001】
本明細書は、マンコンベヤ欄干装置及びマンコンベヤに関する。
続きを表示(約 1,100 文字)
【背景技術】
【0002】
従来、例えば、マンコンベヤ欄干装置は、回転して走行する環状の手摺ベルトと、手摺ベルトへ向けて送風するために回転する羽根車とを備えている(例えば、特許文献1)。例えば、マンコンベヤ欄干装置は、羽根車(動作部)を動作させるモータと、機械室等に配置され、ケーブルを経由してモータに給電する制御盤とを備えている。ところで、制御盤からの給電ではなく、手摺ベルトの走行の駆動を用いて、動作部を動作させたい、という要望がある。
【先行技術文献】
【特許文献】
【0003】
特開2005-263345号公報
【発明の概要】
【発明が解決しようとする課題】
【0004】
そこで、課題は、手摺ベルトの走行の駆動を用いて、動作部を動作させることができるマンコンベヤ欄干装置及びマンコンベヤを提供することである。
【課題を解決するための手段】
【0005】
マンコンベヤ欄干装置は、
回転して走行する環状の手摺ベルトと、
前記手摺ベルトに接し、前記手摺ベルトが走行することによって回転する回転体と、
前記回転体が回転することによって動作する動作部と、を備える。
【0006】
マンコンベヤは、前記のマンコンベヤ欄干装置を備える。
【図面の簡単な説明】
【0007】
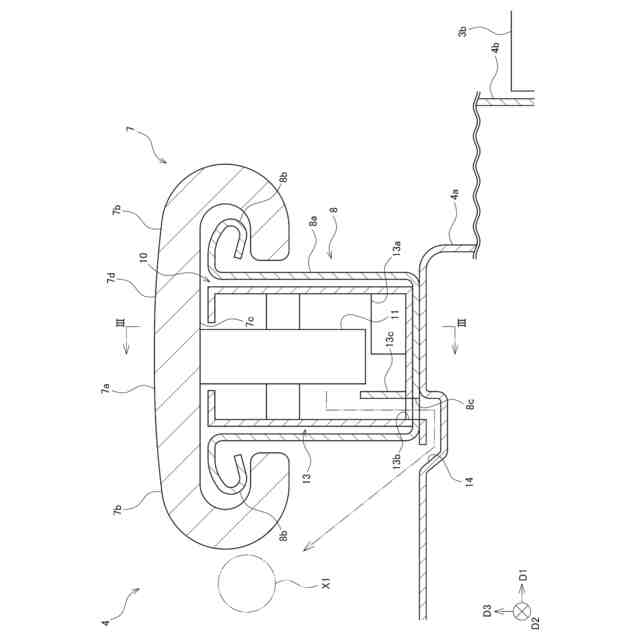
一実施形態に係るマンコンベヤの概要図
図1のII-II線の拡大断面図
図2のIII-III線の断面図
【発明を実施するための形態】
【0008】
各図面において、構成要素の寸法は、例えば、理解を容易にするために、実際の寸法に対して拡大、縮小して示す場合があり、また、各図面の間での寸法比は、一致していない場合がある。なお、各図面において、例えば、理解を容易にするために、構成要素の一部を省略して示す場合がある。
【0009】
第1、第2等の序数を含む用語は、多様な構成要素を説明するために用いられるが、この用語は、一つの構成要素を他の構成要素から区別する目的でのみ用いられ、構成要素は、この用語によって特に限定されるものではない。なお、序数を含む構成要素の個数は、特に限定されず、例えば、一つでもよい場合がある。また、以下の明細書及び図面で用いられる序数は、特許請求の範囲に記載された序数と異なる場合がある。
【0010】
以下、マンコンベヤにおける一実施形態について、図1~図3を参照しながら説明する。なお、以下の実施形態は、マンコンベヤの構成等の理解を助けるために例示するものであり、マンコンベヤの構成を限定するものではない。
(【0011】以降は省略されています)
この特許をJ-PlatPat(特許庁公式サイト)で参照する
関連特許
フジテック株式会社
エレベータ
12日前
フジテック株式会社
マンコンベヤ
2日前
フジテック株式会社
マンコンベヤ
12日前
フジテック株式会社
マンコンベヤ
12日前
フジテック株式会社
金属棒曲げ工具
3日前
フジテック株式会社
情報提供システム
3日前
フジテック株式会社
エレベータシステム
12日前
フジテック株式会社
行先階登録システム
9日前
フジテック株式会社
カスタマイズシステム
8日前
フジテック株式会社
マンコンベヤシステム
8日前
フジテック株式会社
情報処理システム、制御方法
12日前
フジテック株式会社
マンコンベヤ欄干装置及びマンコンベヤ
2日前
フジテック株式会社
エレベーターのかご照明装置の調整方法
3日前
フジテック株式会社
ロボット管理装置、ロボット、及びプログラム
1日前
フジテック株式会社
ロボット管理装置、ロボット、及びプログラム
15日前
フジテック株式会社
ロボット管理装置、ロボット、及びプログラム
1日前
フジテック株式会社
ロボット管理装置、ロボット、及びプログラム
15日前
フジテック株式会社
ロボット管理装置、ロボット、及びプログラム
4日前
フジテック株式会社
ロボット管理装置、ロボット、及びプログラム
2日前
フジテック株式会社
ロボット管理装置、ロボット、及びプログラム
3日前
フジテック株式会社
ロボット管理装置、ロボット、及びプログラム
4日前
フジテック株式会社
ロボット管理装置、ロボット、及びプログラム
4日前
フジテック株式会社
表示装置、表示制御方法、および、表示制御プログラム
8日前
フジテック株式会社
表示装置、表示制御方法、および、表示制御プログラム
8日前
フジテック株式会社
表示装置、表示制御方法、および、表示制御プログラム
2日前
フジテック株式会社
表示装置、表示制御方法、および、表示制御プログラム
8日前
フジテック株式会社
乗客コンベアのシャフトの異常検出装置及びエレベーター
4日前
フジテック株式会社
マンコンベヤ
12日前
フジテック株式会社
行先階登録システム
9日前
フジテック株式会社
エレベータ装置及びエレベータ装置の戸開走行保護装置健全性確認方法
2日前
フジテック株式会社
マンコンベヤシステム
8日前
フジテック株式会社
エレベータ施工方法、表示装置、表示制御方法、および、表示制御プログラム
8日前
フジテック株式会社
エレベータ施工方法、表示装置、表示制御方法、および、表示制御プログラム
8日前
個人
自走手摺
2か月前
ユニパルス株式会社
吊具
4か月前
個人
海上コンテナ昇降装置
10か月前
続きを見る
他の特許を見る