TOP
|
特許
|
意匠
|
商標
特許ウォッチ
Twitter
他の特許を見る
公開番号
2025151496
公報種別
公開特許公報(A)
公開日
2025-10-09
出願番号
2024052956
出願日
2024-03-28
発明の名称
堆積物の除去装置及び堆積物の除去方法
出願人
JFEスチール株式会社
代理人
個人
,
個人
,
個人
,
個人
主分類
C10B
43/04 20060101AFI20251002BHJP(石油,ガスまたはコークス工業;一酸化炭素を含有する工業ガス;燃料;潤滑剤;でい炭)
要約
【課題】燃焼室内の堆積物を破砕しながら堆積物を吸引し、除去できる堆積物の除去装置を提供する。
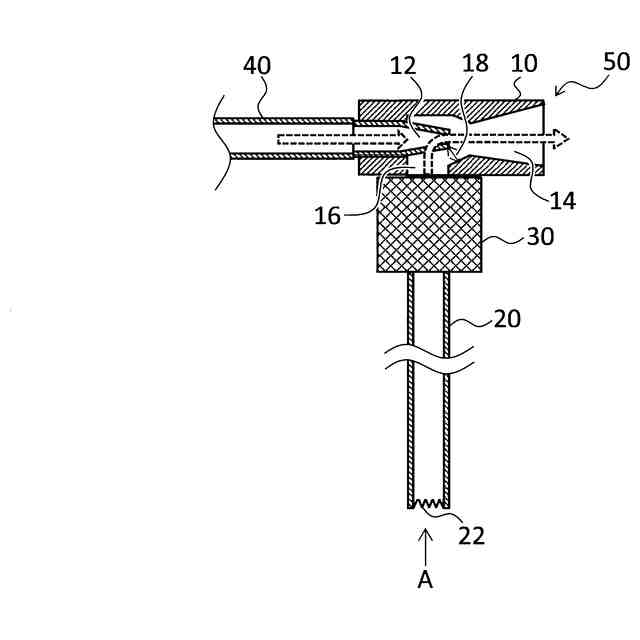
【解決手段】コークス炉の燃焼室に堆積した堆積物を除去する堆積物の除去装置であって、燃焼室の底部に至る長さを有するパイプと、気体を吹き込むことで吸引力が生じるエジェクターと、を有し、エジェクターは、気体を吹込む吹込み部と、気体が排気される排気部と、気体の吹込みにより吸引力が発生する吸引部と、を有し、パイプは、吸引部と一端側で接続し、他端側の端面には少なくも1つの先端が尖った凸部が形成されている。
【選択図】図1
特許請求の範囲
【請求項1】
コークス炉の燃焼室に堆積した堆積物を除去する堆積物の除去装置であって、
前記燃焼室の底部に至る長さを有するパイプと、
気体を吹き込むことで吸引力が生じるエジェクターと、
を有し、
前記エジェクターは、気体を吹込む吹込み部と、前記気体が排気される排気部と、前記気体の吹込みにより吸引力が発生する吸引部と、を有し、
前記パイプは、前記吸引部と一端側で接続し、他端側の端面には少なくも1つの先端が尖った凸部が形成されている、堆積物の除去装置。
続きを表示(約 440 文字)
【請求項2】
ダストコレクターをさらに有し、
前記ダストコレクターは、前記吹込み部と排気部との隙間よりも大きい堆積物を収集し、
前記パイプは、前記ダストコレクターを介して前記吸引部に接続する、請求項1に記載の堆積物の除去装置。
【請求項3】
前記エジェクターは、前記排気部を閉じる着脱可能な蓋部をさらに有する、請求項1又は請求項2に記載の堆積物の除去装置。
【請求項4】
コークス炉の燃焼室に堆積した堆積物を除去する堆積物の除去方法であって、
端面に少なくも1つの先端が尖った凸部が形成されたパイプで前記堆積物を破砕しつつ、前記パイプで堆積物を吸引して除去する、堆積物の除去方法。
【請求項5】
前記堆積物を吸引する吸引力は、エジェクターに気体を吹込むことで生じた吸引力であり、
前記エジェクターに吹込む気体を前記パイプに流して前記パイプを冷却する、請求項4に記載の堆積物の除去方法。
発明の詳細な説明
【技術分野】
【0001】
本発明は、コークス炉の燃焼室内に堆積した堆積物を除去する堆積物の除去装置及び堆積物の除去方法に関する。
続きを表示(約 2,200 文字)
【背景技術】
【0002】
高炉で使用されるコークスを製造する設備として、室炉式コークス炉(以下、室炉式コークス炉を「コークス炉」と記載する。)が用いられている。コークス炉は、炉幅方向に離間して並列する燃焼室とそれらの燃焼室に挟まれて設けられる炭化室から構成される。このコークス炉の炭化室の天井には、複数個(通常4~5個)の孔が一列に設けられた装炭孔が設けられている。コークスの原料となる石炭は、その装炭孔を通じて炭化室に装炭され、燃焼室でガスを燃焼して発生する熱を、耐火物を介して炭化室に供給することで石炭を乾留してコークスを製造している。
【0003】
このようなコークス炉において、炭化室と燃焼室との間に設けられている炉壁は、経年劣化等により一部の煉瓦が脱落し、燃焼室内に堆積する場合がある。また、当該煉瓦の脱落により生じた破損部に溶射材を吹き付けて補修する際に、粉状の溶射材が散乱し、燃焼室内に堆積する場合がある。このように、一部の煉瓦や溶射材が燃焼室内に堆積すると、燃焼室の温度が低下する。燃焼室の温度が低下すると、炭化室の温度も低下するので石炭の乾留温度が低下し、コークスの生産性が低下してしまう。このため、燃焼室の温度が大きく低下する前に、燃焼室内に堆積した堆積物を除去することが必要になる。
【0004】
特許文献1には、燃焼室の底部に至る長さの垂直管部を用いて、エジェクター管部に圧縮空気を供給することで生じた吸引力で燃焼室内の堆積物を除去する堆積物の除去装置が開示されている。特許文献1によれば、圧縮空気の供給先を垂直管部又はエジェクター管部に切り換えることで、垂直管部で堆積物を除去するとともに、高温になった垂直管部に圧縮空気を供給して、垂直管部を冷却できるとしている。
【0005】
特許文献2には、エア排出による吸引力を用いて、燃焼室の底部に堆積した異物を吸引して燃焼室外に排出する吸引管と、当該吸引管の内径より大きい異物を粉砕する粉砕具や、掘削する掘削具が開示されている。特許文献2によれば、粉砕具を用いる粉砕工程や掘削具を用いる掘削工程を行って燃焼室内の堆積物を粉砕、掘削した後に吸引管による吸引工程を行うことが好ましいとしている。
【先行技術文献】
【特許文献】
【0006】
特開2002-155283号公報
特開2014-55228号公報
【発明の概要】
【発明が解決しようとする課題】
【0007】
特許文献1に開示されている堆積物の除去装置では、垂直管の内径よりも大きい堆積物を除去できないという課題がある。一方、特許文献2に開示されている粉砕具や掘削具を用いて大きい堆積物を粉砕し、掘削することで当該堆積物を除去できるようになる。しかしながら、堆積物を除去する前に、長尺の粉砕具や掘削具をクレーンで吊り上げてコークス炉の屋上に搬送し、燃焼室内に挿入して粉砕等を実行した後に、当該粉砕具や掘削具を燃焼室から取り出すことが必要になり、作業効率が低いという課題があった。
【0008】
本発明は、このような従来技術の課題を鑑みてなされたものであり、燃焼室内の堆積物を破砕しながら堆積物を吸引し、除去できる堆積物の除去装置及び堆積物の除去方法を提供することを目的とする。
【課題を解決するための手段】
【0009】
上記課題を解決するための手段は、以下の通りである。
[1] コークス炉の燃焼室に堆積した堆積物を除去する堆積物の除去装置であって、前記燃焼室の底部に至る長さを有するパイプと、気体を吹き込むことで吸引力が生じるエジェクターと、を有し、前記エジェクターは、気体を吹込む吹込み部と、前記気体が排気される排気部と、前記気体の吹込みにより吸引力が発生する吸引部と、を有し、前記パイプは、前記吸引部と一端側で接続し、他端側の端面には少なくも1つの先端が尖った凸部が形成されている、堆積物の除去装置。
[2] ダストコレクターをさらに有し、前記ダストコレクターは、前記吹込み部と排気部との隙間よりも大きい堆積物を収集し、前記パイプは、前記ダストコレクターを介して前記吸引部に接続する、[1]に記載の堆積物の除去装置。
[3] 前記エジェクターは、前記排気部を閉じる着脱可能な蓋部をさらに有する、[1]又は[2]に記載の堆積物の除去装置。
[4] コークス炉の燃焼室に堆積した堆積物を除去する堆積物の除去方法であって、端面に少なくも1つの先端が尖った凸部が形成されたパイプで前記堆積物を破砕しつつ、前記パイプで堆積物を吸引して除去する、堆積物の除去方法。
[5] 前記堆積物を吸引する吸引力は、エジェクターに気体を吹込むことで生じた吸引力であり、前記エジェクターに吹込む気体を前記パイプに流して前記パイプを冷却する、[4]に記載の堆積物の除去方法。
【発明の効果】
【0010】
本発明に係る堆積物の除去装置及び堆積物の除去方法では、燃焼室に堆積した堆積物を破砕しながら、当該堆積物を吸引、除去できるので、高い作業効率で燃焼室内に堆積した堆積物を除去できるようになる。
【図面の簡単な説明】
(【0011】以降は省略されています)
この特許をJ-PlatPat(特許庁公式サイト)で参照する
関連特許
JFEスチール株式会社
貯蔵原料供給装置
3日前
JFEスチール株式会社
高炉の原料装入方法
2日前
JFEスチール株式会社
鋼板およびその製造方法
3日前
JFEスチール株式会社
連続鋳造機および鋳片の製造方法
3日前
JFEスチール株式会社
溶接部形状の予測方法及び予測モデル
2日前
JFEスチール株式会社
溶接部形状の予測方法及び予測モデル
2日前
株式会社IHIポールワース
炉頂装置
2日前
JFEスチール株式会社
ボルト用棒鋼
4日前
JFEスチール株式会社
フィルムロール、ラミネート金属帯、フィルムの製造方法、および、ラミネート金属帯の製造方法
3日前
JFEスチール株式会社
フィルムロール、ラミネート金属帯、フィルムの製造方法、および、ラミネート金属帯の製造方法
3日前
JFEスチール株式会社
製造条件決定方法、達成確率推定方法、達成確率推定モデル作成方法、製造条件決定装置及びプログラム
10日前
JFEスチール株式会社
自動車車体設計方法、自動車車体設計装置及び自動車車体設計プログラム、並びに、自動車車体の製造方法
3日前
JFEスチール株式会社
溶接接合部を有する自動車用構造部材の試験方法、溶接接合部を有する自動車用構造部材の評価方法、及び、溶接接合部を有する自動車用構造部材の試験に用いられる試験体
2日前
合同会社双晶
製炭方法
1か月前
個人
液体化石燃料の改質方法
16日前
日油株式会社
潤滑油組成物
2日前
株式会社クボタ
竪型の反応炉
10日前
三洋化成工業株式会社
導電剤及び潤滑剤組成物
1か月前
株式会社ニッペコ
潤滑組成物
24日前
株式会社ユシロ
金属加工用潤滑剤組成物
1か月前
ENEOS株式会社
グリース組成物
1か月前
三浦工業株式会社
ガス化装置
1か月前
株式会社神鋼環境ソリューション
搬送装置
1か月前
本田技研工業株式会社
液体燃料の製造方法
1か月前
日本製鉄株式会社
コークスの粉化量予測方法
1か月前
三菱重工業株式会社
炭化炉及びその制御方法
1か月前
出光興産株式会社
再生絶縁油の製造方法
1か月前
株式会社神鋼環境ソリューション
炭化物製造設備
1か月前
株式会社ダイゾー
グリース組成物
1か月前
コスモ石油ルブリカンツ株式会社
潤滑油組成物
1か月前
コスモ石油ルブリカンツ株式会社
潤滑油組成物
1か月前
三菱重工業株式会社
炉壁及びガス化炉並びに炉壁の製造方法
1か月前
コスモ石油ルブリカンツ株式会社
グリース組成物
1か月前
旭化成株式会社
炭素数6~8の炭化水素含有留分の製造方法
1か月前
本田技研工業株式会社
合成ガス製造方法、及び合成ガス製造システム
1か月前
コスモ石油ルブリカンツ株式会社
内燃機関用潤滑油組成物
1か月前
続きを見る
他の特許を見る