TOP
|
特許
|
意匠
|
商標
特許ウォッチ
Twitter
他の特許を見る
10個以上の画像は省略されています。
公開番号
2025143967
公報種別
公開特許公報(A)
公開日
2025-10-02
出願番号
2024043505
出願日
2024-03-19
発明の名称
コークス炉の補修方法
出願人
JFEスチール株式会社
代理人
個人
,
個人
,
個人
,
個人
主分類
C10B
29/06 20060101AFI20250925BHJP(石油,ガスまたはコークス工業;一酸化炭素を含有する工業ガス;燃料;潤滑剤;でい炭)
要約
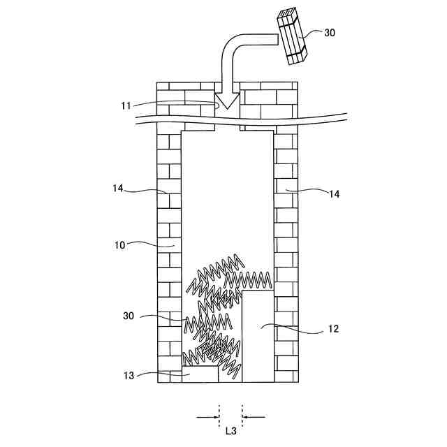
【課題】 早期にコークス炉の補修を行ことが可能なコークス炉の補修方法を提供する。
【解決手段】
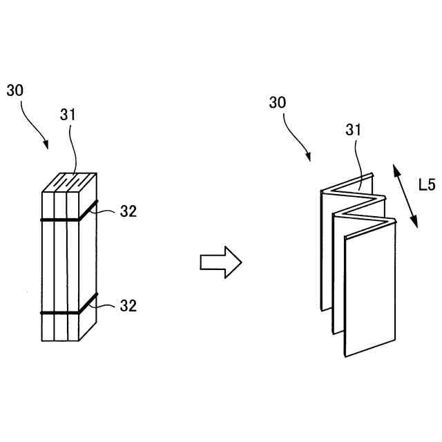
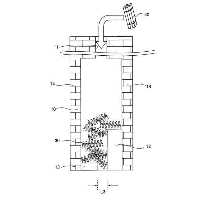
ガス孔が設けられている燃焼室を有するコークス炉の補修方法である。コークス炉の補修方法は、前記燃焼室の炉頂に設けられた投入口から耐火物を投入する投入工程と、前記燃焼室の壁部を解体する解体工程と、前記耐火物を回収しかつ、前記ガス孔を清掃する回収清掃工程と、前記燃焼室を補修する補修工程と、を有する。
【選択図】 図7
特許請求の範囲
【請求項1】
ガス孔が設けられている燃焼室を有するコークス炉の補修方法であって、
前記燃焼室の炉頂に設けられた投入口から耐火物を投入する投入工程と、
前記燃焼室の壁部を解体する解体工程と、
前記耐火物を回収しかつ、前記ガス孔を清掃する回収清掃工程と、
前記燃焼室を補修する補修工程と、を有するコークス炉の補修方法。
続きを表示(約 610 文字)
【請求項2】
前記投入工程においては、前記ガス孔が遮蔽されるまで前記耐火物の投入が行われる、請求項1に記載のコークス炉の補修方法。
【請求項3】
前記耐火物は、固定部によって、ブランケット状から圧縮された状態が固定され、
前記投入工程において、前記燃焼室の温度が前記固定部の耐熱温度よりも高い温度で前記耐火物が投入される、請求項1に記載のコークス炉の補修方法。
【請求項4】
前記耐火物は、固定部によって、ブランケット状から圧縮された状態が固定され、
前記投入工程において、前記燃焼室の温度が前記固定部の耐熱温度よりも高い温度で前記耐火物が投入される、請求項2に記載のコークス炉の補修方法。
【請求項5】
前記耐火物の前記固定部の耐熱温度は300℃以下であり、
前記投入工程において、前記燃焼室の温度が300~900℃で前記耐火物が投入される、請求項3に記載のコークス炉の補修方法。
【請求項6】
前記耐火物の前記固定部の耐熱温度は300℃以下であり、
前記投入工程において、前記燃焼室の温度が300~900℃で前記耐火物が投入される、請求項4に記載のコークス炉の補修方法。
【請求項7】
前記耐火物は、ロール状又は、蛇腹状に圧縮される、請求項3~6のいずれかに記載のコークス炉の補修方法。
発明の詳細な説明
【技術分野】
【0001】
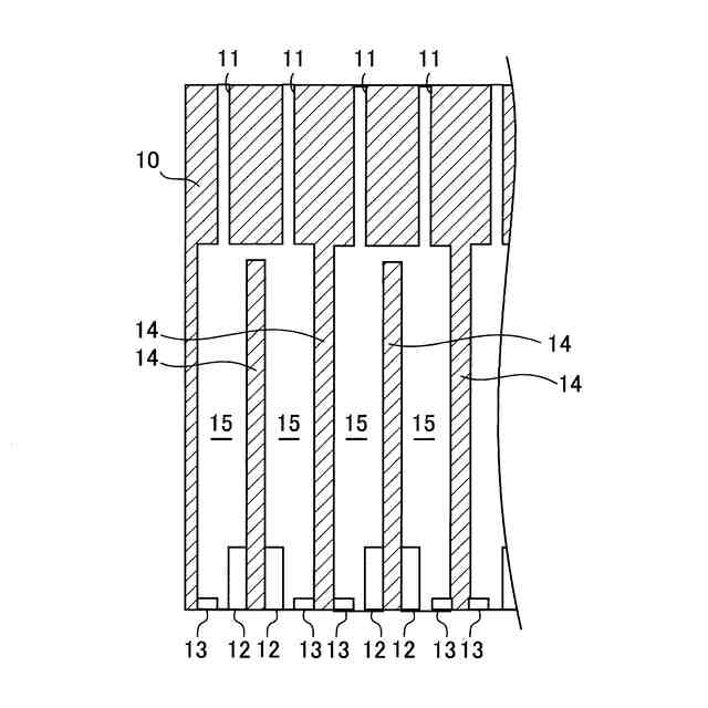
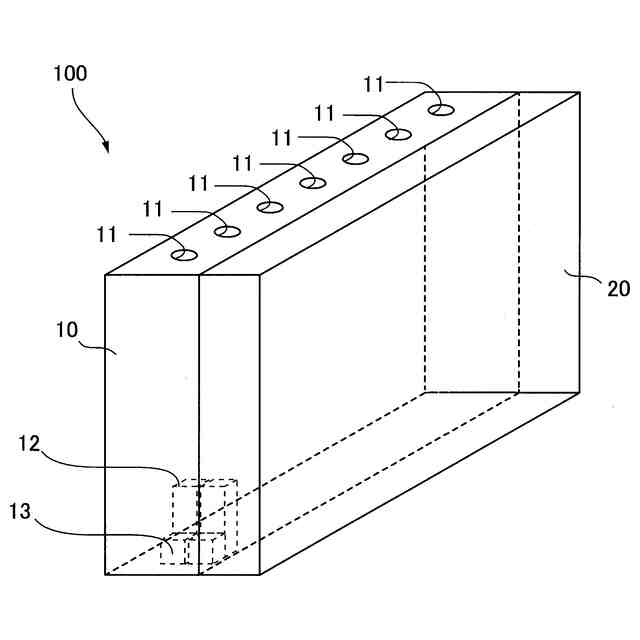
本発明は、ガス孔が設けられている燃焼室を有するコークス炉の補修方法に関する。
続きを表示(約 1,000 文字)
【背景技術】
【0002】
コークス炉は、炭化室と燃焼室とが炉幅方向に交互に配置された上部構造と、燃焼室に燃焼空気と燃料ガスを供給する蓄熱室が配置された下部構造とから構成されている。炭化室内に装入された石炭は、燃焼室内で発生する熱を、コークス炉の壁部の煉瓦を介して受けて乾留されてコークス化する。
【0003】
コークスが生成されると、炭化室の一方の側面に設置された炉蓋を開放し、炭化室の他方の側面に設けられた押出機を用いて、開放された一方の側面側へ押出してコークスが排出される。
【0004】
20~30年を越える期間、コークス炉では乾留及び、排出が繰り返し実施される。コークス炉の炭化室の壁部及び、燃焼室の壁部の煉瓦は、このような長期間の使用により損耗する。
【0005】
また炭化室は、コークスが排出されるたびに、炭化室の一方の側面の炉蓋が開放され、激しい温度変化に曝される。このため、炭化室の炉蓋が設けられている側の壁部の煉瓦は特に激しく損耗する。以上のように、コークス炉の壁部は長期間の使用や、温度変化によって損耗するため、煉瓦を積替える補修が行なわれる。
【0006】
このようなコークス炉を補修する技術として、燃焼室の煉瓦を解体した後、炉外で形成された耐火物集合体を用いて煉瓦を補修することが特許文献1に開示されている。
【先行技術文献】
【特許文献】
【0007】
特許第3397723号公報
【発明の概要】
【発明が解決しようとする課題】
【0008】
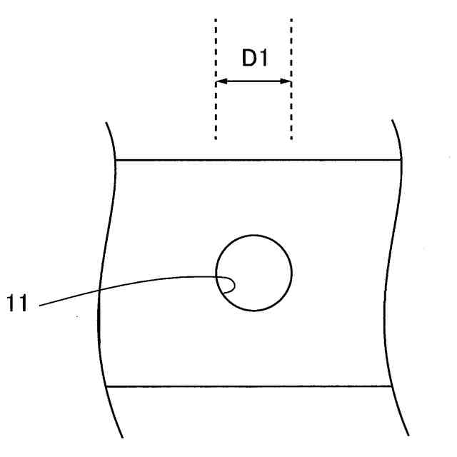
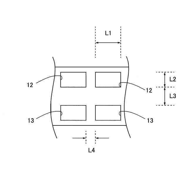
上記のような補修を要する燃焼室が年々増えており、補修工期の短縮が求められている。燃焼室の壁部を補修するにあたっては、当該燃焼室に設けれているガス孔を閉栓する必要がある。
【0009】
従来では、施工者が炭化室から炉壁を壊して燃焼室に入り、断熱材及び、鉄板をガス孔に置くことによって閉栓を行っている。しかしながら、従来の方法では炉壁を壊す作業に時間を要している。また、壊した炉壁の破片等がガス孔に入り込むため、ガス孔の清掃時間に時間を要している。
【0010】
本発明は上記事情に鑑みてなされたものであり、早期にコークス炉の補修を行ことが可能なコークス炉の補修方法を提供することを目的とする。
【課題を解決するための手段】
(【0011】以降は省略されています)
この特許をJ-PlatPat(特許庁公式サイト)で参照する
関連特許
JFEスチール株式会社
遅れ破壊試験方法
12日前
JFEスチール株式会社
残留投射材の除去装置
1日前
JFEスチール株式会社
プレス成形品の製造方法
8日前
JFEスチール株式会社
鋼板およびその製造方法
1日前
JFEスチール株式会社
情報処理装置、および情報処理方法
7日前
JFEスチール株式会社
集塵機及び、ろ布の損傷状態認定方法
1日前
JFEスチール株式会社
構造物の損傷検出装置及び損傷検出方法
5日前
JFEスチール株式会社
エアテーブル型密度分離装置及び分離方法
5日前
JFEスチール株式会社
表面粗度測定装置および表面粗度測定方法
6日前
JFEスチール株式会社
金属帯の加工設備、および、金属帯の加工方法
5日前
JFEスチール株式会社
粒度判定装置、粒度判定方法及び造粒物の製造方法
6日前
JFEスチール株式会社
き裂解析方法、プログラム、材料設計支援方法及び材料設計方法
2日前
JFEスチール株式会社
圧延素材決定装置、圧延素材決定方法および板材製品の製造方法
8日前
JFEスチール株式会社
黒鉛の精製方法
12日前
JFEスチール株式会社
原子モデル生成方法、プログラム、材料設計支援方法及び材料設計方法
2日前
JFEスチール株式会社
打撃試験装置、打撃試験方法、異常検知装置、および耐火物の厚み計測方法
今日
JFEスチール株式会社
打撃試験装置、打撃試験方法、異常検知装置、および耐火物の厚み計測方法
今日
JFEスチール株式会社
ガス吸着塔の状態の判定方法、ガス吸着塔のメンテナンス方法、およびガス吸着塔設備
今日
JFEスチール株式会社
情報検索方法および情報検索システム
12日前
株式会社NICHIJO
パレット検出装置、パレット検出方法及びパレット検出プログラム
2日前
JFEスチール株式会社
穿孔荷重予測方法、穿孔圧延機の制御方法、穿孔荷重予測モデルの生成方法、及び管製造設備
7日前
合同会社双晶
製炭方法
12日前
株式会社ユシロ
潤滑剤組成物
20日前
東ソー株式会社
芳香族化合物の製造方法
1か月前
三洋化成工業株式会社
導電剤及び潤滑剤組成物
今日
株式会社Move up
凹凸形状の固形着火剤
1か月前
NTN株式会社
転がり軸受
28日前
個人
炭化油化装置
1か月前
有限会社ジャパンガスセパレーション
メタンガス発生装置
1か月前
株式会社ユシロ
金属加工用潤滑剤組成物
19日前
出光興産株式会社
潤滑油組成物
20日前
一般財団法人電力中央研究所
ガス精製システム
1か月前
本田技研工業株式会社
液体燃料の製造方法
20日前
本田技研工業株式会社
液体燃料の製造方法
19日前
株式会社神鋼環境ソリューション
搬送装置
19日前
三浦工業株式会社
ガス化装置
15日前
続きを見る
他の特許を見る