TOP
|
特許
|
意匠
|
商標
特許ウォッチ
Twitter
他の特許を見る
10個以上の画像は省略されています。
公開番号
2025175926
公報種別
公開特許公報(A)
公開日
2025-12-03
出願番号
2024185839
出願日
2024-10-22
発明の名称
感光性樹脂組成物、感光性樹脂膜、ディスプレイ装置、および感光性樹脂膜の製造方法
出願人
三星エスディアイ株式会社
,
SAMSUNG SDI Co., LTD.
代理人
弁理士法人高橋・林アンドパートナーズ
主分類
G03F
7/027 20060101AFI20251126BHJP(写真;映画;光波以外の波を使用する類似技術;電子写真;ホログラフイ)
要約
【課題】低温でも十分に硬化され、透明で、屈折率が高い感光性樹脂組成物を提供する。
【解決手段】感光性樹脂組成物は、(A)バインダー樹脂、(B)下記化学式1で表される光重合性単量体、(C)光重合開始剤、および(D)溶媒、を含む感光性樹脂組成物。[化学式1]
<com:Image com:imageContentCategory="Drawing"> <com:ImageFormatCategory>JPEG</com:ImageFormatCategory> <com:FileName>2025175926000043.jpg</com:FileName> <com:HeightMeasure com:measureUnitCode="Mm">92</com:HeightMeasure> <com:WidthMeasure com:measureUnitCode="Mm">146</com:WidthMeasure> </com:Image>
【選択図】図1
特許請求の範囲
【請求項1】
(A)バインダー樹脂、
(B)光重合性単量体、
(C)光重合開始剤、および
(D)溶媒、を含み、
前記光重合性単量体は、下記化学式1で表される感光性樹脂組成物。
[化学式1]
JPEG
2025175926000037.jpg
92
146
(前記化学式1中、
R
1
~R
3
は、それぞれ独立して、水素原子または置換もしくは非置換のC1~C20アルキル基であり、
L
1
~L
4
は、それぞれ独立して、置換または非置換のC6~C20アリーレン基であり、
L
5
は、単一結合または置換もしくは非置換のC6~C20アリーレン基であり、
L
6
は、置換もしくは非置換のC1~C20アルキレン基または置換もしくは非置換のC6~C20アリーレン基であり、
Xは、単一結合、*-S-*または*-NR’-*(R’は、水素原子またはC1~C10アルキル基である)である。)
続きを表示(約 1,100 文字)
【請求項2】
前記L
1
~L
4
は全て同一である、請求項1に記載の感光性樹脂組成物。
【請求項3】
前記R
1
~R
3
は全て同一である、請求項1に記載の感光性樹脂組成物。
【請求項4】
前記L
5
は置換または非置換のC6~C20アリーレン基であり、
前記Xは単一結合または*-S-*である、請求項1に記載の感光性樹脂組成物。
【請求項5】
前記L
5
は単一結合であり、
前記Xは*-S-*または*-NR’-*(R’は、水素原子またはC1~C10アルキル基である)である、請求項1に記載の感光性樹脂組成物。
【請求項6】
前記L
5
は単一結合であり、
前記Xは単一結合である、請求項1に記載の感光性樹脂組成物。
【請求項7】
前記光重合性単量体は、下記化学式1-1~化学式1-5のうちのいずれか一つで表される、請求項1に記載の感光性樹脂組成物。
[化学式1-1]
JPEG
2025175926000038.jpg
39
66
[化学式1-2]
JPEG
2025175926000039.jpg
39
57
[化学式1-3]
JPEG
2025175926000040.jpg
39
57
[化学式1-4]
JPEG
2025175926000041.jpg
39
55
[化学式1-5]
JPEG
2025175926000042.jpg
39
57
【請求項8】
前記感光性樹脂組成物は、前記感光性樹脂組成物総量に対して
前記(A)バインダー樹脂10重量%~30重量%、
前記(B)光重合性単量体3重量%~15重量%、
前記(C)光重合開始剤0.1重量%~5重量%、および
前記(D)溶媒残部量、を含む、請求項1に記載の感光性樹脂組成物。
【請求項9】
前記感光性樹脂組成物は、マロン酸、3-アミノ-1,2-プロパンジオール、シラン系カップリング剤、レベリング剤、界面活性剤、重合禁止剤、またはこれらの組み合わせの添加剤をさらに含む、請求項1に記載の感光性樹脂組成物。
【請求項10】
前記感光性樹脂組成物は、550nmでの屈折率が1.66以上である、請求項1に記載の感光性樹脂組成物。
(【請求項11】以降は省略されています)
発明の詳細な説明
【技術分野】
【0001】
本開示は、感光性樹脂組成物、感光性樹脂膜、ディスプレイ装置、および感光性樹脂膜の製造方法に関する。
続きを表示(約 1,200 文字)
【背景技術】
【0002】
近年、VR(Virtual Reality)、AR(Augmented Reality)、およびMR(Mixed Reality)機器に適用されるディスプレイパネルとして、自ら光を発する自発光型(Emissive)マイクロOLEDディスプレイパネルに対する関心が高まっている。
【0003】
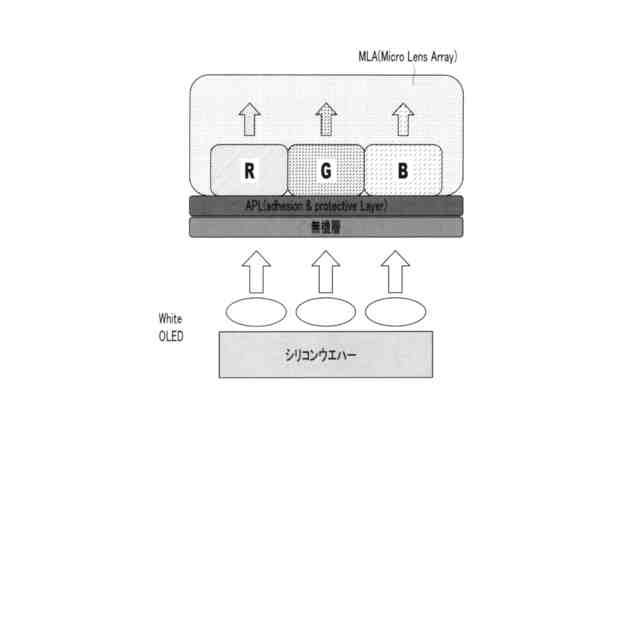
一般的なOLEDディスプレイパネルに比べてピクセルサイズが10倍程度小さいマイクロOLEDディスプレイパネルの場合、従来のFMM(Fine Metal Mask)技術では赤(R)/緑(G)/青(B)発光層を精度よく形成することが難しい。つまり、VR、ARなどの機器に従来の液晶ディスプレイを適用するにはカラーフィルターのパターンサイズが大きいため、解像度を高めるには無理がある。
【0004】
そこで、近年、4000ppi以上の高い解像度を実現するために、OLEDoS(OLED on Silicon)技術が導入されている。当該技術は、シリコンウエハー(silicon wafer)の上に蒸着されたOLEDをバックライト(back light)にして、その上にカラーフィルターをパターニングする。従来の液晶ディスプレイに利用していたカラーフィルターは、ガラス(glass)に100μm程度のパターンが形成され、露光と230℃以上の高温でポストベーク(post bake)工程を経て硬化されるのに対して、OLEDoSの上に形成されるカラーフィルターは、OLEDのために高温工程を経ることができず、低温硬化が可能でなければならない。また、OLEDの特性上、発生した光が外部に出るときに効率が低いという問題がある。そこで、低温硬化可能な透明素材であって、屈折率が高い素材に対する研究が続けられている。
【先行技術文献】
【特許文献】
【0005】
特許第4592225号公報
【発明の概要】
【発明が解決しようとする課題】
【0006】
一実施形態の目的は、低温でも十分に硬化され、透明で、屈折率が高い感光性樹脂組成物を提供する。
【0007】
他の一実施形態の目的は、上記感光性樹脂組成物を利用して製造された感光性樹脂膜を提供する。
【0008】
また、他の一実施形態の目的は、上記感光性樹脂膜を含むディスプレイ装置を提供する。
【0009】
さらに、他の一実施形態の目的は、上記感光性樹脂膜製造方法を提供する。
【課題を解決するための手段】
【0010】
一実施形態は、(A)バインダー樹脂、(B)光重合性単量体、(C)光重合開始剤、および(D)溶媒、を含み、光重合性単量体は、下記化学式1で表される感光性樹脂組成物を提供する。
(【0011】以降は省略されています)
この特許をJ-PlatPat(特許庁公式サイト)で参照する
関連特許
個人
表示装置
1か月前
個人
雨用レンズカバー
1か月前
株式会社シグマ
絞りユニット
2か月前
日本精機株式会社
プロジェクタ
1日前
キヤノン株式会社
撮像装置
1か月前
キヤノン株式会社
撮像装置
8日前
日本精機株式会社
車両用投射装置
1か月前
キヤノン株式会社
撮像装置
1か月前
キヤノン株式会社
撮像装置
2か月前
キヤノン株式会社
撮像装置
1か月前
キヤノン株式会社
撮像装置
2か月前
株式会社リコー
画像形成装置
1か月前
株式会社リコー
画像形成装置
1か月前
株式会社リコー
画像形成装置
1か月前
株式会社リコー
画像形成装置
22日前
株式会社リコー
画像形成装置
1か月前
株式会社リコー
画像形成装置
2か月前
キヤノン株式会社
画像形成装置
1か月前
キヤノン株式会社
トナー
1か月前
キヤノン株式会社
トナー
1か月前
キヤノン株式会社
トナー
2か月前
キヤノン株式会社
画像形成装置
16日前
株式会社オプトル
プロジェクタ
2か月前
キヤノン株式会社
画像形成装置
1か月前
スタンレー電気株式会社
照明装置
2か月前
沖電気工業株式会社
画像形成装置
1か月前
キヤノン株式会社
レンズキャップ
1か月前
アイホン株式会社
カメラシステム
1か月前
レーザーテック株式会社
光源装置
3日前
キヤノン株式会社
現像装置
1か月前
沖電気工業株式会社
画像形成装置
3日前
沖電気工業株式会社
画像形成装置
1か月前
レーザーテック株式会社
光源装置
24日前
株式会社リコー
画像形成装置
2か月前
ブラザー工業株式会社
画像形成装置
1か月前
株式会社電気印刷研究所
静電印刷用積層体
2か月前
続きを見る
他の特許を見る