TOP
|
特許
|
意匠
|
商標
特許ウォッチ
Twitter
他の特許を見る
10個以上の画像は省略されています。
公開番号
2025151161
公報種別
公開特許公報(A)
公開日
2025-10-09
出願番号
2024052440
出願日
2024-03-27
発明の名称
釣竿
出願人
グローブライド株式会社
代理人
弁理士法人磯野国際特許商標事務所
主分類
A01K
87/08 20060101AFI20251002BHJP(農業;林業;畜産;狩猟;捕獲;漁業)
要約
【課題】感度及び設計の自由度が高いオフセットリールシートを備えた釣竿を提供する。
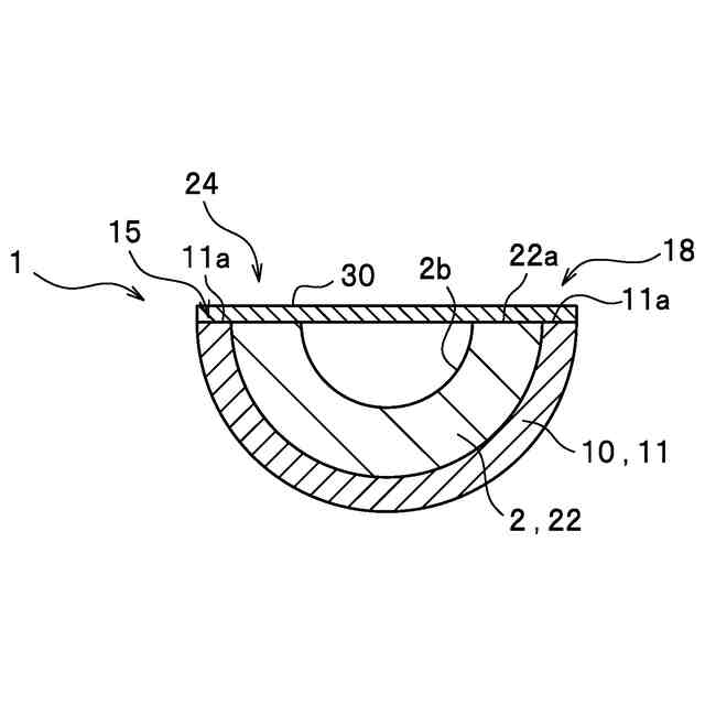
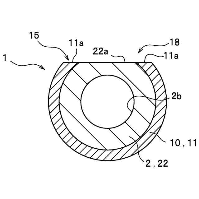
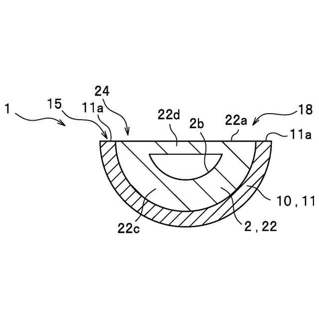
【解決手段】リールシート本体10、リールシート本体10に設けられリールRのリール脚部R1の一端が挿入される固定フード13及びリールシート本体10に遊動可能に設けられリール脚部R1の他端が挿入される遊動フード7を備えるリールシート3と、リールシート3の内側に前側から後側に亘って挿入される竿体2と、を有し、リールシート本体10の上部及び竿体2の上部が抉られるとともにリール脚部R1が載置される抉り部18を備え、抉り部18の高さ位置は竿体2の軸心Cに近接する方向にオフセットされていることを特徴とする。
【選択図】図1
特許請求の範囲
【請求項1】
リールシート本体、前記リールシート本体に設けられリールのリール脚部の一端が挿入される固定フード及び前記リールシート本体に遊動可能に設けられ前記リール脚部の他端が挿入される遊動フードを備えるリールシートと、
前記リールシートの内側に前側から後側に亘って挿入される竿体と、を有し、
前記リールシート本体の上部及び前記竿体の上部が抉られるとともに前記リール脚部が載置される抉り部を備え、
前記抉り部の高さ位置は前記竿体の軸心に近接する方向にオフセットされていることを特徴とする釣竿。
続きを表示(約 440 文字)
【請求項2】
前記リールシート本体の上部及び前記竿体の上部にそれぞれ長孔部を設けることで前記抉り部が形成されていることを特徴とする請求項1に記載の釣竿。
【請求項3】
前記リールシート本体の上部に長孔部を設けるとともに、前記竿体の上部に端面を設けることで前記抉り部が形成されていることを特徴とする請求項1に記載の釣竿。
【請求項4】
前記竿体の内部において、前記抉り部に対応する位置に補強部材が挿入されていることを特徴とする請求項1に記載の釣竿。
【請求項5】
前記竿体の外部において、前記抉り部に対応する位置に補強部材が外嵌されていることを特徴とする請求項1に記載の釣竿。
【請求項6】
前記補強部材は、前記抉り部よりも長く形成されていることを特徴とする請求項4又は請求項5に記載の釣竿。
【請求項7】
前記長孔部を覆う蓋部が設けられていることを特徴とする請求項2又は請求項3に記載の釣竿。
発明の詳細な説明
【技術分野】
【0001】
本発明は、釣竿に関する。
続きを表示(約 1,100 文字)
【背景技術】
【0002】
例えば、リールシートのリール脚載置部の位置が、竿体の軸心に近接する方向にオフセットされたリールシート(オフセットリールシートとも称される)が知られている。
【0003】
特許文献1の釣竿は、オフセットリールシートの前側に竿体の前部が接続され、後側に竿体の後部が接続されている。つまり、オフセットリールシートの前後で竿体が分断されている。また、特許文献2の釣竿は、竿体の内部にオフセットリールシートを設けるというものである。
【先行技術文献】
【特許文献】
【0004】
特開2022-55420号公報
特開2001-136871号公報
【発明の概要】
【発明が解決しようとする課題】
【0005】
特許文献1の釣竿は、オフセットリールシートの前後で竿体が分断されているため、振動が直に手に伝わり難く、感度が低下するという問題がある。
【0006】
特許文献2の釣竿は、オフセットリールシートを竿体の内部に設けているため、把持部の外径が大きくなる。これにより、釣竿が太くなり設計の自由度が低いという問題がある。
【0007】
本発明は、上記課題を解決するためになされたものであり、感度及び設計の自由度が高いオフセットリールシートを備えた釣竿を提供する。
【課題を解決するための手段】
【0008】
本発明は、リールシート本体、前記リールシート本体に設けられリールのリール脚部の一端が挿入される固定フード及び前記リールシート本体に遊動可能に設けられ前記リール脚部の他端が挿入される遊動フードを備えるリールシートと、前記リールシートの内側に前側から後側に亘って挿入される竿体と、を有し、前記リールシート本体の上部及び前記竿体の上部が抉られるとともに前記リール脚部が載置される抉り部を備え、前記抉り部の高さ位置は前記竿体の軸心に近接する方向にオフセットされていることを特徴とする。
【0009】
本発明によれば、リールシートの前後に亘って竿体が挿入されているため、手に振動が伝わりやすくなり、感度を高めることができる。また、リールシートの内側に竿体が挿入されるため、釣竿が太くなることなく、設計の自由度を高めることができる。
【0010】
また、前記リールシート本体の上部及び前記竿体の上部にそれぞれ長孔部を設けることで前記抉り部を形成することが好ましい。
また、前記リールシート本体の上部に長孔部を設けるとともに、前記竿体の上部に端面を設けることで前記抉り部を形成することが好ましい。
(【0011】以降は省略されています)
この特許をJ-PlatPat(特許庁公式サイト)で参照する
関連特許
個人
虫捕り器
17日前
個人
刈込鋏保持具
13日前
個人
飼育容器
27日前
個人
後付巻降ろし器
17日前
個人
イカ釣り用ヤエン
17日前
株式会社丹勝
緑化工法
14日前
井関農機株式会社
作業車両
15日前
株式会社シマノ
釣竿
17日前
井関農機株式会社
作業車両
7日前
井関農機株式会社
作業車両
17日前
井関農機株式会社
作業車両
17日前
井関農機株式会社
作業車両
7日前
個人
水耕栽培システム
27日前
個人
四足動物用装着具
今日
大栄工業株式会社
捕獲器
7日前
井関農機株式会社
作業車両
13日前
井関農機株式会社
作業車両
今日
井関農機株式会社
作業車両
27日前
個人
伸縮する草刈り機の可動装置。
17日前
個人
妻面トラス梁付き園芸用ハウス
29日前
松山株式会社
農作業機
27日前
松山株式会社
農作業機
13日前
トヨタ自動車株式会社
育苗装置
14日前
みのる産業株式会社
茎葉処理装置
1日前
スガノ農機株式会社
圃場作業装置
14日前
個人
飼育水槽用の浄化装置
21日前
グローブライド株式会社
釣竿
8日前
株式会社小川農具製作所
穴明け装置
8日前
井関農機株式会社
コンバイン
14日前
グローブライド株式会社
釣竿
7日前
株式会社デンソー
農業用装置
9日前
株式会社サンメイト
動物用排尿処理材
27日前
株式会社クボタ
移植機
今日
グローブライド株式会社
魚釣用リール
6日前
グローブライド株式会社
釣用のルアー
9日前
高知県種苗緑化協同組合
幼齢木保護具
27日前
続きを見る
他の特許を見る