TOP
|
特許
|
意匠
|
商標
特許ウォッチ
Twitter
他の特許を見る
10個以上の画像は省略されています。
公開番号
2025150878
公報種別
公開特許公報(A)
公開日
2025-10-09
出願番号
2024052024
出願日
2024-03-27
発明の名称
在庫管理プログラム、在庫管理装置および在庫管理方法
出願人
株式会社デンソー
代理人
弁理士法人ゆうあい特許事務所
主分類
G06Q
10/087 20230101AFI20251002BHJP(計算;計数)
要約
【課題】置き場の商品の中から対象となる商品を探す時間の増大を抑制する在庫管理プログラム、在庫管理装置および在庫管理方法を提供する。
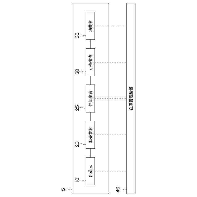
【解決手段】在庫管理プログラムの実行および在庫管理方法を行う在庫管理装置40は、引き取り業者に相当する卸売業者20によって作成されるとともに商品に付される書面に付与された置き場コードが卸売業者20によって読み取られることにより、置き場コードに関連する商品に関する情報を出力する。または、在庫管理装置40は、引き渡し業者に相当する出荷元10によって作成されるとともに商品に付される書面に付与されたコードであって、卸売業者20によって入力される商品の置き場に関する情報に関連するコードである出荷コードが、卸売業者20および引き渡し先に相当する仲卸業者25のいずれかによって読み取られることにより、出荷コードに関連する商品に関する情報を出力する。
【選択図】図1
特許請求の範囲
【請求項1】
在庫管理プログラムであって、
在庫管理装置を、
商品を引き渡す業者である引き渡し業者(10、20)から前記商品を引き取る業者である引き取り業者(20、25)によって入力される前記商品の置き場に関する情報から、前記商品の置き場に関するコードである置き場コードを生成する置き場コード生成部、
前記置き場コードを出力する置き場コード出力部、
前記引き取り業者によって作成されるとともに前記商品に付される書面に付与された前記置き場コードが前記引き取り業者によって読み取られることにより、前記置き場コードに関連する前記商品に関する情報を出力する商品情報出力部、
として機能させる在庫管理プログラム。
続きを表示(約 2,600 文字)
【請求項2】
前記置き場コード生成部は、前記引き渡し業者によって入力される前記商品に関する情報と、前記引き取り業者によって入力される前記商品の置き場に関する情報とから、前記置き場コードを生成し、
前記引き渡し業者によって入力される前記商品に関する情報に関連するコードを出荷コードとすると、
前記置き場コード出力部は、前記引き渡し業者によって作成される書面に付与された前記出荷コードが前記引き取り業者によって読み取られることにより、前記置き場コードを出力する請求項1に記載の在庫管理プログラム。
【請求項3】
前記商品情報出力部は、前記引き取り業者によって作成されるとともに前記商品に付される書面に付与された前記置き場コードが前記引き取り業者によって読み取られることにより、前記引き取り業者によって前記商品に付されるラベルに含まれる前記商品、前記引き取り業者、および、前記引き取り業者から前記商品を引き取る業者である引き渡し先(25、30)に関する情報を出力する請求項1または2に記載の在庫管理プログラム。
【請求項4】
前記在庫管理プログラムは、前記引き渡し先による前記商品の引き取りが完了したか否かである引き取り状態を更新する更新部として、前記在庫管理装置を機能させ、
前記更新部は、前記ラベルに付与されたコードが前記引き渡し先によって読み取られることにより、前記引き取り状態を更新し、更新した前記引き取り状態を前記引き取り業者および前記引き渡し先に共有させる請求項3に記載の在庫管理プログラム。
【請求項5】
前記在庫管理プログラムは、前記引き渡し先による前記商品の引き取りが完了したか否かである引き取り状態を更新する更新部として、前記在庫管理装置を機能させ、
前記更新部は、前記ラベルに付与されたコードが前記引き取り業者によって読み取られることにより、前記引き取り状態を更新し、更新した前記引き取り状態を前記引き取り業者および前記引き渡し先に共有させる請求項3に記載の在庫管理プログラム。
【請求項6】
前記在庫管理プログラムは、前記引き取り業者から前記商品を引き取る業者である引き渡し先(25、30)による前記商品の引き取りが完了したか否かである引き取り状態を更新する更新部として、前記在庫管理装置を機能させ、
前記更新部は、前記引き取り業者によって作成されるとともに前記商品に付される書面に付与された前記置き場コードが前記引き渡し先によって読み取られることにより、前記引き取り状態を更新し、更新した前記引き取り状態を前記引き取り業者および前記引き渡し先に共有させる請求項1または2に記載の在庫管理プログラム。
【請求項7】
前記在庫管理プログラムは、前記引き取り業者から前記商品を引き取る業者である引き渡し先(25、30)による前記商品の引き取りが完了したか否かである引き取り状態を更新する更新部として、前記在庫管理装置を機能させ、
前記更新部は、前記引き取り業者によって作成されるとともに前記商品に付される書面に付与された前記置き場コードが前記引き取り業者によって読み取られることにより、前記引き取り状態を更新し、更新した前記引き取り状態を前記引き取り業者および前記引き渡し先に共有させる請求項1または2に記載の在庫管理プログラム。
【請求項8】
前記引き渡し業者は、第1引き渡し業者であって、
前記商品は、第1商品であって、
前記第1引き渡し業者とは異なる業者であって、第2商品を前記引き取り業者に引き渡す業者を第2引き渡し業者とすると、
前記在庫管理プログラムは、前記第1引き渡し業者、前記第1商品、前記第2引き渡し業者および前記第2商品に関する情報を表示させる表示部として、前記在庫管理装置を機能させ、
前記表示部による表示が前記第1引き渡し業者によって行われるとき、前記第2引き渡し業者および前記第2商品に関する情報が表示されないで、前記第1引き渡し業者および前記第1商品に関する情報が表示され、
前記表示部による表示が前記第2引き渡し業者によって行われるとき、前記第1引き渡し業者および前記第1商品に関する情報が表示されないで、前記第2引き渡し業者および前記第2商品に関する情報が表示される請求項1または2に記載の在庫管理プログラム。
【請求項9】
前記引き取り業者は、第1引き取り業者であって、
前記第1引き取り業者とは異なる業者であって、前記引き渡し業者から前記商品を引き取る業者を第2引き取り業者とすると、
前記在庫管理プログラムは、前記第1引き取り業者および前記第2引き取り業者に関する情報を表示させる表示部として、前記在庫管理装置を機能させ、
前記表示部による表示が前記第1引き取り業者によって行われるとき、前記第2引き取り業者に関する情報が表示されないで、前記第1引き取り業者に関する情報が表示され、
前記表示部による表示が前記第2引き取り業者によって行われるとき、前記第1引き取り業者に関する情報が表示されないで、前記第2引き取り業者に関する情報が表示される請求項1または2に記載の在庫管理プログラム。
【請求項10】
前記引き取り業者から前記商品を引き取る業者を第1引き渡し先とし、
前記第1引き渡し先とは異なる業者であって、前記引き取り業者から前記商品を引き取る業者を第2引き渡し先とすると、
前記在庫管理プログラムは、前記第1引き渡し先および前記第2引き渡し先に関する情報を表示させる表示部として、前記在庫管理装置を機能させ、
前記表示部による表示が前記第1引き渡し先によって行われるとき、前記第2引き渡し先に関する情報が表示されないで、前記第1引き渡し先に関する情報が表示され、
前記表示部による表示が前記第2引き渡し先によって行われるとき、前記第1引き渡し先に関する情報が表示されないで、前記第2引き渡し先に関する情報が表示される請求項1または2に記載の在庫管理プログラム。
(【請求項11】以降は省略されています)
発明の詳細な説明
【技術分野】
【0001】
本開示は、在庫管理プログラム、在庫管理装置および在庫管理方法に関するものである。
続きを表示(約 2,000 文字)
【背景技術】
【0002】
従来、特許文献1に記載されているように、商品を格納する倉庫内において、端末と、ホストを備える倉庫管理システムが知られている。この端末は、商品の保管場所に表示されたロケーションコードと、商品に付された商品コードとを読み取るとともに、商品の数量を含む商品情報を入力する。また、ホストは、この端末から受信した商品情報に基づいて、商品コードと、ロケーションコードとを対応付けた管理データを生成して、商品の入出庫管理を行う。
【先行技術文献】
【特許文献】
【0003】
特開平10-35830号公報
【発明の概要】
【発明が解決しようとする課題】
【0004】
特許文献1に記載された倉庫管理システムのロケーションコードから商品の置き場がわかる。しかし、置き場がわかっても、その置き場に置かれた商品の中から、現物確認や引き取り等の対象となる商品を探すこととなる。その置き場に置かれた商品の中から対象となる商品を探すのは、商品が大量にあることから、困難であり、多大な時間を要する。
【0005】
本開示は、置き場の商品の中から対象となる商品を探す時間の増大を抑制する在庫管理プログラム、在庫管理装置および在庫管理方法を提供することを目的とする。
【課題を解決するための手段】
【0006】
請求項1に記載の発明は、在庫管理プログラムであって、在庫管理装置を、商品を引き渡す業者である引き渡し業者(10、20)から商品を引き取る業者である引き取り業者(20、25)によって入力される商品の置き場に関する情報から、商品の置き場に関するコードである置き場コードを生成する置き場コード生成部、置き場コードを出力する置き場コード出力部、引き取り業者によって作成されるとともに商品に付される書面に付与された置き場コードが引き取り業者によって読み取られることにより、置き場コードに関連する商品に関する情報を出力する商品情報出力部、として機能させる在庫管理プログラムである。
【0007】
また、請求項14に記載の発明は、在庫管理装置であって、商品を引き渡す業者である引き渡し業者(10、20)から商品を引き取る業者である引き取り業者(20、25)によって入力される商品の置き場に関する情報から、商品の置き場に関するコードである置き場コードを生成する置き場コード生成部と、置き場コードを出力する置き場コード出力部と、引き取り業者によって作成されるとともに商品に付される書面に付与された置き場コードが引き取り業者によって読み取られることにより、置き場コードに関連する商品に関する情報を出力する商品情報出力部と、を備える在庫管理装置である。
【0008】
さらに、請求項15に記載の発明は、在庫管理方法であって、商品を引き渡す業者である引き渡し業者(10、20)から商品を引き取る業者である引き取り業者(20、25)によって入力される商品の置き場に関する情報から、商品の置き場に関するコードである置き場コードを生成することと、置き場コードを出力することと、引き取り業者によって作成されるとともに商品に付される書面に付与された置き場コードが引き取り業者によって読み取られることにより、置き場コードに関連する商品に関する情報を出力することと、を含む在庫管理方法である。
【0009】
これにより、引き取り業者によって作成されるとともに商品に付される書面に付与された置き場コードと、在庫管理装置から出力される、置き場コードに関連する商品に関する情報とが目印となる。このため、置き場に置かれた商品の中から対象となる商品を探す時間の増大が抑制される。
【0010】
また、請求項11に記載の発明は、在庫管理プログラムであって、在庫管理装置を、商品を引き渡す業者である引き渡し業者(10、20)によって入力される商品に関する情報と、引き渡し業者から商品を引き取る業者である引き取り業者(20、25)によって入力される商品の置き場に関する情報と、を取得して関連付ける関連部、引き渡し業者によって作成されるとともに商品に付される書面に付与されたコードであって、引き渡し業者によって入力される商品に関する情報と引き取り業者によって入力される商品の置き場に関する情報とに関連するコードである出荷コードが、引き取り業者および引き取り業者から商品を引き取る業者である引き渡し先(25、30)のいずれかによって読み取られることにより、出荷コードに関連する商品に関する情報を出力する商品情報出力部、として機能させる在庫管理プログラムである。
(【0011】以降は省略されています)
この特許をJ-PlatPat(特許庁公式サイト)で参照する
関連特許
株式会社デンソー
車載器
12日前
株式会社デンソー
接合体
26日前
株式会社デンソー
ステータ
12日前
株式会社デンソー
電子装置
16日前
株式会社デンソー
ねじ部材
12日前
株式会社デンソー
反力装置
6日前
株式会社デンソー
ステータ
12日前
株式会社デンソーエレクトロニクス
発音装置
16日前
株式会社デンソー
電子装置
7日前
株式会社デンソー
電子装置
6日前
株式会社デンソー
農業用装置
8日前
株式会社デンソーテン
インバータ
6日前
株式会社デンソー
半導体装置
12日前
株式会社デンソー
レーダ装置
5日前
株式会社デンソー
レーダ装置
16日前
株式会社デンソー
電気化学セル
16日前
株式会社デンソー
車載システム
6日前
株式会社デンソー
電力変換装置
12日前
株式会社デンソー
電子制御装置
16日前
株式会社デンソー
電圧検出回路
8日前
株式会社デンソー
衝突予測装置
7日前
株式会社デンソー
運転支援装置
7日前
株式会社デンソー
衝突予測装置
7日前
株式会社デンソー
電力変換装置
8日前
株式会社デンソー
電波吸収装置
16日前
株式会社デンソーテン
車載映像装置
12日前
株式会社デンソー
電子制御装置
12日前
株式会社デンソーエアクール
換気空調装置
13日前
株式会社デンソー
車載システム
6日前
株式会社デンソー
電圧変換回路
27日前
株式会社デンソー
ステータコア
19日前
株式会社デンソー
フィルタ回路
20日前
株式会社デンソー
電力変換装置
今日
株式会社デンソー
電子制御装置
27日前
株式会社デンソー
光位相変調器
26日前
株式会社デンソー
運航管理装置
5日前
続きを見る
他の特許を見る