TOP
|
特許
|
意匠
|
商標
特許ウォッチ
Twitter
他の特許を見る
公開番号
2025150811
公報種別
公開特許公報(A)
公開日
2025-10-09
出願番号
2024051914
出願日
2024-03-27
発明の名称
装炭ホッパー、装炭車、嵩密度算出方法及びコークスの製造方法
出願人
JFEスチール株式会社
代理人
個人
,
個人
,
個人
,
個人
主分類
C10B
31/04 20060101AFI20251002BHJP(石油,ガスまたはコークス工業;一酸化炭素を含有する工業ガス;燃料;潤滑剤;でい炭)
要約
【課題】炭化室に装炭される石炭ごとに石炭の嵩密度を容易に把握できる装炭ホッパーを提供する。
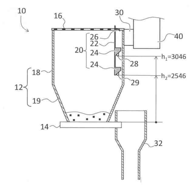
【解決手段】装炭ホッパーであって、コークス炉の炭化室に装炭される石炭を収容する有底筒状の収容容器と、収容容器に収容された石炭を外部に搬送するフィーダーと、収容容器に装入される石炭の重量を測定するロードセルと、収容容器に装入される石炭の装入高さを検出するセンサーと、を有する。
【選択図】図1
特許請求の範囲
【請求項1】
コークス炉の炭化室に装炭される石炭を収容する有底筒状の収容容器と、
前記収容容器に収容された石炭を外部に搬送するフィーダーと、
前記収容容器に装入される石炭の重量を測定するロードセルと、
前記収容容器に装入される石炭の装入高さを検出するセンサーと、
を有する、装炭ホッパー。
続きを表示(約 860 文字)
【請求項2】
前記センサーを2以上有し、前記2以上のセンサーは、前記収容容器内の高さ方向に異なる2以上の位置に設けられる、請求項1に記載の装炭ホッパー。
【請求項3】
前記センサーは、予め定められた範囲内に石炭が存在することを検出するリミットスイッチである、請求項1に記載の装炭ホッパー。
【請求項4】
前記センサーは、予め定められた範囲内に石炭が存在することを検出するリミットスイッチである、請求項2に記載の装炭ホッパー。
【請求項5】
前記リミットスイッチは、前記リミットスイッチの計測部が下方を向く姿勢であって、前記収容容器の側面からの距離が10mm以上50mm以下の範囲に設けられる、請求項3に記載の装炭ホッパー。
【請求項6】
前記リミットスイッチは、前記リミットスイッチの計測部が下方を向く姿勢であって、前記収容容器の側面からの距離が10mm以上50mm以下の範囲に設けられる、請求項4に記載の装炭ホッパー。
【請求項7】
前記リミットスイッチは、静電容量式のリミットスイッチであり、
前記リミットスイッチの計測部はフッ素樹脂により被覆されている、請求項3に記載の装炭ホッパー。
【請求項8】
前記リミットスイッチは、静電容量式のリミットスイッチであり、
前記リミットスイッチの計測部はフッ素樹脂により被覆されている、請求項4に記載の装炭ホッパー。
【請求項9】
前記リミットスイッチは、静電容量式のリミットスイッチであり、
前記リミットスイッチの計測部はフッ素樹脂により被覆されている、請求項5に記載の装炭ホッパー。
【請求項10】
前記リミットスイッチは、静電容量式のリミットスイッチであり、
前記リミットスイッチの計測部はフッ素樹脂により被覆されている、請求項6に記載の装炭ホッパー。
(【請求項11】以降は省略されています)
発明の詳細な説明
【技術分野】
【0001】
本発明は、コークス炉の炭化室に石炭を装炭する装炭ホッパー、装炭車、嵩密度算出方法及びコークスの製造方法に関する。
続きを表示(約 2,900 文字)
【背景技術】
【0002】
高炉で使用されるコークスを製造する設備として、室炉式コークス炉(以下、室炉式コークス炉を「コークス炉」と記載する。)が用いられている。コークス炉は、炉幅方向に離間して並列する燃焼室とそれらの燃焼室に挟まれて設けられる炭化室から構成される。このコークス炉の炭化室の天井には、複数個(通常4~5個)の孔が一列に設けられた装炭孔が設けられている。コークスの原料となる石炭は、その装炭孔を通じて炭化室に装炭され、燃焼室でガスを燃焼して発生する熱を、耐火物を介して炭化室に供給することで石炭を乾留してコークスを製造している。
【0003】
炭化室への石炭の装炭は、石炭を積んだ装炭車を移動させながら石炭を装炭孔から装炭することで行われる。その際、炭化室に装炭される石炭をなるべく多くし、コークスの生産性を向上させることが求められている。特許文献1には、炭化室に装炭された石炭にミリ波又はマイクロ波を送信し、当該石炭の表面で反射されたミリ波又はマイクロ波を受信することで装炭レベルを測定するコークス炉の装炭レベル測定装置が開示されている。特許文献1によれば、装炭高さを測定しながら石炭を炭化室に装炭することで、目標とする装炭高さまで石炭を装炭できるとしている。
【先行技術文献】
【特許文献】
【0004】
特開2019-104922号公報
【発明の概要】
【発明が解決しようとする課題】
【0005】
石炭を装炭する炭化室内は、高温で多量の粉塵が飛散する過酷な環境である。このため、装炭量を少なくして石炭が落下しない領域にミリ波又はマイクロ波を送信したとしても、多量の粉塵によってミリ波又はマイクロ波が遮られ、装炭レベルを正しく測定するのが困難であるという課題がある。また、仮に、装炭レベルを測定できたとしても、測定された装炭レベルに基づいて石炭の装入量を定めるフィードバック制御になるので、炭化室への石炭の装炭時間が長くなってコークス炉の生産性が低下するという課題がある。
【0006】
炭化室の容積は事前に把握できるので、炭化室に装炭される石炭の嵩密度が把握できれば、炭化室の装炭レベルを把握できるようになる。しかしながら、石炭の嵩密度は石炭の粒度や水分含有量に影響を受けるので日々変動する。石炭の粒度や水分含有量の測定には長時間を要するので、炭化室に装炭する石炭ごとに石炭の粒度や水分含有量の測定を行うとかえって石炭の装炭時間が長くなってコークス炉の生産性が低下するという課題がある。
【0007】
本発明はこのような従来技術の課題を鑑みてなされたものであり、その目的は、炭化室に装炭される石炭ごとに石炭の嵩密度を容易に把握できる装炭ホッパーを提供することである。また、本発明の他の目的は、当該装炭ホッパーを2以上有する装炭車、当該装炭ホッパーに装入された石炭の嵩密度を算出する嵩密度算出方法及びコークスの製造方法を提供することである。
【課題を解決するための手段】
【0008】
上記課題を解決するための手段は、以下の通りである。
[1] コークス炉の炭化室に装炭される石炭を収容する有底筒状の収容容器と、前記収容容器に収容された石炭を外部に搬送するフィーダーと、前記収容容器に装入される石炭の重量を測定するロードセルと、前記収容容器に装入される石炭の装入高さを検出するセンサーと、を有する、装炭ホッパー。
[2] 前記センサーを2以上有し、前記2以上のセンサーは、前記収容容器内の高さ方向に異なる2以上の位置に設けられる、[1]に記載の装炭ホッパー。
[3] 前記センサーは、予め定められた範囲内に石炭が存在することを検出するリミットスイッチである、[1]又は[2]に記載の装炭ホッパー。
[4] 前記リミットスイッチは、前記リミットスイッチの計測部が下方を向く姿勢であって、前記収容容器の側面からの距離が10mm以上50mm以下の範囲に設けられる、[3]に記載の装炭ホッパー。
[5] 前記リミットスイッチは、静電容量式のリミットスイッチであり、前記リミットスイッチの計測部はフッ素樹脂により被覆されている、[3]又は[4]に記載の装炭ホッパー。
[6] [1]から[5]のいずれかに記載の装炭ホッパーと、前記収容容器に装入された石炭の嵩密度を算出する演算装置と、移動手段と、を有し、前記演算装置は、前記センサーが前記石炭の装入高さを検出したときの前記ロードセルの重量を特定する重量特定部と、前記重量特定部によって特定された重量を用いて、前記収容容器に装入された石炭の冷間の嵩密度を算出する嵩密度算出部と、を有する、装炭車。
[7] 前記演算装置は、前記冷間の嵩密度を熱間の嵩密度に補正する嵩密度補正部をさらに有する、[6]に記載の装炭車。
[8] 石炭を収容する収容容器を有する装炭ホッパーに装入された石炭の嵩密度を算出する嵩密度算出方法であって、前記収容容器に石炭を装入する石炭装入ステップと、前記収容容器に装入された石炭の装入高さが予め定められた高さに到達したときの前記石炭の重量を特定する重量特定ステップと、前記重量を用いて前記収容容器に装入された石炭の冷間の嵩密度を算出する嵩密度算出ステップと、を有する、嵩密度算出方法。
[9] 前記嵩密度算出ステップで算出された前記冷間の嵩密度を熱間の嵩密度に補正する嵩密度補正ステップをさらに有する、[8]に記載の嵩密度算出方法。
[10] [9]に記載の嵩密度算出方法で算出された前記熱間の嵩密度を用いて、前記装炭ホッパーからコークス炉の炭化室に装炭する石炭の装炭量を特定し、特定された装炭量の石炭をコークス炉に装炭する装炭ステップと、前記炭化室に装炭された石炭を乾留する石炭乾留ステップと、を有する、コークスの製造方法。
【発明の効果】
【0009】
本発明に係る装炭ホッパーを用いることで、炭化室に装炭される石炭ごとに重量と装入された石炭の装入高さを測定できる。石炭の装入高さから、装炭ホッパーに装入された石炭の体積が求められるので、当該体積と重量とを用いることで嵩密度が算出でき、炭化室に装炭される石炭ごとの嵩密度を容易に把握できるようになる。
【図面の簡単な説明】
【0010】
図1は、本実施形態に係る装炭ホッパーの一例を示す断面模式図である。
図2は、本実施形態に係る装炭車の断面模式図である。
図3は、演算装置の構成例を示す模式図である。
図4は、本実施形態に係る嵩密度算出方法及びコークスの製造方法の一例を示すフロー図である。
【発明を実施するための形態】
(【0011】以降は省略されています)
この特許をJ-PlatPat(特許庁公式サイト)で参照する
関連特許
株式会社ユシロ
潤滑剤組成物
7日前
NTN株式会社
転がり軸受
15日前
株式会社Move up
凹凸形状の固形着火剤
17日前
有限会社ジャパンガスセパレーション
メタンガス発生装置
21日前
出光興産株式会社
潤滑油組成物
7日前
株式会社ユシロ
金属加工用潤滑剤組成物
6日前
一般財団法人電力中央研究所
ガス精製システム
17日前
株式会社神鋼環境ソリューション
搬送装置
6日前
本田技研工業株式会社
液体燃料の製造方法
6日前
ENEOS株式会社
グリース組成物
9日前
三浦工業株式会社
ガス化装置
2日前
本田技研工業株式会社
液体燃料の製造方法
7日前
三菱重工業株式会社
炭化炉及びその制御方法
6日前
コスモ石油株式会社
航空燃料油
7日前
出光興産株式会社
再生絶縁油の製造方法
6日前
出光興産株式会社
潤滑油基油
7日前
株式会社神鋼環境ソリューション
炭化物製造設備
6日前
コスモ石油株式会社
航空燃料油
7日前
出光興産株式会社
潤滑油組成物
17日前
出光興産株式会社
潤滑油組成物
17日前
出光興産株式会社
潤滑油組成物
7日前
JFEスチール株式会社
コークス炉の補修方法
14日前
桐生瓦斯株式会社
メタン含有ガスの製造方法およびその製造装置
17日前
コスモ石油株式会社
ガード触媒の評価方法
9日前
コスモ石油ルブリカンツ株式会社
潤滑油組成物
6日前
コスモ石油ルブリカンツ株式会社
潤滑油組成物
6日前
株式会社Gpower
バイオマス発電システム
17日前
本田技研工業株式会社
燃料製造方法、及び燃料製造システム
20日前
コスモ石油ルブリカンツ株式会社
グリース組成物
9日前
コスモ石油ルブリカンツ株式会社
グリース組成物
7日前
株式会社フジタ
バイオガス改質システム
13日前
協同油脂株式会社
非延焼性グリース組成物
7日前
コスモ石油ルブリカンツ株式会社
グリース組成物
6日前
日鉄ケミカル&マテリアル株式会社
精製木酢液の製造方法
9日前
本田技研工業株式会社
液体燃料製造システム、液体燃料の製造方法
7日前
本田技研工業株式会社
合成ガスの製造方法、及び燃料製造システム
9日前
続きを見る
他の特許を見る