TOP
|
特許
|
意匠
|
商標
特許ウォッチ
Twitter
他の特許を見る
公開番号
2025138742
公報種別
公開特許公報(A)
公開日
2025-09-25
出願番号
2025106846
出願日
2025-06-06
発明の名称
メタンガス発生装置
出願人
有限会社ジャパンガスセパレーション
代理人
主分類
C10L
3/08 20060101AFI20250917BHJP(石油,ガスまたはコークス工業;一酸化炭素を含有する工業ガス;燃料;潤滑剤;でい炭)
要約
【課題】極力動力を削減し、且つ回収した高濃度メタンをバイオ燃料として活用して温暖化防止に寄与できるメタンガス発生装置を提供する。
【解決手段】生ごみと発酵に適さないプラスチック等を分別して集荷するシステムと、更に生ごみを主原料として、発酵期間の短縮のために下水汚泥、屎尿を加え、必要に応じて水を加えて水状の混合物とし、該混合物を水ポンプで5~9気圧、望ましくは7~9気圧に加圧後、メタン醗酵を行う発酵槽と、その後、混合物を30~55℃で15~20日間発酵後、発生した混合ガスを、ドレンの排除、除塵、加温等前処理を有しガス分離膜に供給する前処理装置と、更に、この混合ガスを精製して高濃度のメタンを供給するガス分離膜を有することを特徴とするメタンガス発生装置である。
【選択図】図1
特許請求の範囲
【請求項1】
生ごみと発酵に適さないプラスチック等を分別して集荷するシステムと、更に生ごみを主原料として、発酵期間を短縮のために下水汚泥、屎尿を加えて必要に応じて水を加えて水状の混合物を水ポンプで5~9気圧、望ましくは7~9気圧に加圧後にメタン醗酵を行う発酵槽と、その後混合物を30~55℃で15~20日間発酵後発生した混合ガスをドレンの排除、除塵や加温等前処理を有しガス分離膜に供給する前装置と、更に、この混合ガスを精製して高濃度のメタンを供給するガス分離膜を有することを特徴とするメタンガス発生装置。
続きを表示(約 250 文字)
【請求項2】
請求項1のガス分離膜だけでは十分なメタンガスの濃度、回収率が確保できない場合は前述の分離膜の透過ガス全量、若しくは一部をガス圧縮機で昇圧して原料ラインに戻す第2の分離膜を有することを特徴とするメタンガス発生装置。
【請求項3】
請求項1,2によるガス分離膜の透過ガスに含まれる低濃度のメタンを地球温暖化に該当しない木質バイオマスボイラの助燃材として供給し、発生した蒸気または温水の熱で発酵槽を加熱してメタン発酵を継続することを特徴とするメタンガス発生装置。
発明の詳細な説明
【技術分野】
【0001】
本発明は、生ごみを原料とするメタンガス発生装置に関するものである。
続きを表示(約 2,100 文字)
【従来技術】
【0002】
特許文献1によれば回収された高濃度及び低濃度のメタンはボイラの燃料として使用されメタン発酵槽の加熱源となり内部消費される問題がある。更に特許文献2によれば回収されたメタンガスの大部分がガスエンジンの燃料に使用されるが発電効率25%と低くボイラの燃料で発生した熱やガスエンジンの冷却水の熱を含めてメタン発酵槽の加熱に使用されている。メタン発酵槽は発酵期間が12~18日と長く巨大な体積・表面積を有し槽内温度(32~38℃)と高いので外気との間に大きな放熱が生じて回収されたメタンの大部分の熱エネルギーが消費され内部消費される問題がある。
【先行技術文献】
【0003】
特開2025-085017
特許3651836
【発明が解決しようとする課題】
【0004】
特許文献1によれば、水状にした原料を給水ポンプで加圧して発酵槽に供給、発生したガスを前処理した後にガス分離膜で精製することで精製に大幅な動力は使用することなくメタンガス精製は可能であるが、生ごみの選別段階で発酵に適しないプラスチック、衣類等が混入しておれば破砕機、選別機の容量が大きく、大電力を要する。更に折角回収・精製したメタンをメタン発酵槽の加熱に自家消費される問題が生じる。
【0005】
特許文献2では発電効率が25%と低く、メタン発酵槽の加熱容量が大きくがこれを加熱するための多量のエネルギーは内部消費であるがコストとして扱われていない。
【発明の概要】
【0006】
本発明は発生した混合ガスを加圧することなく、加圧された液体から発生した混合ガスを前処理してガス分離膜で精製して使用することでガス圧縮機の電力を無くしメタン濃度・回収率が不足すれば、透過ガスの一部をガス圧縮機で加圧して原料ガスすることで消費電力を下げて発生した混合ガスをガス分離膜で透過ガスは加熱用の燃料と使用するが、不足する熱量は地球温暖化に影響しないで地球温暖化の原因とならず、且つ燃料コストの低い木質燃料をボイラの助燃材として使用して発生した蒸気温水の熱で発酵槽を加熱して低コスト化を図る。
【課題を解決するための手段】
【0007】
本発明が解決しようとする第一の課題は先ず、生ごみの収集に取集車部が左右又は前後に2分割されたごみ収集車を採用し、且つ図1のC部に示されるように発酵する生ごみとプラスチック、衣類等の非発酵物を分別収集する。更に原料を液状にして水ポンプで加圧して醗酵槽に供給、発生したメタン、二酸化炭素等を主成分とする混合ガスの圧力は加圧状態で保持されるので、そのガス圧力をガス分離膜に供給してガス分離を行い混合ガスをガス圧縮機で圧縮する必要が無い。気体を圧縮する場合の問題はメタン醗酵の場合原料の1m3の液体は大気圧の混合ガス体100~150m3に膨張する。原料は非圧縮性の液体で加圧は水ポンプ、混合ガスはガス圧縮機によりために、それぞれの加圧に要する動力値は物理・機械学的な法則・方法で計算できる。其々の機械効率を80,70%1として1m3の原料から150m3の混合ガス発生した場合、それぞれの所用動力は、其々0.24,15kWとなり、水ポンプで原料を加圧して発酵ガスの圧力を利用すれば小動力でメタンに必要な圧力迄昇圧できる。更に本発明に使用する炭化水素製のガス分離膜は図2で示すようにモジュール化され可動部分が無く前処理に問題が無ければ、類似の代替え天然ガスの都市ガスで(メタン/二酸化炭素)のガス分離に10数年以上の耐久性が立証されておりメンテナンスが殆ど皆無で省力化出来てプラントとしてもコストダウンできる。
【0008】
更に、ガス分離膜の透過ガスを発酵槽のボイラの燃料の助燃材として有効利用して発生した蒸気、または温水で発酵槽を加熱し、更に不足する熱量は地球温暖化の原因とならない木質チップ、ペレット等を燃料とするボイラの蒸気又は温水で発酵槽を加熱すれば発熱量ベースで都市ガス13Aに比べて燃料費が約1/4に下げることが可能となり。コストダウン及び地球温暖化暖化防止に寄与出来てメタン発酵が継続できる。
【発明の効果】
【0009】
近年、地球温暖化が深刻な問題となっている中で大多数のゴミ処理場では温暖化防止への具体策が実行されていない実情がある。本発明は極力動力を削減し、且つ回収した高濃度メタンをバイオ燃料として活用して温暖化防止に寄与できる。
【図面の簡単な説明】
【0010】
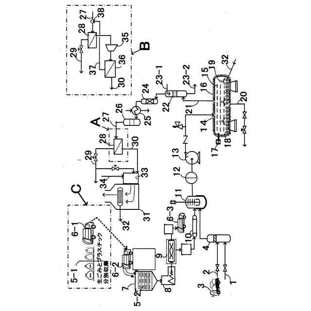
はメタン発酵装置の全体を示す。生ごみの分別取集、処理、メタン醗酵、排ガス処理及び膜分離によるガス精製、ボイラの燃焼、醗酵槽の加熱を含むメタン発酵装置の全般及びフローシートを示し、図中A,B部分図はガス分離部分で、B図はA図に比べ小容量のガス圧縮機35を追加する事で図Aに比べて、より高いメタン濃度、回収率が図れる。ごみ収集車6-1,2,3は同1車で取集6-1,6-2・配送後6-3で発酵不適物を積み込み既設のゴミ処理場に向う。
(【0011】以降は省略されています)
この特許をJ-PlatPat(特許庁公式サイト)で参照する
関連特許
合同会社双晶
製炭方法
29日前
個人
液体化石燃料の改質方法
1日前
株式会社ユシロ
潤滑剤組成物
1か月前
三洋化成工業株式会社
導電剤及び潤滑剤組成物
17日前
株式会社ニッペコ
潤滑組成物
9日前
株式会社ユシロ
金属加工用潤滑剤組成物
1か月前
出光興産株式会社
潤滑油組成物
1か月前
三浦工業株式会社
ガス化装置
1か月前
本田技研工業株式会社
液体燃料の製造方法
1か月前
株式会社神鋼環境ソリューション
搬送装置
1か月前
ENEOS株式会社
グリース組成物
19日前
本田技研工業株式会社
液体燃料の製造方法
1か月前
三菱重工業株式会社
炭化炉及びその制御方法
1か月前
日本製鉄株式会社
コークスの粉化量予測方法
17日前
コスモ石油株式会社
航空燃料油
1か月前
コスモ石油株式会社
航空燃料油
1か月前
出光興産株式会社
潤滑油基油
1か月前
株式会社神鋼環境ソリューション
炭化物製造設備
1か月前
出光興産株式会社
再生絶縁油の製造方法
1か月前
出光興産株式会社
潤滑油組成物
1か月前
株式会社ダイゾー
グリース組成物
25日前
三菱重工業株式会社
炉壁及びガス化炉並びに炉壁の製造方法
25日前
コスモ石油ルブリカンツ株式会社
潤滑油組成物
1か月前
コスモ石油ルブリカンツ株式会社
潤滑油組成物
1か月前
協同油脂株式会社
非延焼性グリース組成物
1か月前
コスモ石油ルブリカンツ株式会社
グリース組成物
1か月前
コスモ石油ルブリカンツ株式会社
グリース組成物
1か月前
本田技研工業株式会社
液体燃料製造システム、液体燃料の製造方法
1か月前
旭化成株式会社
炭素数6~8の炭化水素含有留分の製造方法
16日前
本田技研工業株式会社
合成ガス製造方法、及び合成ガス製造システム
1か月前
JFEスチール株式会社
堆積物の除去装置及び堆積物の除去方法
1か月前
コスモ石油ルブリカンツ株式会社
内燃機関用潤滑油組成物
1か月前
三菱重工業株式会社
燃料製造システム、及び燃料製造方法
11日前
日本製鉄株式会社
温度測定システム、規格化温度算出装置及び温度測定方法
1か月前
出光興産株式会社
バイオマス燃料の製造方法及びバイオマス燃料
1か月前
ENEOS株式会社
グリース組成物
11日前
続きを見る
他の特許を見る