TOP
|
特許
|
意匠
|
商標
特許ウォッチ
Twitter
他の特許を見る
10個以上の画像は省略されています。
公開番号
2025150557
公報種別
公開特許公報(A)
公開日
2025-10-09
出願番号
2024051495
出願日
2024-03-27
発明の名称
流路切換弁
出願人
マレリ株式会社
代理人
弁理士法人後藤特許事務所
主分類
F16K
11/085 20060101AFI20251002BHJP(機械要素または単位;機械または装置の効果的機能を生じ維持するための一般的手段)
要約
【課題】シール性の確保と摺動抵抗の低減との両立を図る。
【解決手段】流路切換弁1は、円筒状の内壁部12を有し複数のポート13が周方向の一部に偏在して開口するハウジング10と、ハウジング10の内部に中心軸Cまわりに回動可能に収容され、内壁部12に摺接するシール面31d,32d,33d,34dを有して複数のポート13の連通状態を切り換える複数の弁体30と、を備え、内壁部12は、複数のポート13が設けられる第1内壁部12aと、第1内壁部12aと中心軸Cを挟んで対向しポート13が設けられない第2内壁部12bと、を有し、第2内壁部12bは、第1内壁部12aよりも中心軸Cからの半径が大きい部分を有して軸方向若しくは径方向にて中心軸Cからの半径が変化する拡径部17を有する。
【選択図】図6
特許請求の範囲
【請求項1】
流路切換弁であって、
円筒状の内壁部を有し複数のポートが周方向の一部に偏在して開口するハウジングと、
前記ハウジングの内部に中心軸まわりに回動可能に収容され、前記内壁部に摺接するシール面を有して前記複数のポートの連通状態を切り換える複数の弁体と、
を備え、
前記内壁部は、前記複数のポートが設けられる第1内壁部と、前記第1内壁部と前記中心軸を挟んで対向し前記ポートが設けられない第2内壁部と、を有し、
前記第2内壁部は、前記第1内壁部よりも前記中心軸からの半径が大きい部分を有して軸方向若しくは径方向にて前記中心軸からの半径が変化する拡径部を有する、
流路切換弁。
続きを表示(約 1,500 文字)
【請求項2】
請求項1に記載の流路切換弁であって、
前記軸方向に延在し、その回転により前記弁体の回動位置を切り換える回転軸と、
前記回転軸と前記弁体との間に設けられ、前記弁体を前記内壁部に向かって付勢する付勢部材と、
を更に備え、
前記シール面は、前記付勢部材の付勢力によって前記内壁部に押圧されて前記内壁部との間をシールする、
流路切換弁。
【請求項3】
請求項2に記載の流路切換弁であって、
前記拡径部は、前記軸方向にて前記中心軸からの半径が変化することによって形成され、
前記内壁部と前記中心軸との相対角度は、前記第1内壁部では0°を含む所定角度であるのに対し、前記第2内壁部では前記所定角度よりも大きい、
流路切換弁。
【請求項4】
請求項3に記載の流路切換弁であって、
前記ハウジングは、
前記内壁部を有し前記複数のポートが開口する本体部と、
前記本体部の前記軸方向の一端を覆う底部と、
前記本体部の前記軸方向の他端を覆う蓋部と、
を有し、
前記第2内壁部の前記中心軸からの半径は、前記底部から前記蓋部に向かって拡大する、
流路切換弁。
【請求項5】
請求項4に記載の流路切換弁であって、
前記蓋部は、前記内壁部に沿った円弧状に形成されて前記本体部内に向かって突出し前記シール面の一部と摺接する円弧部を有する、
流路切換弁。
【請求項6】
請求項5に記載の流路切換弁であって、
前記円弧部にて前記シール面と摺接する摺接面の前記中心軸からの半径は、前記第1内壁部における前記中心軸からの半径よりも大きい、
流路切換弁。
【請求項7】
請求項6に記載の流路切換弁であって、
前記内壁部は、
前記第1内壁部が設けられ、前記中心軸からの半径が第1半径である第1内面領域と、
前記第2内壁部が設けられ、前記中心軸からの半径が前記第1半径よりも大きい第2半径である第2内面領域と、
前記第1内面領域と前記第2内面領域との間に設けられ、前記中心軸からの距離が前記第1半径よりも大きく前記第2半径よりも小さい遷移領域と、
からなる、
流路切換弁。
【請求項8】
請求項7に記載の流路切換弁であって、
前記第2内面領域に位置する前記弁体の前記シール面は、前記円弧部に接触し前記軸方向の少なくとも一部で前記内壁部と接触しない、
流路切換弁。
【請求項9】
請求項1から4のいずれか一つに記載の流路切換弁であって、
前記第2内壁部が設けられる範囲は、前記軸方向視で180°以上である、
流路切換弁。
【請求項10】
請求項9に記載の流路切換弁であって、
前記内壁部は、
前記第1内壁部が設けられ、前記中心軸からの半径が第1半径である第1内面領域と、
前記第2内壁部が設けられ、前記中心軸からの半径が前記第1半径よりも大きい第2半径である第2内面領域と、
前記第1内面領域と前記第2内面領域との間に設けられ、前記中心軸からの距離が前記第1半径よりも大きく前記第2半径よりも小さい遷移領域と、
からなり、
前記第2内面領域が設けられる範囲は、前記軸方向視で180°以上である
流路切換弁。
(【請求項11】以降は省略されています)
発明の詳細な説明
【技術分野】
【0001】
本発明は、流体の流路を切り換える流路切換弁に関する。
続きを表示(約 1,600 文字)
【背景技術】
【0002】
特許文献1には、円筒形に形成されてバルブキャビティを有する本体部(ハウジング)と、バルブキャビティ内に配置されて回転駆動されるバルブコアと、バルブコアの径方向に沿って円弧状に形成され、バルブコアとバルブキャビティとの間に配置されるシール部材と、を備える制御弁(流路切換弁)が開示されている。この制御弁では、シール部材は、周方向に沿って2つの貫通孔を有し、貫通孔の周囲のみをシールするように円周上の一部に設けられている。
【先行技術文献】
【特許文献】
【0003】
国際公開第2022/218406号
【発明の概要】
【発明が解決しようとする課題】
【0004】
しかしながら、特許文献1に記載の制御弁では、シール部材は、本体部とは別体に形成されて、バルブコアとバルブキャビティとの間で径方向に圧縮されることで貫通孔の周囲のシール性を確保している。そのため、バルブコアが摺動することによるシール部材の劣化が懸念される。
【0005】
本発明は、上記の点に鑑みてなされたものであり、シール性の確保と摺動抵抗の低減との両立を図ることを目的とする。
【課題を解決するための手段】
【0006】
本発明のある態様によれば、流路切換弁は、円筒状の内壁部を有し複数のポートが周方向の一部に偏在して開口するハウジングと、前記ハウジングの内部に中心軸まわりに回動可能に収容され、前記内壁部に摺接するシール面を有して前記複数のポートの連通状態を切り換える複数の弁体と、を備え、前記内壁部は、前記複数のポートが設けられる第1内壁部と、前記第1内壁部と前記中心軸を挟んで対向し前記ポートが設けられない第2内壁部と、を有し、前記第2内壁部は、前記第1内壁部よりも前記中心軸からの半径が大きい部分を有して軸方向若しくは径方向にて前記中心軸からの半径が変化する拡径部を有する。
【発明の効果】
【0007】
上記態様によれば、ハウジングの内壁部は、複数のポートが設けられる第1内壁部と、第1内壁部と中心軸を挟んで対向してポートが設けられない第2内壁部と、を有する。第2内壁部は、第1内壁部よりも中心軸からの半径が大きい部分を有して軸方向若しくは径方向にて中心軸からの半径が変化する拡径部を有する。よって、弁体のシール面が第1内壁部に摺接することで、シール性を確保しながら複数のポートの連通状態を切り換えることができ、拡径部が設けられることで、第2内壁部における弁体との摺動抵抗が低減される。したがって、シール性の確保と摺動抵抗の低減との両立を図ることができる。
【図面の簡単な説明】
【0008】
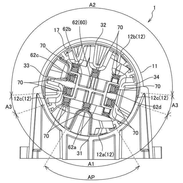
図1は、本発明の実施形態に係る流路切換弁の外観斜視図である。
図2は、図1における分解斜視図である。
図3は、弁体と回転軸との斜視図である。
図4は、蓋部の斜視図である。
図5は、回転軸と付勢部材との斜視図である。
図6は、図1におけるVI-VI断面図である。
図7は、図6におけるVII-VII断面図である。
図8は、図6におけるVIII-VIII断面図である。
図9は、ハウジングの変形例について説明する斜視図である。
図10は、本発明の実施形態の変形例に係る流路切換弁の断面図である。
図11は、図10における要部拡大図である。
【発明を実施するための形態】
【0009】
以下、図面を参照して、本発明の実施形態に係る流路切換弁1について説明する。
【0010】
まず、図1から図5を参照して、流路切換弁1の全体構成について説明する。
(【0011】以降は省略されています)
この特許をJ-PlatPat(特許庁公式サイト)で参照する
関連特許
マレリ株式会社
消音器
4日前
マレリ株式会社
流路切換弁
4日前
マレリ株式会社
排気ガス処理装置
1か月前
マレリ株式会社
排気ガス処理装置及び混合装置
4日前
マレリ株式会社
熱交換器
13日前
個人
鍋虫ねじ
1か月前
個人
回転伝達機構
2か月前
個人
紛体用仕切弁
1か月前
個人
ホース保持具
6か月前
個人
差動歯車用歯形
3か月前
個人
トーションバー
6か月前
個人
ジョイント
24日前
個人
給排気装置
6日前
個人
固着具と成形品部材
8か月前
個人
回転式配管用支持具
7か月前
株式会社不二工機
電磁弁
3か月前
株式会社不二工機
電磁弁
5か月前
個人
ボルトナットセット
6か月前
個人
ナット
25日前
個人
地震の揺れ回避装置
2か月前
個人
吐出量監視装置
1か月前
株式会社オンダ製作所
継手
8か月前
個人
ベルトテンショナ
7か月前
カヤバ株式会社
緩衝器
7か月前
株式会社三協丸筒
枠体
6か月前
株式会社ミクニ
弁装置
8か月前
カヤバ株式会社
緩衝器
3か月前
柿沼金属精機株式会社
分岐管
1か月前
株式会社ミクニ
弁装置
8か月前
カヤバ株式会社
緩衝器
5日前
カヤバ株式会社
緩衝器
3か月前
カヤバ株式会社
ダンパ
3か月前
カヤバ株式会社
ダンパ
3か月前
個人
固着具と固着具の固定方法
4か月前
個人
固着具と固着具の固定方法
4か月前
株式会社タカギ
水栓装置
2か月前
続きを見る
他の特許を見る