TOP
|
特許
|
意匠
|
商標
特許ウォッチ
Twitter
他の特許を見る
10個以上の画像は省略されています。
公開番号
2025150491
公報種別
公開特許公報(A)
公開日
2025-10-09
出願番号
2024051392
出願日
2024-03-27
発明の名称
仮締切構造体及び仮締切構築方法
出願人
飛島建設株式会社
代理人
個人
,
個人
主分類
E02B
7/00 20060101AFI20251002BHJP(水工;基礎;土砂の移送)
要約
【課題】本発明は、容易に現場に運搬、組立、設置することが可能とされ短期間で効率的に構築することが可能な仮締切構造体及び仮締切構築方法を提供すること。
【解決手段】ダムの上流側Uにドライな空間を形成するための仮締切構造体1であって、堤体Dの壁面に配置され上下方向に延びる水密層2と、水密層2と密着して配置される固定部材4と、ブラケット10と、前記ブラケット10上に配置され固定部材4と連結される左側締切壁部と、右側締切壁部30と、前記ブラケット10上にに配置され、前記左側締切壁部と前記左側締切壁部30の他端側を連結する連結締切壁部40と、を備え、前記水密層2は前記堤体Dの壁面の凹凸に水中モルタル、水中パテ等の充填材を充填するとともに充填材充填後の壁面が平坦に形成されていることを特徴とする。
【選択図】図3
特許請求の範囲
【請求項1】
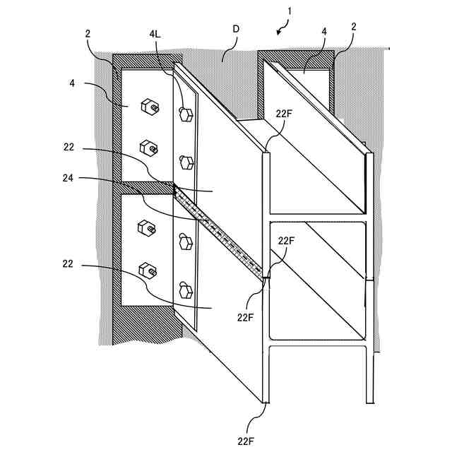
海洋、河川に設置された堤防の堤外地側又はダムの上流側に設置され、前記堤外地側又は上流側にドライな空間を形成するための仮締切構造体であって、
堤体の堤外地側又は上流側の壁面の左右に間隔をあけて配置された左側位置及び右側位置において前記壁面に水密に上下方向に取付けられる固定部材と、
平板状に形成され前記壁面と水密に連結されるとともに略水平に配置される床板を有する台座部と、
前記台座部に配置され、一端が前記左側位置の固定部材と連結され他端が前記壁面から離間して配置される左側締切壁部と、
前記台座部に配置され、一端が前記右側位置の固定部材と連結され他端が前記壁面から離間して配置される右側締切壁部と、
前記台座部に配置され、前記左側締切壁部と前記左側締切壁部の他端側を連結する連結締切壁部と、
を備える、
ことを特徴とする仮締切構造体。
続きを表示(約 1,500 文字)
【請求項2】
前記固定部材は、
前記堤体から離間する側に向かって延びる長穴からなる連結穴が形成されている、
ことを特徴とする請求項1に記載の仮締切構造体。
【請求項3】
前記固定部材は、
長手方向に沿って見たときに断面略L字形に形成されたL形鋼により構成されている、
ことを特徴とする請求項1に記載の仮締切構造体。
【請求項4】
前記左側締切壁部、前記右側締切壁部、前記連結締切壁部は、
鋼材からなる締切部材を積層することにより構成されている、
ことを特徴とする請求項1に記載の仮締切構造体。
【請求項5】
前記鋼材は、
長手方向に沿って見たときに断面略H形に形成されたH形鋼、チャネル又は角パイプにより構成されている、
ことを特徴とする請求項4に記載の仮締切構造体。
【請求項6】
前記壁面の左側位置及び右側位置に上下方向に延びるように配置され、前記壁面の凹凸に水中モルタル、水中パテ等の充填材を充填するとともに充填材充填後の壁面が平坦に形成される水密層を備え、
前記固定部材は、前記水密層に密着するように上下方向に沿って取付けられる、
ことを特徴とする請求項1に記載の仮締切構造体。
【請求項7】
前記左側締切壁部、前記右側締切壁部、前記連結締切壁部は、
長手方向に沿って見たときに断面略H形に形成されたH形鋼を積層して構成する場合に、下側のH形鋼のフランジ端部と上側のH形鋼のフランジ端部を突き合わせて積層する、
ことを特徴とする請求項1に記載の仮締切構造体。
【請求項8】
海洋、河川に設置された堤防の堤外地側又はダムの上流側に設置され、前記堤外地側又は上流側にドライな空間を形成するための仮締切構造体を構築する仮締切構築方法であって、
堤体の堤外地側又は上流側の壁面の凹凸に水中モルタル、水中パテ等の充填材を充填するとともに充填後の壁面を平坦面とすることにより、前記堤体表面に左右に間隔をあけて上下方向に沿って延びる左側位置及び右側位置の水密層を形成し、
長手方向に見たときに断面略L字形に形成されたL形鋼からなる固定部材を前記左側位置及び右側位置の水密層に密着させて水密に前記堤体に取付け、
平板状に形成された台座部を前記堤体と水密に連結するとともに略水平に配置し、
長手方向に沿って見たときに断面略H形に形成されたH形鋼からなる複数の締切部材を準備し、
前記左側位置及び前記右側位置の前記固定部材と対応させて前記台座部の上に前記締切部材を配置して、前記締切部材の一端を対応する固定部材に連結するとともに他端を前記堤体から離間させて配置し、左側位置の固定部材に連結された左側締切部材及び右側位置の固定部材に連結された右側締切部材の上に、それぞれ締切部材を積層するとともに対応する固定部材との連結を繰り返して左側締切壁部及び左側締切壁部を形成し、
前記左側締切壁部及び前記右側締切壁部を形成する途中の任意のタイミング又は前記左側締切壁部及び前記右側締切壁部が形成された後に、前記左側締切部材の他端側及び右側締切部材の他端側に締切部材を配置するとともに前記左側締切部材及び前記右側締切部材の他端側と連結して、前記左側締切壁部と前記右側締切壁部の間に連結締切壁部を形成して仮締切構造体を構築する、
ことを特徴とする仮締切構築方法。
発明の詳細な説明
【技術分野】
【0001】
本発明は、海洋・河川工事、ダム工事分野においてドライ施工が必要とされる工事を汎用鋼材を用いて実施する仮締切構造体及び仮締切構築方法に関する。
続きを表示(約 3,500 文字)
【背景技術】
【0002】
周知のように、例えば運用しているダムの堤体に放流管を増設する等の再開発(改良工事)が必要となる場合がある。このように運用中のダム堤体に放流管を増設する場合、堤体に上流呑口部を先行施工したうえで、ダム下流面からの堤体穴あけを実施する。このような工事方法は、海洋・河川工事、ダム事分野における運用中の構築物の再開発に不可欠である。
【0003】
このような上流呑口部の先行施工は、運用しながらの工事であるため、工事のほとんどを渇水期におこなう必要があり、限られた作業日数で迅速に行わなければならない。また、上流呑口部の工事においては、ベルマウス管やゲート等の鋼材設置工事がメインであり、水密性を確保するうえでドライ施工が必須である。
【0004】
ダムの堤体築造の際、河川を堰き止めて仮排水路に転流するため、または下流からの逆流を防ぐため、ダムサイトの上流あるいは下流に河川の締切りのための仮設構造物として仮締切を構築する場合がある。
このように、仮排水路への転流や下流からの逆流を防ぐために、上流側に鋼製仮締切を設置して仮締切をしてドライ施工が可能な空間を確保するための仮締切設置に関する種々の技術が開示されている(非特許文献1。)。
【先行技術文献】
【非特許文献】
【0005】
「鶴田ダム再開発事業における浮体式上流仮締切について」(平成25年度 国土交通省「国土技術研究会」論文)[令和6年3月6日検索]インターネット<URL:https://www.mlit.go.jp/chosahokoku/giken/program/kadai/pdf/jusyo/H25/innova1_01.pdf>
【発明の概要】
【発明が解決しようとする課題】
【0006】
しかしながら、非特許文献1に記載の箱型の鋼製仮締切は気密室を有しているなど構造が複雑であり、工場での製作が必要となる。鋼製仮締切を工場製作する場合、製作工程に数ヶ月を要するうえ、完成してから運搬、組立、設置と施工が完了するまでの工期が長期間にわたり、設置コストが高額になる。また、例えば設置に100t以上の大型クレーンが必要となる場合もあり、施工対象とするダム等の立地が制約となる可能性もある。
そこで、短期間で容易に現場に運搬、組立、設置することが可能な仮締切構造体及び仮締切構築方法に関する技術が望まれる。
【0007】
本発明は、容易に現場に運搬して、組立、設置することが可能とされ短期間で効率的に構築することが可能な仮締切構造体及び仮締切構築方法を提供することを目的とする。
【課題を解決するための手段】
【0008】
本発明は、
海洋、河川に設置された堤防の堤外地側又はダムの上流側に設置され、前記堤外地側又は上流側にドライな空間を形成するための仮締切構造体であって、
堤体の堤外地側又は上流側の壁面の左右に間隔をあけて配置された左側位置及び右側位置において前記壁面に水密に上下方向に取付けられる固定部材と、
平板状に形成され前記壁面と水密に連結されるとともに略水平に配置される床板を有する台座部と、
前記台座部に配置され、一端が前記左側位置の固定部材と連結され他端が前記壁面から離間して配置される左側締切壁部と、
前記台座部に配置され、一端が前記右側位置の固定部材と連結され他端が前記壁面から離間して配置される右側締切壁部と、
前記台座部に配置され、前記左側締切壁部と前記左側締切壁部の他端側を連結する連結締切壁部と、
を備える、
ことを特徴とし、
または、
前記固定部材は、
前記堤体から離間する側に向かって延びる長穴からなる連結穴が形成されている、
ことを特徴とし、
または、
前記固定部材は、
長手方向に沿って見たときに断面略L字形に形成されたL形鋼により構成されている、
ことを特徴とし、
または、
前記左側締切壁部、前記右側締切壁部、前記連結締切壁部は、
鋼材からなる締切部材を積層することにより構成されている、
ことを特徴とし、
または、
前記鋼材は、
長手方向に沿って見たときに断面略H形に形成されたH形鋼、チャネル又は角パイプにより構成されている、
ことを特徴とし、
または、
前記壁面の左側位置及び右側位置に上下方向に延びるように配置され、前記壁面の凹凸に水中モルタル、水中パテ等の充填材を充填するとともに充填材充填後の壁面が平坦に形成される水密層を備え、
前記固定部材は、前記水密層に密着するように上下方向に沿って取付けられる、
ことを特徴とし、
または、
前記左側締切壁部、前記右側締切壁部、前記連結締切壁部は、
長手方向に沿って見たときに断面略H形に形成されたH形鋼を積層して構成する場合に、下側のH形鋼のフランジ端部と上側のH形鋼のフランジ端部を突き合わせて積層する、
ことを特徴とし、
または、
海洋、河川に設置された堤防の堤外地側又はダムの上流側に設置され、前記堤外地側又は上流側にドライな空間を形成するための仮締切構造体を構築する仮締切構築方法であって、
堤体の堤外地側又は上流側の壁面の凹凸に水中モルタル、水中パテ等の充填材を充填するとともに充填後の壁面を平坦面とすることにより、前記堤体表面に左右に間隔をあけて上下方向に沿って延びる左側位置及び右側位置の水密層を形成し、
長手方向に見たときに断面略L字形に形成されたL形鋼からなる固定部材を前記左側位置及び右側位置の水密層に密着させて水密に前記堤体に取付け、
平板状に形成された台座部を前記堤体と水密に連結するとともに略水平に配置し、
長手方向に沿って見たときに断面略H形に形成されたH形鋼からなる複数の締切部材を準備し、
前記左側位置及び前記右側位置の前記固定部材と対応させて前記台座部の上に前記締切部材を配置して、前記締切部材の一端を対応する固定部材に連結するとともに他端を前記堤体から離間させて配置し、左側位置の固定部材に連結された左側締切部材及び右側位置の固定部材に連結された右側締切部材の上に、それぞれ締切部材を積層するとともに対応する固定部材との連結を繰り返して左側締切壁部及び左側締切壁部を形成し、
前記左側締切壁部及び前記右側締切壁部を形成する途中の任意のタイミング又は前記左側締切壁部及び前記右側締切壁部が形成された後に、前記左側締切部材の他端側及び右側締切部材の他端側に締切部材を配置するとともに前記左側締切部材及び前記右側締切部材の他端側と連結して、前記左側締切壁部と前記右側締切壁部の間に連結締切壁部を形成して仮締切構造体を構築する、
ことを特徴とする。
【発明の効果】
【0009】
本発明に係る仮締切構造体、仮締切構築方法によれば、締切用鋼材の段取りから加工・搬入・組立までの工程を容易にすることで効率的かつ短期間で仮締切を構築することができる。
【図面の簡単な説明】
【0010】
本発明の第1実施形態に係る仮締切構造体の概略構成を説明する平面図である。
第1実施形態に係る仮締切構造体の概略構成を説明する正面図である。
第1実施形態に係る仮締切構造体の概略構成を説明する右側面から見た側面図である。
第1実施形態に係る水密層における水中モルタル(充填材)の機能を説明する概念図である。
第1実施形態に係るL形鋼からなる固定部材の概略構成を説明する斜視図である。
第1実施形態に係るブラケット(台座部)を構成する床板部材の概略構成を説明する側面から見た概念図である。
第1実施形態に係る固定部材と左側締切部材の連結の一例を説明する平面視した概念図である。
第1実施形態に係る左側締切部材の積層の概略構成を説明する斜視図である。
第2実施形態に係る左側締切部材に適用する成形ゴム(水密部材)の概略構成を説明する概念図である。
【発明を実施するための形態】
(【0011】以降は省略されています)
この特許をJ-PlatPat(特許庁公式サイト)で参照する
関連特許
飛島建設株式会社
型枠構造体、固定治具及びダム堤体の構築方法
28日前
飛島建設株式会社
アンカー位置調整装置、アンカー固定方法、及び、支承取替方法
28日前
飛島建設株式会社
クラウドを介した4Dモデルデータ共有システム及びデータ共有方法
28日前
個人
バケット
8日前
個人
建物の不同沈下の修正方法
15日前
株式会社富田製作所
継手部構造
8日前
千代田工営株式会社
回転貫入杭
22日前
株式会社大林組
操縦装置
11日前
株式会社熊谷組
山留壁用親杭
28日前
ヤンマーホールディングス株式会社
作業機械
21日前
日立建機株式会社
建設機械
1日前
ヤンマーホールディングス株式会社
作業機械
21日前
日立建機株式会社
作業機械
今日
日立建機株式会社
建設機械
29日前
日立建機株式会社
作業機械
22日前
日立建機株式会社
建設機械
29日前
日立建機株式会社
作業機械
28日前
日立建機株式会社
作業機械
28日前
日立建機株式会社
作業機械
28日前
日立建機株式会社
作業車両
24日前
日立建機株式会社
作業機械
29日前
日本車輌製造株式会社
建設機械
24日前
FKS株式会社
擁壁及び擁壁の築造方法
10日前
鹿島建設株式会社
接続方法および接続構造
24日前
株式会社三誠
建物の免震構造
15日前
ライト工業株式会社
鉄筋保持用治具
29日前
株式会社次世代一次産業実践所
登山道の施工装置
16日前
株式会社竹内製作所
作業用車両
28日前
株式会社竹内製作所
作業用車両
28日前
株式会社竹内製作所
作業用車両
28日前
株式会社竹内製作所
作業用車両
28日前
JFEスチール株式会社
鋼管矢板の継手構造
29日前
山形新興株式会社
建築物の基礎及び基礎成形型
23日前
清水建設株式会社
遮水層の構築方法
28日前
コベルコ建機株式会社
施工システム
28日前
清水建設株式会社
免震装置の基礎構造
29日前
続きを見る
他の特許を見る