TOP
|
特許
|
意匠
|
商標
特許ウォッチ
Twitter
他の特許を見る
10個以上の画像は省略されています。
公開番号
2025150344
公報種別
公開特許公報(A)
公開日
2025-10-09
出願番号
2024051172
出願日
2024-03-27
発明の名称
バッテリ制御システム、バッテリパック、小型電動車両、バッテリ制御方法およびコンピュータプログラム
出願人
ヤマハ発動機株式会社
代理人
個人
,
個人
主分類
B62M
6/90 20100101AFI20251002BHJP(鉄道以外の路面車両)
要約
【課題】車両制御装置の通信負荷および演算負荷を低減させる。
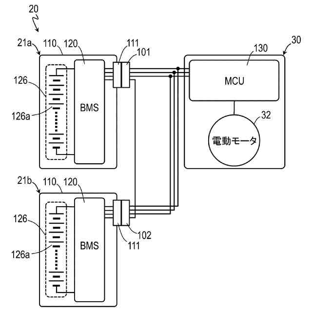
【解決手段】ある実施形態に係る小型電動車両1用のバッテリ制御システム20は、複数のバッテリパック21を備える。複数のバッテリパック21は、小型電動車両1を走行させる駆動力を発生させる電動モータ32を駆動するための電力を出力する権限を有するバッテリパック21と、権限を有さないバッテリパック21とを含む。複数のバッテリパック21の複数の制御装置120は、バッテリパック21の状態に関する内部情報を相互に送受信する。複数の制御装置120のうちの少なくとも一つは、内部情報に基づいて、複数のバッテリパック21のうちの権限を有するバッテリパック21を変更する。
【選択図】図5
特許請求の範囲
【請求項1】
小型電動車両用のバッテリ制御システムであって、
複数のバッテリパックを備え、
前記複数のバッテリパックのそれぞれは、
複数の電池セルを有するバッテリモジュールと、
前記バッテリモジュールの放電制御を行う制御装置であって、前記制御装置が内部に設けられた前記バッテリパックの状態に関する内部情報を出力する制御装置と、
前記バッテリモジュールおよび前記制御装置を内部に収容するバッテリ筐体と、
を備え、
前記複数のバッテリパックは、前記小型電動車両を走行させる駆動力を発生させる電動モータを駆動するための電力を出力する権限を有するバッテリパックと、前記権限を有さないバッテリパックとを含み、
前記複数のバッテリパックの複数の前記制御装置は、前記内部情報を相互に送受信し、
複数の前記制御装置のうちの少なくとも一つは、前記内部情報に基づいて、前記複数のバッテリパックのうちの前記権限を有するバッテリパックを変更する、バッテリ制御システム。
続きを表示(約 1,800 文字)
【請求項2】
前記内部情報は、
前記バッテリパックが動作しているかを確認するための生存情報、
異常の有無を示す情報、
前記権限の有無を示す情報、
出力可能な電流の上限値を示す情報、
バッテリ残容量を示す情報、
バッテリ容量を示す情報、
のうちの一つ以上を含む、請求項1に記載のバッテリ制御システム。
【請求項3】
前記複数のバッテリパックは、前記権限を有するバッテリパックである第1バッテリパック、および前記権限を有さないバッテリパックである第2バッテリパックを含み、
前記第1バッテリパックの前記制御装置は、前記第1バッテリパックが所定の状態であると判断した場合、前記第2バッテリパックに前記権限を譲渡することを示す指令を、前記第2バッテリパックに出力し、
前記第2バッテリパックの前記制御装置は、前記第2バッテリパックを、前記権限を有するバッテリパックに設定する、請求項1または2に記載のバッテリ制御システム。
【請求項4】
前記所定の状態は、
出力可能な電流の上限値が閾値未満である状態、
出力電圧が閾値未満である状態、
バッテリ残容量が閾値未満である状態、
温度が閾値以上である状態、
のうちの少なくとも一つである、請求項3に記載のバッテリ制御システム。
【請求項5】
前記複数のバッテリパックは、前記権限を有するバッテリパックおよび二つ以上の前記権限を有さないバッテリパックを含み、
前記権限を有するバッテリパックの前記制御装置は、
前記権限を有するバッテリパックが所定の状態であると判断した場合、
二つ以上の前記権限を有さないバッテリパックの中から、前記権限を譲渡する譲渡先バッテリパックを決定し、
前記譲渡先バッテリパックに前記権限を譲渡することを示す指令を、前記譲渡先バッテリパックに出力し、
前記譲渡先バッテリパックの前記制御装置は、前記譲渡先バッテリパックを、前記権限を有するバッテリパックに設定する、請求項1または2に記載のバッテリ制御システム。
【請求項6】
前記所定の状態は、
出力可能な電流の上限値が閾値未満である状態、
出力電圧が閾値未満である状態、
バッテリ残容量が閾値未満である状態、
温度が閾値以上である状態、
のうちの少なくとも一つである、請求項5に記載のバッテリ制御システム。
【請求項7】
前記権限を譲渡する前段階の前記権限を有するバッテリパックの前記制御装置は、
二つ以上の前記権限を有さないバッテリパックそれぞれの前記内部情報に基づいて、二つ以上の前記権限を有さないバッテリパックの中から、前記譲渡先バッテリパックを決定する、請求項5に記載のバッテリ制御システム。
【請求項8】
前記権限を譲渡する前段階の前記権限を有するバッテリパックの前記制御装置は、
二つ以上の前記権限を有さないバッテリパックのうちの、バッテリ残容量が一番大きいバッテリパック、または出力可能な電流の上限値が一番大きいバッテリパックを、前記譲渡先バッテリパックに決定する、請求項7に記載のバッテリ制御システム。
【請求項9】
前記権限を譲渡する前段階の前記権限を有するバッテリパックの前記制御装置は、
二つ以上の前記権限を有さないバッテリパックそれぞれに割り当てられた固有情報に基づいて、二つ以上の前記権限を有さないバッテリパックの中から、前記譲渡先バッテリパックを決定する、請求項5に記載のバッテリ制御システム。
【請求項10】
前記内部情報は前記生存情報を含み、
前記複数のバッテリパックは、前記権限を有するバッテリパックである第1バッテリパック、および前記権限を有さないバッテリパックである第2バッテリパックを含み、
前記第2バッテリパックの前記制御装置は、前記第1バッテリパックからの前記生存情報を受信できない場合、前記第2バッテリパックを、前記権限を有するバッテリパックに設定する、請求項2に記載のバッテリ制御システム。
(【請求項11】以降は省略されています)
発明の詳細な説明
【技術分野】
【0001】
本発明は、バッテリ制御システム、バッテリパック、小型電動車両、バッテリ制御方法およびコンピュータプログラムに関する。
続きを表示(約 1,600 文字)
【背景技術】
【0002】
電動モータを駆動源として走行する小型電動車両の一つとして、乗員がペダルを漕ぐ力を電動モータにより補助する電動補助自転車が知られている(例えば特許文献1参照)。電動モータは、車体に搭載されたバッテリパックから電力を供給されることで駆動力を発生させる。電動補助自転車では、ユーザがペダルに加えた人力に応じた駆動力を電動モータに発生させ、例えば坂道の走行時や荷物を積んでいるときのユーザの負担を減らすことができる。
【先行技術文献】
【特許文献】
【0003】
特開2007-230411号公報
【発明の概要】
【発明が解決しようとする課題】
【0004】
電動モータが補助力を発生させながら走行することが可能な距離を大きくするために、電動補助自転車に複数のバッテリパックが搭載される場合がある。この場合、電動補助自転車の走行を制御する車両制御装置(例えば、MCU(モータコントロールユニット))が、それら複数のバッテリパックの管理を行う。車両制御装置は、複数のバッテリパックの状態を監視し、電動モータへ電力を供給するバッテリパックの切り替え等の制御を行う。このため、複数のバッテリパックが搭載される電動補助自転車では、車両制御装置の通信負荷および演算負荷が増大するという課題がある。
【0005】
車両制御装置の通信負荷および演算負荷を低減させることが求められる。
【課題を解決するための手段】
【0006】
本明細書は、以下の項目に記載のバッテリ制御システム、バッテリパック、小型電動車両、バッテリ制御方法およびコンピュータプログラムを開示している。
【0007】
[項目1]
小型電動車両用のバッテリ制御システムであって、
複数のバッテリパックを備え、
前記複数のバッテリパックのそれぞれは、
複数の電池セルを有するバッテリモジュールと、
前記バッテリモジュールの放電制御を行う制御装置であって、前記制御装置が内部に設けられた前記バッテリパックの状態に関する内部情報を出力する制御装置と、
前記バッテリモジュールおよび前記制御装置を内部に収容するバッテリ筐体と、
を備え、
前記複数のバッテリパックは、前記小型電動車両を走行させる駆動力を発生させる電動モータを駆動するための電力を出力する権限を有するバッテリパックと、前記権限を有さないバッテリパックとを含み、
前記複数のバッテリパックの複数の前記制御装置は、前記内部情報を相互に送受信し、
複数の前記制御装置のうちの少なくとも一つは、前記内部情報に基づいて、前記複数のバッテリパックのうちの前記権限を有するバッテリパックを変更する、バッテリ制御システム。
【0008】
本発明のある実施形態によれば、複数のバッテリパックの間で内部情報を相互に送受信し、権限を有するバッテリパックを内部情報に基づいて変更する。車両の走行を制御する車両制御装置が、複数のバッテリパックの状態を監視して、上記権限を有するバッテリパックを変更する処理を行う必要が無くなり、車両制御装置の通信負荷および演算負荷を低減させることができる。
【0009】
[項目2]
前記内部情報は、
前記バッテリパックが動作しているかを確認するための生存情報、
異常の有無を示す情報、
前記権限の有無を示す情報、
出力可能な電流の上限値を示す情報、
バッテリ残容量を示す情報、
バッテリ容量を示す情報、
のうちの一つ以上を含む、項目1に記載のバッテリ制御システム。
【0010】
これにより、複数のバッテリパックの間で、複数のバッテリパックそれぞれの状態を互いに監視することができる。
(【0011】以降は省略されています)
この特許をJ-PlatPat(特許庁公式サイト)で参照する
関連特許
ヤマハ発動機株式会社
船舶推進機
1か月前
ヤマハ発動機株式会社
リーン車両
1か月前
ヤマハ発動機株式会社
船舶推進機
1か月前
ヤマハ発動機株式会社
船舶推進機
1か月前
ヤマハ発動機株式会社
船舶推進機
1か月前
ヤマハ発動機株式会社
鞍乗型車両
26日前
ヤマハ発動機株式会社
鞍乗型車両
26日前
ヤマハ発動機株式会社
船舶推進機
1か月前
ヤマハ発動機株式会社
鞍乗型車両
1か月前
ヤマハ発動機株式会社
生産システム
29日前
ヤマハ発動機株式会社
ワーク搭載装置
26日前
ヤマハ発動機株式会社
テープフィーダ
29日前
ヤマハ発動機株式会社
ワーク計測装置
13日前
ヤマハ発動機株式会社
自動操船システム及び方法
26日前
ヤマハ発動機株式会社
ノズル収容構造体および部品実装機
13日前
三井化学株式会社
ドローン用ブレード
1か月前
ヤマハ発動機株式会社
基板の生産システム、及び画像解析装置
5日前
ヤマハ発動機株式会社
駆動ユニットおよび電動アシスト自転車
1か月前
ヤマハ発動機株式会社
船舶を制御するためのシステム及び方法
13日前
ヤマハ発動機株式会社
船舶を制御するためのシステムおよび方法
26日前
ヤマハ発動機株式会社
船舶を遠隔操船するためのシステム及び方法
26日前
ヤマハ発動機株式会社
操船システム、操船システムの制御方法及び船舶
5日前
ヤマハ発動機株式会社
無段変速機、及び無段変速機を備える鞍乗型車両
1か月前
ヤマハ発動機株式会社
無段変速機、及び無段変速機を備える鞍乗型車両
1か月前
ヤマハ発動機株式会社
テープ回収装置および同装置を備えた部品実装装置
1か月前
ヤマハ発動機株式会社
無段変速機、及び、無段変速機を有する鞍乗型車両
1か月前
ヤマハ発動機株式会社
無段変速機、及び、無段変速機を有する鞍乗型車両
1か月前
ヤマハ発動機株式会社
エンジンユニット、及びエンジンユニットを備える鞍乗型車両
1か月前
ヤマハ発動機株式会社
オペレータ検出システム
21日前
ヤマハ発動機株式会社
バッテリ制御システム、バッテリパック、小型電動車両、バッテリ制御方法およびコンピュータプログラム
1か月前
エンシュウコネクティッド株式会社
タップ加工装置およびタップ工具のチッピング検出用コンピュータプログラム
13日前
ヤマハ発動機株式会社
真空浸炭処理が施された歯車、真空浸炭処理が施された歯車を有するエンジンユニット、及び真空浸炭処理が施された歯車を有する鞍乗型車両
1か月前
個人
カート
4か月前
個人
走行装置
5か月前
個人
三輪バイク
1か月前
個人
台車
13日前
続きを見る
他の特許を見る