TOP
|
特許
|
意匠
|
商標
特許ウォッチ
Twitter
他の特許を見る
10個以上の画像は省略されています。
公開番号
2025150072
公報種別
公開特許公報(A)
公開日
2025-10-09
出願番号
2024050751
出願日
2024-03-27
発明の名称
微小物体の捕集基板およびその製造方法
出願人
株式会社村田製作所
代理人
弁護士法人クレオ国際法律特許事務所
主分類
C12M
1/26 20060101AFI20251002BHJP(生化学;ビール;酒精;ぶどう酒;酢;微生物学;酵素学;突然変異または遺伝子工学)
要約
【課題】 マイクロバブルの生成の核となる空気を細孔内に留めておくことが可能な微小物体の捕集基板およびその製造方法を提供する。
【解決手段】 捕集基板10の表面には、空気を保持できる多数の細孔12aが形成されている。この細孔12aは、捕集基板10の土台となるガラス基板11の表面に多孔膜として形成されたレジスト膜12の凹部に形成される。レジスト膜12の頭部および細孔12aの底面には薄膜13が形成されている。薄膜13は、レーザ光源41~49から照射されるレーザ光L1~L9を熱に変換する光熱変換領域を構成する。薄膜13を覆う捕集基板10の表面には撥水膜14が形成されている。
【選択図】 図3
特許請求の範囲
【請求項1】
基板表面に形成される、空気を保持できる複数の細孔を有する多孔膜と、
前記多孔膜を覆う前記基板表面に形成される、光源から照射される光を熱に変換する光熱変換領域と、
前記光熱変換領域を覆う前記基板表面に形成される、撥水性を有する撥水膜とを備える、
前記多孔膜を浸す液体中に分散した複数の微小物体を捕集する微小物体の捕集基板。
続きを表示(約 710 文字)
【請求項2】
前記撥水膜は、前記光熱変換領域の表面の親水基が疎水基に置換されて形成されていることを特徴とする請求項1に記載の微小物体の捕集基板。
【請求項3】
前記細孔は、開口面積を底面積よりも小さくする逆テーパー形状の縦断面形状をしていることを特徴とする請求項1または請求項2に記載の微小物体の捕集基板。
【請求項4】
前記細孔は、開口径が直径5μm以下の大きさであることを特徴とする請求項1または請求項2に記載の微小物体の捕集基板。
【請求項5】
前記多孔膜は、光源から光が照射される領域にのみ複数の前記細孔が形成されることを特徴とする請求項1または請求項2に記載の微小物体の捕集基板。
【請求項6】
空気を保持できる複数の細孔を有する多孔膜を基板表面に形成する工程と、
前記多孔膜を覆う基板表面に、光源から照射される光を熱に変換する光熱変換領域を形成する工程と、
基板表面を所定温度の雰囲気下でシランカップリング剤の蒸気および水蒸気に所定時間曝して、撥水性を有する撥水膜を前記光熱変換領域を覆う基板表面に形成する工程とを備える、
前記多孔膜を浸す液体中に分散した複数の微小物体を捕集する微小物体の捕集基板の製造方法。
【請求項7】
前記多孔膜はBreath Figure法によって形成されることを特徴とする請求項6に記載の微小物体の捕集基板の製造方法。
【請求項8】
前記多孔膜はトラックエッチング法によって形成されることを特徴とする請求項6に記載の微小物体の捕集基板の製造方法。
発明の詳細な説明
【技術分野】
【0001】
本発明は、液体に分散する複数の微小物体を捕集する捕集基板およびその製造方法に関するものである。
続きを表示(約 1,900 文字)
【背景技術】
【0002】
従来、この種の微小物体の捕集基板としては、例えば、特許文献1の図20に集積キットとして開示されたものがある。
【0003】
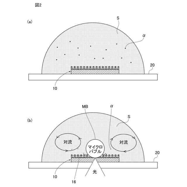
この集積キットは、基板と、ハニカム高分子膜と、薄膜とから構成され、ハニカム高分子膜には微小物体である細菌を含んだ液体が滴下される。基板にはカバーガラスが用いられ、ハニカム高分子膜の材料には樹脂が用いられる。薄膜はレーザ光を吸収して光エネルギーを熱エネルギーに変換する材料からなる。光線が薄膜に照射され、液体が加熱されることで、光線の照射位置にマイクロバブルが発生する。発生したマイクロバブルにより特定方向に液体の対流が生じ、マイクロバブルの近傍領域に複数の微小物体が集積する。
【先行技術文献】
【特許文献】
【0004】
国際公開第2020/218347号
【発明の概要】
【発明が解決しようとする課題】
【0005】
しかしながら、上記従来の微小物体の捕集基板においては、微小物体を含む液体を基板上に滴下すると、多孔膜であるハニカム高分子膜の細孔内に水が浸入する。したがって、微小物体の捕集時に必要とされるマイクロバブルの生成の核となる空気が、細孔内に保持できないか、あるいは、保持できても直ぐに放出されて泡抜けする。このため、マイクロバブルの生成の核となる空気を新たに生じさせるために、光熱変換領域である薄膜に高強度のレーザ光を照射する必要が生じる。この結果、微小物体の捕集装置の使用上、利便性に欠ける面があった。
【0006】
本発明は、このような課題を解決するべく、マイクロバブルの生成の核となる空気を細孔内に留めておくことが可能な微小物体の捕集基板およびその製造方法を提供することを目的とする。
【課題を解決するための手段】
【0007】
このために、本発明は、
基板表面に形成される、空気を保持できる複数の細孔を有する多孔膜と、
多孔膜を覆う基板表面に形成される、光源から照射される光を熱に変換する光熱変換領域と、
光熱変換領域を覆う基板表面に形成される、撥水性を有する撥水膜とを備える、
多孔膜を浸す液体中に分散した複数の微小物体を捕集する微小物体の捕集基板を構成した。
【0008】
本構成によれば、光熱変換領域を覆う基板表面に撥水膜があるため、微小物体を含む液体を基板上に滴下する際も、液体が多孔膜の細孔内に侵入するのが撥水膜によって阻止されて、多孔膜の細孔内に空気が保持され続けるようになる。このため、マイクロバブルの生成の核となる空気を従来のように新たに生成する必要がなくなり、光熱変換領域に照射するレーザー光の強度を高くすることなく、マイクロバブルの近傍に微小物体を捕集することが可能となる。この結果、微小物体の捕集装置の使用上における利便性が向上する。
【0009】
また、本発明は、
空気を保持できる複数の細孔を有する多孔膜を基板表面に形成する工程と、
多孔膜を覆う基板表面に、光源から照射される光を熱に変換する光熱変換領域を形成する工程と、
基板表面を所定温度の雰囲気下でシランカップリング剤の蒸気および水蒸気に所定時間曝して、撥水性を有する撥水膜を光熱変換領域を覆う基板表面に形成する工程とを備える、
多孔膜を浸す液体中に分散した複数の微小物体を捕集する微小物体の捕集基板の製造方法を構成した。
【0010】
本構成によれば、基板表面を所定温度の雰囲気下でシランカップリング剤の蒸気および水蒸気に所定時間曝すことで、光熱変換領域の表面の親水基が疎水基に置換されて、光熱変換領域を覆う基板表面に撥水性を有する撥水膜が形成される。このため、この撥水膜により、上記のように、微小物体を含む液体を基板上に滴下する際も、液体が多孔膜の細孔内に侵入するのが撥水膜によって阻止されて、多孔膜の細孔内に空気が保持され続けるようになる。このため、本構成によっても、マイクロバブルの生成の核となる空気を従来のように新たに生成する必要がなくなり、光熱変換領域に照射するレーザー光の強度を高くすることなく、マイクロバブルの近傍に微小物体を捕集することが可能となる。この結果、微小物体の捕集装置の使用上における利便性が向上する。
【発明の効果】
(【0011】以降は省略されています)
この特許をJ-PlatPat(特許庁公式サイト)で参照する
関連特許
個人
抗遺伝子劣化装置
1か月前
個人
細胞内探査とその利用
1か月前
雪国アグリ株式会社
単糖類の製造方法
3日前
個人
細胞培養容器
3か月前
日本バイリーン株式会社
細胞用支持基材
3か月前
杏林製薬株式会社
核酸検出用PCR溶液
4か月前
株式会社タクマ
バイオマス処理装置
2か月前
東洋紡株式会社
改変型RNAポリメラーゼ
3か月前
テルモ株式会社
吐出デバイス
1か月前
サッポロビール株式会社
飲料
4か月前
日油株式会社
蛋白質安定化剤
3か月前
株式会社タクマ
バイオマス処理装置
2か月前
株式会社東洋新薬
経口組成物
1か月前
東ソー株式会社
pH応答性マイクロキャリア
1か月前
宝酒造株式会社
アルコール飲料
12日前
テルモ株式会社
容器蓋デバイス
1か月前
島根県
油吸着材とその製造方法
1日前
大陽日酸株式会社
培養装置
1か月前
大陽日酸株式会社
培養装置
1か月前
トヨタ自動車株式会社
バイオ燃料製造方法
1か月前
株式会社ファンケル
SEC12タンパク発現促進剤
2か月前
株式会社豊田中央研究所
細胞励起装置
10日前
株式会社東海ヒット
灌流培養ユニット
3か月前
個人
ナノ微粒子の製造方法
4か月前
アサヒビール株式会社
柑橘風味アルコール飲料
3か月前
オンキヨー株式会社
浸漬酒の製造方法、及び、浸漬酒
3か月前
アサヒビール株式会社
柑橘風味アルコール飲料
3か月前
テルモ株式会社
採取組織細切補助デバイス
1か月前
株式会社シャローム
スフィンゴミエリン製造方法
1か月前
株式会社今宮
瓶詰ビールの加熱殺菌方法および装置
1か月前
横河電機株式会社
藻類培養装置
22日前
新東工業株式会社
培養システム
2日前
株式会社村田製作所
濾過装置および濾過方法
2日前
株式会社ショウワ
キトサンオリゴマー分画方法
12日前
公立大学法人北九州市立大学
微生物の検知方法
1か月前
住友金属鉱山株式会社
連続発酵方法及び連続発酵装置
1か月前
続きを見る
他の特許を見る