TOP
|
特許
|
意匠
|
商標
特許ウォッチ
Twitter
他の特許を見る
10個以上の画像は省略されています。
公開番号
2025149112
公報種別
公開特許公報(A)
公開日
2025-10-08
出願番号
2024049566
出願日
2024-03-26
発明の名称
糸巻取装置
出願人
TMTマシナリー株式会社
,
東レ株式会社
代理人
弁理士法人ATEN
主分類
B65H
67/048 20060101AFI20251001BHJP(運搬;包装;貯蔵;薄板状または線条材料の取扱い)
要約
【課題】糸を巻き取るボビンの切り換えを安定して行うことができるようにする。
【解決手段】ターレットを回転させて巻取位置となるボビンBを切り換える切換動作時に、糸Yを巻取位置のボビンBにおける巻取領域Wよりも前方側に形成されたスリットSに向けて移動させる糸保持部材43と、切換動作時に、糸走行方向において糸保持部材43よりも下流側で走行する糸YがスリットSに向けて移動するのを規制する規制ガイド28と、を備える。制御部は、テーパ巻きを行い、切換動作時においてターレットを回転させる前に、トラバースガイド22の往復幅がテーパ巻きを行う際の最小往復幅Lminよりも狭い切換時幅Lsとなるように制御する。規制ガイド28は、前後方向に関して切換時幅Lsで往復移動するトラバースガイド22の移動領域よりもスリットS側であり、且つ、最小往復幅Lminで往復移動するトラバースガイド22の移動領域内に配置されている。
【選択図】図7
特許請求の範囲
【請求項1】
糸を巻取位置にあるボビンの巻取領域に巻き取ってパッケージを形成する糸巻取装置であって、
前記ボビンが前記ボビンの軸方向が一方向に沿う姿勢で装着される2つの装着部と、
前記2つの装着部を支持すると共に、前記一方向に沿って延びる回転軸を中心に回転することで、前記2つの装着部のうちの一方の装着部に装着された前記ボビンが前記巻取位置となり且つ他方の装着部に装着された前記ボビンが前記巻取位置とは異なる待機位置となる状態と、前記一方の装着部に装着された前記ボビンが前記待機位置となり且つ前記他方の装着部に装着された前記ボビンが前記巻取位置となる状態と、を取り得る回転体と、
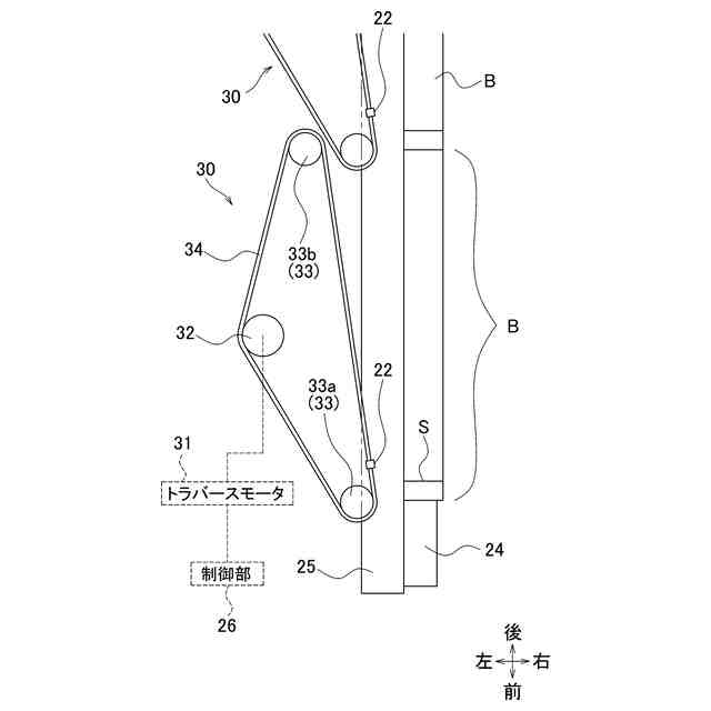
糸走行方向において前記巻取位置よりも上流側に配置されており、走行する糸を綾振りするためのトラバースガイドと、
前記トラバースガイドを少なくとも前記一方向に往復移動させるトラバース駆動手段と、
前記トラバース駆動手段による前記トラバースガイドの前記往復移動の往復幅を制御可能なトラバース制御手段と、
前記回転体を回転させて前記巻取位置にある前記ボビンと前記待機位置にある前記ボビンとを切り換える切換動作時において、前記待機位置に移動した前記パッケージにつながった糸であって糸走行方向において前記巻取位置よりも下流側で走行する糸を、前記一方向に関して前記巻取位置の前記ボビンにおける前記巻取領域よりも前記一方向の一方側に形成された糸掛部に向けて移動させる移動ガイドと、
前記切換動作時において、前記待機位置に移動した前記パッケージにつながった糸であって糸走行方向において前記移動ガイドよりも下流側で走行する糸が前記一方向に関して前記糸掛部に向けて移動するのを規制する規制部材と、を備えており、
前記トラバース制御手段は、前記糸を前記ボビンに巻き取る際に前記往復幅を次第に小さくしてテーパ巻きを行い、前記切換動作時において前記回転体を回転させる前に、前記トラバースガイドが前記テーパ巻きを行う際の最小往復幅での移動領域内で前記最小往復幅よりも狭い切換時幅で往復移動するように制御し、
前記規制部材は、前記一方向に関して前記切換時幅で往復移動する前記トラバースガイドの移動領域よりも前記糸掛部側であり、且つ、前記最小往復幅で往復移動する前記トラバースガイドの移動領域内に配置されている糸巻取装置。
続きを表示(約 190 文字)
【請求項2】
前記最小往復幅をLminとしたとき、
前記規制部材は、前記最小往復幅で往復移動する前記トラバースガイドの移動領域において前記一方向に関して前記糸掛部側の端よりも0.1Lmin以上内側に配置されている請求項1に記載の糸巻取装置。
【請求項3】
前記各装着部は、複数の前記ボビンを前記一方向に並べて装着可能である請求項1又は2に記載の糸巻取装置。
発明の詳細な説明
【技術分野】
【0001】
本発明は、ボビンに糸を巻き取ってパッケージを形成する糸巻取装置に関する。
続きを表示(約 3,000 文字)
【背景技術】
【0002】
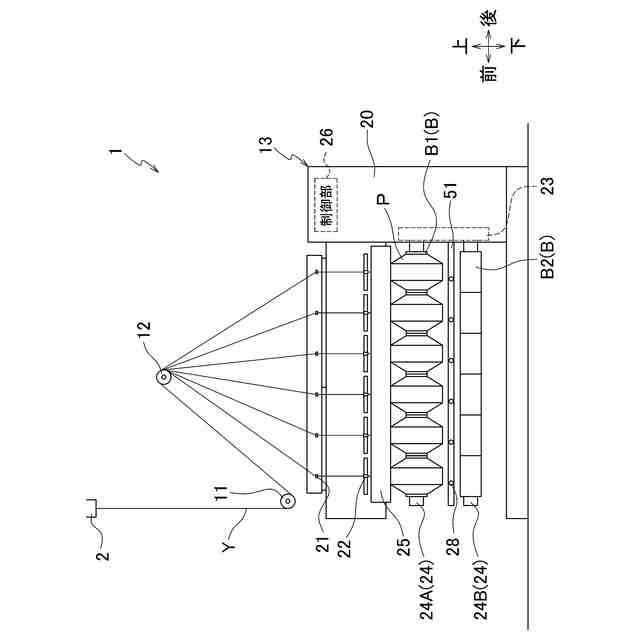
特許文献1には、紡糸機から紡出された糸をボビンに巻き取ってパッケージを形成する糸条巻取機(糸巻取装置)が開示されている。かかる糸条巻取機は、それぞれ複数のボビンが装着される2本のボビンホルダ(装着部)と、2本のボビンホルダを回転自在に支持し、且つ、自らも回転可能なターレット(回転体)と、を備えている。ターレットを回転させることで、一方のボビンホルダに装着されたボビンが巻取位置となり且つ他方のボビンホルダに装着されたボビンが待機位置となる状態と、一方のボビンホルダに装着されたボビンが待機位置となり且つ他方のボビンホルダに装着されたボビンが巻取位置となる状態と、を取り得る。そして、トラバースガイドによって糸を綾振りさせつつ、巻取位置にある各ボビンに糸を巻き取ってパッケージを形成する。
【先行技術文献】
【特許文献】
【0003】
特開2011-084362号公報
【発明の概要】
【発明が解決しようとする課題】
【0004】
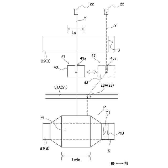
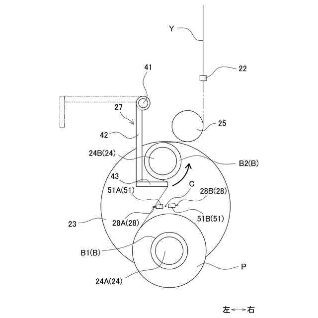
上述のような糸巻取装置において、糸を巻き取るボビンの切り換えを行う際には、ターレットを回転させてパッケージが装着されたボビンホルダを待機位置とし、空のボビンが装着されたボビンホルダを巻取位置とする。このとき、未だ待機位置のパッケージに糸がつながっている状態である。そして、巻取位置の空のボビンに対して糸掛けを行う。糸掛けとは、ボビンにおける軸方向の端部近傍に設けられたスリットに糸を捕捉させることである。糸掛け時には、ボビンの軸方向に沿ってスライド可能な移動ガイドにより、待機位置のパッケージにつながっている糸を軸方向の一方側(空のボビンのスリットが形成されている側)に寄せる。
【0005】
このとき、移動ガイドにより糸が寄せられることで、パッケージの表層の糸が軸方向の外側に落ちるおそれがある。パッケージの表層の糸が落ちると、糸の張力が低下するので空のボビンへの糸掛けに失敗してしまう。そこで、パッケージの表層の糸が落ちるのを避けるために、糸走行方向において移動ガイドよりも下流側において軸方向に関する糸の移動を規制する規制部材を配置することが考えられる。かかる規制部材は、一定のトラバース幅で糸の巻き取りを行う場合は、糸が一定のトラバース幅よりも外側に移動するのを規制する位置に配置する。
【0006】
一方、トラバース幅を次第に小さくしてテーパ巻きを行う場合は、上記の規制部材は、糸が最小のトラバース幅(パッケージが満巻であるときのトラバース幅)よりも外側に移動するのを規制する位置に配置する。この場合、パッケージが満巻となる前、すなわちトラバース幅が最小ではないときに糸を巻き取るボビンの切り換えを行うべくターレットを回転させると、糸が軸方向に関して規制部材よりも一方側に位置する状態となるおそれがある。この状態で、移動ガイドにより糸を軸方向の一方側に寄せるとパッケージの表層から糸が落ちて空ボビンへの糸掛けに失敗してしまうので、ボビンの切り換えを安定して行うことができない。
【0007】
本発明の目的は、テーパ巻きを行う際に、糸を巻き取るボビンの切り換えを安定して行うことができる糸巻取装置を提供することである。
【課題を解決するための手段】
【0008】
第1の発明にかかる糸巻取装置は、糸を巻取位置にあるボビンの巻取領域に巻き取ってパッケージを形成する糸巻取装置であって、前記ボビンが前記ボビンの軸方向が一方向に沿う姿勢で装着される2つの装着部と、前記2つの装着部を支持すると共に、前記一方向に沿って延びる回転軸を中心に回転することで、前記2つの装着部のうちの一方の装着部に装着された前記ボビンが前記巻取位置となり且つ他方の装着部に装着された前記ボビンが前記巻取位置とは異なる待機位置となる状態と、前記一方の装着部に装着された前記ボビンが前記待機位置となり且つ前記他方の装着部に装着された前記ボビンが前記巻取位置となる状態と、を取り得る回転体と、糸走行方向において前記巻取位置よりも上流側に配置されており、走行する糸を綾振りするためのトラバースガイドと、前記トラバースガイドを少なくとも前記一方向に往復移動させるトラバース駆動手段と、前記トラバース駆動手段による前記トラバースガイドの前記往復移動の往復幅を制御可能なトラバース制御手段と、前記回転体を回転させて前記巻取位置にある前記ボビンと前記待機位置にある前記ボビンとを切り換える切換動作時において、前記待機位置に移動した前記パッケージにつながった糸であって糸走行方向において前記巻取位置よりも下流側で走行する糸を、前記一方向に関して前記巻取位置の前記ボビンにおける前記巻取領域よりも前記一方向の一方側に形成された糸掛部に向けて移動させる移動ガイドと、前記切換動作時において、前記待機位置に移動した前記パッケージにつながった糸であって糸走行方向において前記移動ガイドよりも下流側で走行する糸が前記一方向に関して前記糸掛部に向けて移動するのを規制する規制部材と、を備えている。前記トラバース制御手段は、前記糸を前記ボビンに巻き取る際に前記往復幅を次第に小さくしてテーパ巻きを行い、前記切換動作時において前記回転体を回転させる前に、前記トラバースガイドが前記テーパ巻きを行う際の最小往復幅での移動領域内で前記最小往復幅よりも狭い切換時幅で往復移動するように制御する。前記規制部材は、前記一方向に関して前記切換時幅で往復移動する前記トラバースガイドの移動領域よりも前記糸掛部側であり、且つ、前記最小往復幅で往復移動する前記トラバースガイドの移動領域内に配置されている。
【0009】
本発明では、切換動作時において回転体を回転させる前に、トラバースガイドの往復幅がテーパ巻きを行う際の最小往復幅よりも狭い切換時幅となる。また、規制部材は、切換時幅で往復移動するトラバースガイドの移動領域よりも一方向に関して糸掛部側に配置されている。したがって、切換動作時において回転体を回転させたとき、待機位置に移動したパッケージにつながった糸が一方向に関して規制部材よりも糸掛部側となるのを避けることができる。さらに、規制部材は、最小往復幅で往復移動するトラバースガイドの移動領域内に配置されている。したがって、移動ガイドにより糸を糸掛部に向けて移動させたときに、待機位置に移動したパッケージにつながった糸がテーパ巻きを行う際の最小往復幅よりも外側へ移動するのを規制部材により規制できる。よって、パッケージの表層から糸が落ちるのを抑制できる。したがって、空のボビンへの糸掛けの失敗を抑制し、糸を巻き取るボビンの切り換えを安定して行うことができる。
【0010】
第2の発明にかかる糸巻取装置では、第1の発明において、前記最小往復幅をLminとしたとき、前記規制部材は、前記最小往復幅で往復移動する前記トラバースガイドの移動領域において前記一方向に関して前記糸掛部側の端よりも0.1Lmin以上内側に配置されている。
(【0011】以降は省略されています)
この特許をJ-PlatPat(特許庁公式サイト)で参照する
関連特許
TMTマシナリー株式会社
糸巻取機
10日前
個人
収容箱
3か月前
個人
コンベア
5か月前
個人
段ボール箱
7か月前
個人
ゴミ収集器
7か月前
個人
容器
9か月前
個人
段ボール箱
7か月前
個人
バンド
2か月前
個人
楽ちんハンド
5か月前
個人
土嚢運搬器具
8か月前
個人
宅配システム
7か月前
個人
角筒状構造体
5か月前
個人
棒状体収容容器
今日
個人
廃棄物収容容器
3か月前
個人
お薬の締結装置
6か月前
個人
包装容器
1か月前
個人
コード類収納具
8か月前
個人
閉塞装置
10か月前
株式会社和気
包装用箱
10日前
株式会社和気
包装用箱
9か月前
個人
ゴミ処理機
9か月前
個人
積み重ね用補助具
3か月前
株式会社バンダイ
物品
1か月前
株式会社コロナ
梱包材
5か月前
個人
蓋閉止構造
4か月前
個人
貯蔵サイロ
7か月前
個人
把手付米袋
5か月前
個人
蓋閉止構造
4か月前
個人
袋入り即席麺
7か月前
三甲株式会社
容器
14日前
三甲株式会社
容器
2か月前
株式会社ナベル
検査装置
8日前
三甲株式会社
容器
6か月前
三甲株式会社
容器
6か月前
株式会社新弘
容器
3か月前
個人
コード折り畳み器具
4か月前
続きを見る
他の特許を見る