TOP
|
特許
|
意匠
|
商標
特許ウォッチ
Twitter
他の特許を見る
10個以上の画像は省略されています。
公開番号
2025148281
公報種別
公開特許公報(A)
公開日
2025-10-07
出願番号
2025040541
出願日
2025-03-13
発明の名称
時計組立体の製造方法、及び時計組立体
出願人
ロレックス・ソシエテ・アノニム
,
ROLEX SA
代理人
弁理士法人第一国際特許事務所
主分類
G04B
37/22 20060101AFI20250930BHJP(時計)
要約
【課題】信頼性があり、耐久性があり、簡単に実施可能な、時計組立体解決策を提供する。
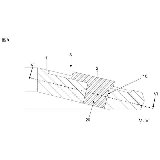
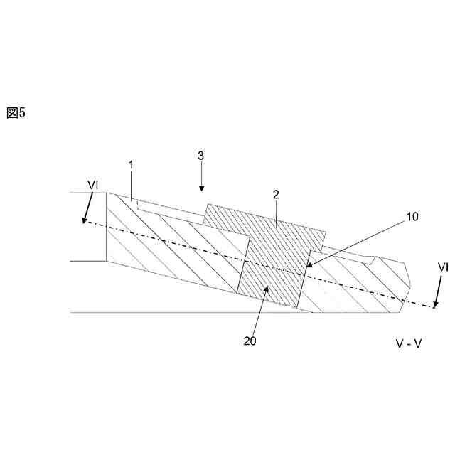
【解決手段】少なくとも1つの開口10を含む接続部分を含む、第一時計部品1と、第一時計部品1とは別個の、少なくとも1つの適合構造20を含む、少なくとも1つの第二時計部品2とを含む、時計組立体3の製造方法であって、第一時計部品1の接続部分及びまたは第二時計部品2の適合構造は、焼結ジルコニアに基づくパーツを形成し、方法は、結合の熱処理ステップを含み、熱処理は、焼結ジルコニアに基づくパーツの、正方晶相から単斜晶相への、またはその逆の、相変化を引き起こすよう予め定義され、相変化は、第一時計部品1の接続部分と、第二時計部品2の適合構造とを結合するよう、少なくとも焼結ジルコニアに基づくパーツの寸法の変化を引き起こす、時計組立体の製造方法。
【選択図】図5
特許請求の範囲
【請求項1】
少なくとも1つの開口(10)を含む接続部分を含む、第一時計部品(1)と、前記第一時計部品(1)とは別個の、少なくとも1つの適合構造(20)を含む、少なくとも1つの第二時計部品(2)とを含む、時計組立体(3)の製造方法であって、前記第一時計部品(1)の前記接続部分及びまたは前記第二時計部品(2)の前記適合構造は、焼結ジルコニアに基づくパーツを形成し、方法は、結合の熱処理ステップを含み、前記熱処理は、焼結ジルコニアに基づく前記パーツの、正方晶相から単斜晶相への、またはその逆の、相変化を引き起こすよう予め定義され、前記相変化は、前記第一時計部品(1)の前記接続部分と、前記第二時計部品(2)の前記適合構造とを結合するよう、少なくとも焼結ジルコニアに基づく前記パーツの寸法の変化を引き起こす、
時計組立体の製造方法。
続きを表示(約 2,300 文字)
【請求項2】
前記第二時計部品(2)の前記適合構造(20)は、焼結ジルコニアに基づく前記パーツを形成し、方法は、
前記第二時計部品(2)の前記少なくとも1つの適合構造(20)が、前記第一時計部品(1)の前記接続部分の前記少なくとも1つの開口(10)内に位置決めされるよう、前記2つの時計部品(1、2)を中間形態に組み立てる、
前記時計組立体(3)の前記第一及び第二時計部品を最終形態に結合するため、前記中間形態の前記時計組立体(3)を、前記第二時計部品(2)の前記少なくとも1つの適合構造(20)の膨張を引き起こす、前記第二時計部品(2)の前記適合構造(20)の前記ジルコニアの前記正方晶相から前記単斜晶相への相変化を引き起こすよう、結合の前記熱処理に曝す、
ステップを含む、
請求項1に記載の時計組立体を製造する方法。
【請求項3】
前記第一時計部品(1)の前記接続部分は、焼結ジルコニアに基づく前記パーツを形成し、方法は、
前記第一時計部品(1)の前記少なくとも1つの開口(10)の拡大を引き起こす第一相変化であって、前記接続部分の前記ジルコニアの前記正方晶相から前記単斜晶相への第一相変化を引き起こすよう、前記第一時計部品(1)を予備熱処理に曝す、
前記第二時計部品(2)の前記少なくとも1つの適合構造(20)が、前記第一時計部品(1)の前記接続部分の前記少なくとも1つの開口(10)内に位置決めされるよう、前記2つの時計部品(1、2)を中間形態に組み立てる、
前記時計組立体(3)の前記第一及び第二時計部品を最終形態に結合するため、前記中間形態の前記時計組立体(3)を、前記第一時計部品(1)の前記少なくとも1つの開口(10)の収縮を引き起こす、前記第一時計部品(1)の前記接続部分の前記ジルコニアの前記単斜晶相から前記正方晶相への第二相変化を引き起こすよう、結合の前記熱処理に曝す、
ステップを含む、
請求項1に記載の時計組立体(3)を製造する方法。
【請求項4】
前記予備熱処理は、環境気圧下で、更には2atmより低い圧力下で、100から400℃の間の温度で実施される、
請求項3に記載の時計組立体を製造する方法。
【請求項5】
前記結合の熱処理は、環境気圧下で、更には2atmより低い圧力下で、1100以上1300℃以下の間の温度で実施される、または環境気圧下で、更には2atmより低い圧力下で、100から400℃の間の温度で実施される、
請求項1から4のいずれか一項に記載の時計組立体を製造する方法。
【請求項6】
前記2つの時計部品のうちの一方は、焼結ジルコニアに基づく前記パーツを含み、前記2つの時計部品の他方は、前記結合の熱処理中の焼結ジルコニアに基づく前記少なくとも1つのパーツの寸法の前記変化に対して、無視可能な寸法の変化を有する素材製である、
請求項1から5のいずれか一項に記載の時計組立体を製造する方法。
【請求項7】
前記2つの時計部品の他方の全部または一部は、焼結ジルコニアに基づく前記パーツと異なるまたは同一のジルコニア、アルミナ(Al
2
O
3
)、窒化ケイ素(Si
3
N
4
)、窒化ホウ素BN、炭化ホウ素B
4
C、炭化ケイ素(SiC)、窒化アルミニウム(AlN)、Ti,Zr、及びHfのホウ化物及び窒化物、サファイア、ルビーまたは結晶水晶といった工業用セラミックに基づく、または前記2つの時計部品の他方の全部または一部は、金属、サーメット、または溶融石英ガラスといったガラスといった耐熱材料製である、
請求項6に記載の時計組立体を製造する方法。
【請求項8】
前記第一時計部品(1)の前記接続部分の前記少なくとも開口(10)の断面は、50mm以下の、更には30mm以下の、更には5mm以下の、更には3mm以下の、更には2mm以下の、更には1mm以下の、更には0.5mm以下の直径を有する円に内接される、及びまたは前記予備熱処理後の焼結ジルコニアに基づく前記少なくとも1つのパーツの寸法の前記変化は、0.4%と1.5%の間である、及びまたは前記少なくとも1つの適合構造(20)は、前記第一時計部品(1)の前記接続部分の前記少なくとも1つの開口(10)の寸法に実質的に等しい寸法を有する、
請求項1から7のいずれか一項に記載の時計組立体を製造する方法。
【請求項9】
前記第一時計部品(1)の前記接続部分の前記少なくとも1つの開口(10)は、円柱状または非円柱状形状を、とりわけ円錐状または長円形または楕円形または多角形状を有する、または多角形断面または歯を含む断面を、または1以上の平らなパーツを有する断面を有する、及びまたは前記第二時計部品(2)の前記少なくとも1つの適合構造(20)は、前記第一時計部品(1)の前記接続部分の前記開口(10)の形状に補完的な形状を有する、
請求項1から8のいずれか一項に記載の時計組立体を製造する方法。
【請求項10】
前記時計組立体(3)は、前記第二時計部品(2)と、前記第一時計部品(1)に組付けられた少なくとも1つの第三時計部品とを含む、または前記第二時計部品(2)は、前記第一時計部品のそれぞれの開口(10)と協働する複数の適合構造(20)を含む、
請求項1から9のいずれか一項に記載の時計組立体を製造する方法。
(【請求項11】以降は省略されています)
発明の詳細な説明
【技術分野】
【0001】
本発明は、少なくとも2つの時計部品からなる時計組立体に関する。本発明はまた、少なくとも1つの当該時計組立体を含む、時計ムーブメント及び時計に関する。本発明はまた、当該時計組立体を製造する方法に関する。
続きを表示(約 1,700 文字)
【背景技術】
【0002】
セラミックは、その固有の機械的性質のため、とりわけその硬度のため、例えば時計心棒を形成するために、時計への使用が増加しており、セラミックの磁界への非感受性は、多数の時計部品にとって非常に有利である。また、セラミックを、時計外部部品に用いることが知られている。
【0003】
時計部品を組み立てる伝統的解決策は、関連する部品の少なくとも1つがセラミック製である場合、細心の注意を要するものである。いくつかの解決策は、組立品の第二部品がセラミック製でない場合に、第二部品の性質を活用するものである。このため、こうした解決策は、組立体の第二部品の製作に制約を課すことになる。更に、こうした解決策は、例えば両者がセラミック製の2つの時計部品を組み立てる場合に、必ずしも適切ではない。このような場合、糊付けを使用することが知られているが、これは、糊の量の完全な制御と、糊が固化し乾燥する際に部品を整列させ、その整列を継続することを必要とするという第一の欠点と、経時的な糊の予期される劣化に依拠するという第二の欠点を有する。代替的に、打ち込みにより2つのセラミック時計部品を互いに固定することを試みることもできるが、これは打ち込み力が部品の一つを破損する危険性があるため、複雑である。更に、打ち込みは、特にセラミック部品が部品を脆弱にする形状を有する際に、不適切である。
【先行技術文献】
【特許文献】
【0004】
欧州特許出願公開第1857428号明細書
【発明の概要】
【発明が解決しようとする課題】
【0005】
このため、本発明の目的は、時計組立体の製造を改善する、そしてとりわけセラミックの使用に特に適した、また2つのセラミック部品を組み立てることを伴う時計組立体に特に適した、時計組立体解決策を定義することである。
【0006】
より具体的には、本発明の目的は、信頼性があり、耐久性があり、簡単に実施可能な、時計組立体解決策を定義することである。
【課題を解決するための手段】
【0007】
このため、本発明は、少なくとも1つの開口を含む接続部分を含む、第一時計部品と、前記第一時計部品とは別個の、少なくとも1つの適合構造を含む、少なくとも1つの第二時計部品とを含む、時計組立体の製造方法であって、前記第一時計部品の前記接続部分及びまたは前記第二時計部品の前記適合構造は、焼結ジルコニアに基づくパーツを形成し、方法は、熱処理による結合のステップを含み、前記熱処理は、焼結ジルコニアに基づく前記パーツの、前記正方晶相から前記単斜晶相への、またはその逆の、相変化を引き起こすよう予め定義され、前記相変化は、前記第一時計部品の前記接続部分と、前記第二時計部品の前記適合構造とを結合するよう、少なくとも焼結ジルコニアに基づく前記パーツの前記寸法の変化を引き起こす、時計組立体の製造方法に基づく。
【0008】
本発明はまた、少なくとも1つの開口を含む正方晶相ジルコニアに基づく接続部分を含む、第一時計部品と、少なくとも1つの適合構造を含む、少なくとも1つの別個の第二時計部品とを含む、または少なくとも1つの開口を含む接続部分を含む、第一時計部品と、単斜晶相ジルコニアに基づく少なくとも1つの適合構造を含む、少なくとも1つの別個の第二時計部品とを含む、時計組立体であって、前記第一時計部品と前記第二時計部品は、前記第二時計部品の前記少なくとも1つの適合構造へ、前記第一時計部品の前記開口の変形なくしてクランプされる、時計組立体に関する。
【0009】
本発明は、より具体的には、請求項で定義される。
【0010】
本発明の目的、特徴、及び利点は、添付の図面を参照して、特定の非限定的実施形態に関する以下の説明において詳細に説明される。
【図面の簡単な説明】
(【0011】以降は省略されています)
この特許をJ-PlatPat(特許庁公式サイト)で参照する
関連特許
個人
砂時計
2か月前
個人
時刻同期システム
2か月前
株式会社ジークエスト
経過年数表示ラベル
7日前
セイコーウオッチ株式会社
時計
2か月前
セイコーウオッチ株式会社
時計
1日前
セイコーエプソン株式会社
電子時計
21日前
セイコーエプソン株式会社
電子時計
2か月前
個人
ワイヤレス給電を使用した針が光るアナログ式時計
1か月前
セイコーエプソン株式会社
電子時計
1か月前
ローム株式会社
時間測定回路
2か月前
オメガ・エス アー
交換可能なベゼルを備える計時器
29日前
シチズン時計株式会社
時計
6日前
セイコーエプソン株式会社
文字板及び時計
21日前
株式会社村田製作所
光学的パターン表示物品
2か月前
シチズン時計株式会社
腕時計
2か月前
日本電波株式会社
電波時計レピータ
1か月前
日本電気株式会社
時刻維持装置および時刻維持方法
1か月前
シチズン時計株式会社
電子時計
3か月前
セイコーエプソン株式会社
電子制御式機械時計
2か月前
セイコーエプソン株式会社
時計用部品及び時計
6日前
カシオ計算機株式会社
装飾板及び時計
2か月前
カシオ計算機株式会社
制御装置、制御方法、及びプログラム
2か月前
セイコータイムクリエーション株式会社
からくり時計
2か月前
セイコーエプソン株式会社
機械式時計
2か月前
カシオ計算機株式会社
機器ケース及び時計
3か月前
セイコーエプソン株式会社
時計および風防部材の製造方法
2か月前
セイコーエプソン株式会社
インデックス、文字板、及び時計
3か月前
セイコーエプソン株式会社
リアルタイムクロック装置
今日
セイコーエプソン株式会社
リアルタイムクロック装置
今日
カシオ計算機株式会社
外装部品ユニット及び時計
2か月前
カシオ計算機株式会社
電子時計及び電子時計本体
2か月前
カシオ計算機株式会社
電子時計、外装部材及びバンド
2か月前
コマデュール ソシエテ アノニム
エナメル彫刻及び模様付け方法
1か月前
セイコーエプソン株式会社
時計用部品、および、時計
3か月前
カシオ計算機株式会社
指針、時計、及び指針の製造方法
3か月前
カシオ計算機株式会社
時計、表示制御方法及びプログラム
2か月前
続きを見る
他の特許を見る